当前位置:首页->一种用于U型换热管管端的手持式砂带打磨机

 一种用于U型换热管管端的手持式砂带打磨机

 
【申请公布号:  CN113182995A;申请权利人 宁波市镇海远安石化设备有限公司;发明设计人: 裘镓锋; 毛昀; 蔡永盛;】
 
摘要:
 
本发明公开了一种用于U型换热管管端的手持式砂带打磨机,包括主机体,主机体上设置有电机和转动盘,电机驱动主带轮转动,主带轮通过同步带驱动转动盘转动,转动盘设置有工件放置孔,工件放置孔的侧边且位于转动盘的内部设置有首尾连接成圈的磨砂带,转动盘内设置有至少一组动力传递机构,动力传递机构将转动盘的转动转化为磨砂带的循环移动,从而对位于工件放置孔内的待打磨U型管的外壁进行打磨工作。本发明提供了一种用于U型换热管管端的手持式砂带打磨机,打磨效果好,质量高,打磨后换热管圆度和光洁度能够满足换热器制造的技术要求。 
 
主权项:
 
1.一种用于U型换热管管端的手持式砂带打磨机,其特征在于:包括主机体(1),所述主机体(1)上设置有电机(3)和转动盘(13),所述电机(3)驱动主带轮(31)转动,所述主带轮(31)通过同步带(32)驱动所述转动盘(13)转动,所述转动盘(13)设置有工件放置孔(10),所述工件放置孔(10)的侧边且位于所述转动盘(13)的内部设置有首尾连接成圈的磨砂带(42),所述转动盘(13)内设置有至少一组动力传递机构,所述动力传递机构将转动盘(13)的转动转化为所述磨砂带(42)的循环移动,从而对位于工件放置孔(10)内的待打磨U型管(11)的外壁进行打磨工作。 
 
要求:
 
1.一种用于U型换热管管端的手持式砂带打磨机,其特征在于:包括主机体(1),所述主机体(1)上设置有电机(3)和转动盘(13),所述电机(3)驱动主带轮(31)转动,所述主带轮(31)通过同步带(32)驱动所述转动盘(13)转动,所述转动盘(13)设置有工件放置孔(10),所述工件放置孔(10)的侧边且位于所述转动盘(13)的内部设置有首尾连接成圈的磨砂带(42),所述转动盘(13)内设置有至少一组动力传递机构,所述动力传递机构将转动盘(13)的转动转化为所述磨砂带(42)的循环移动,从而对位于工件放置孔(10)内的待打磨U型管(11)的外壁进行打磨工作。
 
2.根据权利要求1所述的手持式砂带打磨机,其特征在于:所述动力传递机构包括主齿轮(41)、辅助轮(4′)和辅助齿轮(6),所述主齿轮(41)设置有副带轮(4),所述辅助轮(4′)和所述副带轮(4)之间设置有所述磨砂带(42)且利用磨砂带(42)实现的带传动,所述辅助齿轮(6)固定设置于转动盘(13)内,所述主齿轮(41)和所述辅助齿轮(6)啮合连接;所述主齿轮(41)和所述辅助轮(4′)设置有转轴(5)且利用该转轴(5)转动设置于所述转动盘(13)上并能随着转动盘(13)的转动而同步移动。
 
3.根据权利要求2所述的手持式砂带打磨机,其特征在于:所述辅助齿轮(6)位于工件放置孔(10)外边缘处,且辅助齿轮(6)可由圆周形的齿条替代。
 
4.根据权利要求2所述的手持式砂带打磨机,其特征在于:所述辅助轮(4′)的转轴(5)设置于移动块(51)上,所述转动盘(13)上设置有滑槽(131),所述移动块(51)设置于所述滑槽(131)内;所述移动块(51)设置有弹簧孔(52),所述弹簧孔(52)内设置有张紧弹簧,所述张紧弹簧顶着所述移动块(51),使其远离主齿轮(41),以此将所述磨砂带(42)张紧。
 
5.根据权利要求2所述的手持式砂带打磨机,其特征在于:所述转动盘(13)内对称设置有两组动力传递机构,各个所述动力传递机构上配合设置有一环磨砂带(42),所述环磨砂带(42)位于工件放置孔(10)两侧。
 
6.根据权利要求1所述的手持式砂带打磨机,其特征在于:所述转动盘(13)内活动设置有张紧轮(7),所述张紧轮(7)对所述磨砂带(42)实现张紧作用;所述张紧轮(7)设置有偏心轮,所述偏心轮的轴心和所述张紧轮(7)非同轴,所述偏心轮发生转动后调节所述张紧轮(7)距离转动盘(13)轴心的距离,调节间距增大后,实现张紧作用。
 
7.根据权利要求6所述的手持式砂带打磨机,其特征在于:所述偏心轮连接有弹簧,所述弹簧驱使所述偏心轮朝向转动盘(13)轴心的移动;所述转动盘(13)时,驱使所述偏心轮作离心运动,从而克服弹簧阻力,带动所述张紧轮(7)原理转动盘(13)的轴心,以此实现张紧作用。
 
8.根据权利要求6所述的手持式砂带打磨机,其特征在于:所述偏心轮设置有若干个绕其轴心圆周排列的定位孔,所述转动盘(13)上设置有插孔,所述插孔内具有插销或者螺栓,将所述插销或者螺栓插入定位孔内,以固定所述偏心轮使其无法转动。
 
9.根据权利要求4所述的手持式砂带打磨机,其特征在于:所述主机体(1)后侧设置有引导管(12),所述引导管(12)和所述工件放置孔(10)同轴。
 
10.根据权利要求4所述的手持式砂带打磨机,其特征在于:所述主机体(1)两侧设置有手持握把(2),所述手持握把(2)设置有供手掌穿过的穿孔(21)以方便用手进行握持;所述手持握把(2)上设置有开关,该开关连接所述电机(3),并控制其工作,具有启停和调速作用。
 
一种用于U型换热管管端的手持式砂带打磨机
技术领域
 
本发明涉及一种用于U型换热管管端的手持式砂带打磨机。
 
背景技术
 
目前国内换热器制造厂家的U型换热管胀接区域、焊接区域的打磨,都是利用角向磨光机,进行人工打磨的方式进行。打磨的质量无法满足真正的技术要求。
 
目前市场上具有直管的自动打磨机,但是因为直管和U形管的结构不同,导致现有的直管打磨机,无法很好地转用与U型管上。因为直管的外形特点,使得其直接穿过打磨机就能完成打磨工作。而对U型管进行打磨,无法直接穿过,需要将其拆下,再对另一端头进行打磨,非常的费时费力。并且反复的拆装,会导致精度降低,影响打磨质量。
 
因此,在实际的生产加工中,需要一种能够解决U型管两个端口这一段的打磨设备,以提高打磨质量和效率,降低工人的劳动强度。
 
发明内容
 
本发明针对现有技术中的不足,提供了一种用于U型换热管管端的手持式砂带打磨机,打磨效果好,质量高,打磨后换热管圆度和光洁度能够满足换热器制造的技术要求。
 
为了解决上述技术问题,本发明通过下述技术方案得以解决:一种用于U型换热管管端的手持式砂带打磨机,包括主机体,所述主机体上设置有电机和转动盘,所述电机驱动主带轮转动,所述主带轮通过同步带驱动所述转动盘转动,所述转动盘设置有工件放置孔,所述工件放置孔的侧边且位于所述转动盘的内部设置有首尾连接成圈的磨砂带,所述转动盘内设置有至少一组动力传递机构,所述动力传递机构将转动盘的转动转化为所述磨砂带的循环移动,从而对位于工件放置孔内的待打磨U型管的外壁进行打磨工作。
 
上述技术方案中,优选地,所述动力传递机构包括主齿轮、辅助轮和辅助齿轮,所述主齿轮设置有副带轮,所述辅助轮和所述副带轮之间设置有所述磨砂带且利用磨砂带实现的带传动,所述辅助齿轮固定设置于转动盘内,所述主齿轮和所述辅助齿轮啮合连接;所述主齿轮和所述辅助轮设置有转轴且利用该转轴转动设置于所述转动盘上并能随着转动盘的转动而同步移动。
 
上述技术方案中,优选地,所述辅助齿轮位于工件放置孔外边缘处,且辅助齿轮可由圆周形的齿条替代。
 
上述技术方案中,优选地,所述辅助轮的转轴设置于移动块上,所述转动盘上设置有滑槽,所述移动块设置于所述滑槽内;所述移动块设置有弹簧孔,所述弹簧孔内设置有张紧弹簧,所述张紧弹簧顶着所述移动块,使其远离主齿轮,以此将所述磨砂带张紧。
 
其中,所述转动盘内对称设置有两组动力传递机构,各个所述动力传递机构上配合设置有一环磨砂带,所述环磨砂带位于工件放置孔两侧。
 
上述技术方案中,优选地,所述转动盘内活动设置有张紧轮,所述张紧轮对所述磨砂带实现张紧作用;所述张紧轮设置有偏心轮,所述偏心轮的轴心和所述张紧轮非同轴,所述偏心轮发生转动后调节所述张紧轮距离转动盘轴心的距离,调节间距增大后,实现张紧作用。
 
优选地,所述偏心轮连接有弹簧,所述弹簧驱使所述偏心轮朝向转动盘轴心的移动;所述转动盘时,驱使所述偏心轮作离心运动,从而克服弹簧阻力,带动所述张紧轮原理转动盘的轴心,以此实现张紧作用。
 
此外,所述偏心轮设置有若干个绕其轴心圆周排列的定位孔,所述转动盘上设置有插孔,所述插孔内具有插销或者螺栓,将所述插销或者螺栓插入定位孔内,以固定所述偏心轮使其无法转动。
 
作为优选,所述主机体后侧设置有引导管,所述引导管和所述工件放置孔同轴。
 
作为优选,所述主机体两侧设置有手持握把,所述手持握把设置有供手掌穿过的穿孔以方便用手进行握持;所述手持握把上设置有开关,该开关连接所述电机,并控制其工作,具有启停和调速作用。
 
本发明提供了一种用于U型换热管管端的手持式砂带打磨机,打磨效果好,质量高,打磨后换热管圆度和光洁度能够满足换热器制造的技术要求。
 
附图说明
 
为了更清楚地说明本发明实施例或现有技术中的技术方案,以下将对实施例或现有技术描述中所需要使用的附图进行论述,显然,在结合附图进行描述的技术方案仅仅是本发明的一些实施例,对于本领域普通技术人员而言,在不付出创造性劳动的前提下,还可以根据这些附图所示实施例得到其它的实施例及其附图。
 
一种用于U型换热管管端的手持式砂带打磨机
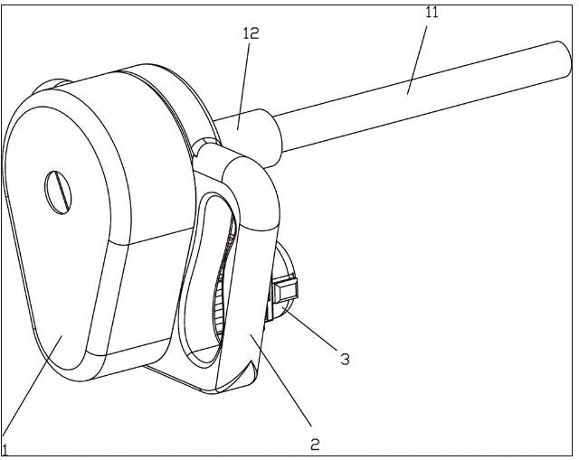
图1是本发明的外部结构示意图。
 
一种用于U型换热管管端的手持式砂带打磨机
图2是本发明主机体内部结构示意图。
 
一种用于U型换热管管端的手持式砂带打磨机
图3是本发明转动盘内部结构示意图。
 
一种用于U型换热管管端的手持式砂带打磨机
图4是本发明转动盘内部齿轮啮合关系示意图。
 
一种用于U型换热管管端的手持式砂带打磨机
图5是本发明的滑槽及其周边结构示意图。
 
一种用于U型换热管管端的手持式砂带打磨机
图6是本发明配备张紧轮后的结构示意图。
 
图中:主机体1,工件放置孔10,待打磨U型管11,引导管12,转动盘13,滑槽131,手持握把2,穿孔21,电机3,主带轮31,同步带32,副带轮4,辅助轮4′,主齿轮41,磨砂带42,转轴5,移动块51,弹簧孔52,辅助齿轮6,张紧轮7。
 
具体实施方式
 
以下将结合附图对本发明各实施例的技术方案进行清楚、完整的描述,显然,所描述的实施例仅仅是本发明的一部分实施例,而不是全部实施例。基于本发明中所述的实施例,本领域普通技术人员在不需要创造性劳动的前提下所得到的所有其它实施例,都在本发明所保护的范围内。
 
本发明的实施例提供一种用于U型换热管管端的手持式砂带打磨机,专门用于对U型换热管端部一端进行外壁的打磨作用,利用工人手持进行打磨,人工控制打磨的长度。采用本装置进行打磨,经过实际操作,打磨的效果比现有技术更好,打磨后换热管的圆度和光洁度都能符合换热器制造的技术要求。工人实用本装置进行打磨,安全并且简单好用。此外,为了更好的工作环境,可以配备吸灰装置一起进行工作。
 
如图1至图6所示,一种用于U型换热管管端的手持式砂带打磨机,包括主机体1,所述主机体1上设置有电机3和转动盘13,所述电机3驱动主带轮31转动,所述主带轮31通过同步带32驱动所述转动盘13转动,所述转动盘13设置有工件放置孔10,所述工件放置孔10的侧边且位于所述转动盘13的内部设置有首尾连接成圈的磨砂带42,所述转动盘13内设置有至少一组动力传递机构,所述动力传递机构将转动盘13的转动转化为所述磨砂带42的循环移动,从而对位于工件放置孔10内的待打磨U型管11的外壁进行打磨工作。
 
其中,所述动力传递机构包括主齿轮41、辅助轮4′和辅助齿轮6,所述主齿轮41设置有副带轮4,所述辅助轮4′和所述副带轮4之间设置有所述磨砂带42且利用磨砂带42实现的带传动,所述辅助齿轮6固定设置于转动盘13内,所述主齿轮41和所述辅助齿轮6啮合连接;所述主齿轮41和所述辅助轮4′设置有转轴5且利用该转轴5转动设置于所述转动盘13上并能随着转动盘13的转动而同步移动。
 
所述辅助齿轮6位于工件放置孔10外边缘处,且辅助齿轮6可由圆周形的齿条替代。
 
所述转动盘13内对称设置有两组动力传递机构,各个所述动力传递机构上配合设置有一环磨砂带42,所述环磨砂带42位于工件放置孔10两侧。
 
本装置利用电机3驱动转动盘13转动,在转动盘13转动时,会带动副带轮4和辅助轮4′一起绕着转动盘13的回转中心进行回转。而主齿轮41和辅助齿轮6的啮合关系,以及辅助齿轮6是被固定的,所以使得主齿轮41在此时也发生了自转。而副带轮4和辅助轮4′之间通过带传动进行了连接,所以在主齿轮41转动后,就会通过磨砂带42带动辅助轮4′一起转动。此时磨砂带42被带动起来,就能够对中间的待打磨U形管11的外壁进行打磨工作。
 
本装置的打磨工作效果优秀,因为除了磨砂带42的打磨作用,转动盘13也在转动,从而对待打磨U形管11的外壁进行360度的转动式打磨,每个角度的打磨作用都是一致的,因此,能够保证圆度达到要求。
 
为了更好的打磨效果,需要将磨砂带42张紧,使其能够完全地贴合于待打磨U型管11的外壁上,为此,本装置设置了两套张紧结构,这两套结构能够各自单独工作,或者同时进行张紧工作。
 
第一套张紧结构,是利用辅助轮4′进行张紧工作:辅助轮4′的转轴5设置于移动块51上,所述转动盘13上设置有滑槽131,所述移动块51设置于所述滑槽131内;所述移动块51设置有弹簧孔52,所述弹簧孔52内设置有张紧弹簧,所述张紧弹簧顶着所述移动块51,使其远离主齿轮41,以此将所述磨砂带42张紧。
 
第二套张紧结构,是利用张紧轮进行进行张紧工作:在转动盘13内活动设置有张紧轮7,所述张紧轮7对所述磨砂带42实现张紧作用;所述张紧轮7设置有偏心轮,所述偏心轮的轴心和所述张紧轮7非同轴,所述偏心轮发生转动后调节所述张紧轮7距离转动盘13轴心的距离,调节间距增大后,实现张紧作用。
 
第二套张紧结构中,可以利用偏心轮的转动惯量进行张紧作用:所述偏心轮连接有弹簧,所述弹簧驱使所述偏心轮朝向转动盘13轴心的移动;所述转动盘13时,驱使所述偏心轮作离心运动,从而克服弹簧阻力,带动所述张紧轮7原理转动盘13的轴心,以此实现张紧作用。
 
除此之外,第二套张紧结构,还可以利用插销对调整位置后的偏心轮进行固定:所述偏心轮设置有若干个绕其轴心圆周排列的定位孔,所述转动盘13上设置有插孔,所述插孔内具有插销或者螺栓,将所述插销或者螺栓插入定位孔内,以固定所述偏心轮使其无法转动。若采用插销的方式,则定位孔和插孔均无需设置螺纹;若采用螺栓的方式,则定位孔或者插孔设置内螺纹以配合螺栓的螺纹。
 
所述主机体1后侧设置有引导管12,所述引导管12和所述工件放置孔10同轴。
 
所述主机体1两侧设置有手持握把2,所述手持握把2设置有供手掌穿过的穿孔21以方便用手进行握持;所述手持握把2上设置有开关,该开关连接所述电机3,并控制其工作,具有启停和调速作用。
 
对于本领域技术人员而言,显然本发明不限于上述示范性实施例的细节,而且在不背离本发明的精神或基本特征的情况下,能够以其他的具体形式实现本发明。因此,无论从哪一点来看,均应将实施例看作是示范性的,而且是非限制性的。本发明的范围由所附权利要求进行限定,而不是上述说明限定,因此旨在将落在权利要求的等同要件的含义和范围内的所有变化囊括在本发明内。不应将权利要求中的任何附图标记视为限制所涉及的权利要求。
 
此外,应当理解,虽然本说明书按照实施方式加以描述,但并非每个实施方式仅包含一个独立的技术方案,说明书的这种叙述方式仅仅是为清楚起见,本领域技术人员应当将说明书作为一个整体,各实施例中的技术方案也可以经适当组合,形成本领域技术人员可以理解的其他实施方式。
 
Copyright © 宁波鄞州盖奇同步带轮有限公司 2007-2022 All Rights Reserved.
电话:4006-574-123/0574-27834692 传真:0574-27834691
地址:浙江省宁波市鄞州区姜山镇蔡郎桥村姜南路39-2 E-Mail:sales@belt-pulley.com  
浙ICP备09102982号 盖奇公司网络部提供技术支持 浙公网安备33021202003319号