当前位置:首页->一种新转盘机构

 一种转盘机构

【授权公告号:CN215896176U;申请权利人:苏州智伟信自动化科技有限公司;发明设计人: 尤富胜; 朱明园;】
 
摘要:
 
本实用新型提供了一种转盘机构,其使得转盘模组的转动稳定可靠、准确度高,且夹爪的同心度好,提高作业效率和产品品质。其包括:固定板;转盘本体;若干旋转气缸;若干组夹爪;所述固定板的上部中心通过轴承支承有所述转盘本体,所述转盘本体的中心转轴下凸并套设有输入同步带轮,所述固定板上还设置有伺服电机,所述伺服电机的输出端连接有输出同步带轮,所述输出同步带轮通过同步带连接所述输入同步带轮;所述输入同步带轮的直径大于所述输出同步带轮;所述转盘本体的中心上凸形成辅助安装座;所述转盘本体的外周环布设置有若干立式布置的夹爪导向块,每块所述夹爪导向块的面域上设置有导向孔。 
 
主权项:
 
1.一种转盘机构,其特征在于,其包括:固定板;转盘本体;若干旋转气缸;若干组夹爪;所述固定板的上部中心通过轴承支承有所述转盘本体,所述转盘本体的中心转轴下凸并套设有输入同步带轮,所述固定板上还设置有伺服电机,所述伺服电机的输出端连接有输出同步带轮,所述输出同步带轮通过同步带连接所述输入同步带轮;所述输入同步带轮的直径大于所述输出同步带轮;所述转盘本体的中心上凸形成辅助安装座;所述转盘本体的外周环布设置有若干立式布置的夹爪导向块,每块所述夹爪导向块的面域上设置有导向孔,每组夹爪包括安装本体、旋转气缸,所述辅助安装座的外环周固设有对应的旋转气缸,所述安装本体包括安装座、一对夹钳、中心固定杆、第二气缸,所述安装座的内设置有转动环板,所述旋转气缸的活塞端连接所述转动环板,所述夹钳包括第一夹钳、第二夹钳,所述转动环板的中心内设置有前凸的中心固定杆,所述中心固定杆的上、下位置分别设置有对应第一夹钳、第二夹钳,所述中心固定杆的内端上部、下部外表面固设有滑动块,所述滑动块上设置有限位导向槽,所述第一夹钳、第二夹钳的内侧末端嵌装于限位导向槽内,所述中心固定杆的末端连接有第二气缸的活塞端。 
 
要求:
 
1.一种转盘机构,其特征在于,其包括:
 
固定板;
 
转盘本体;
 
若干旋转气缸;
 
若干组夹爪;
 
所述固定板的上部中心通过轴承支承有所述转盘本体,所述转盘本体的中心转轴下凸并套设有输入同步带轮,所述固定板上还设置有伺服电机,所述伺服电机的输出端连接有输出同步带轮,所述输出同步带轮通过同步带连接所述输入同步带轮;所述输入同步带轮的直径大于所述输出同步带轮;
 
所述转盘本体的中心上凸形成辅助安装座;
 
所述转盘本体的外周环布设置有若干立式布置的夹爪导向块,每块所述夹爪导向块的面域上设置有导向孔,每组夹爪包括安装本体、旋转气缸,所述辅助安装座的外环周固设有对应的旋转气缸,所述安装本体包括安装座、一对夹钳、中心固定杆、第二气缸,所述安装座的内设置有转动环板,所述旋转气缸的活塞端连接所述转动环板,所述夹钳包括第一夹钳、第二夹钳,所述转动环板的中心内设置有前凸的中心固定杆,所述中心固定杆的上、下位置分别设置有对应第一夹钳、第二夹钳,所述中心固定杆的内端上部、下部外表面固设有滑动块,所述滑动块上设置有限位导向槽,所述第一夹钳、第二夹钳的内侧末端嵌装于限位导向槽内,所述中心固定杆的末端连接有第二气缸的活塞端。
 
2.如权利要求1所述的一种转盘机构,其特征在于:每组夹爪还包括有第一气缸,所述安装座的顶部位置设置有固定卡扣,所述固定卡扣的下部压附端用于压附转动环板,所述固定卡扣集成有压附弹簧,所述压附弹簧驱动下部压附端压附转动环板,所述固定卡扣的内端凸起,所述第一气缸的缸座固装于所述辅助安装座,所述第一气缸的活塞驱动块朝向内端凸起布置,所述第一气缸伸出驱动固定卡扣脱离转动环板。
 
3.如权利要求1所述的一种转盘机构,其特征在于:所述滑动块的限位导向槽为自内而外扩口的导向槽,使得中心固定杆前凸时,第一夹钳、第二夹钳用于对中夹持作业。
 
4.如权利要求1所述的一种转盘机构,其特征在于:相邻的夹爪导向块之间通过连接立板连接形成整体结构。
 
5.如权利要求1所述的一种转盘机构,其特征在于:所述一夹钳、第二夹钳的朝向安装板的位置设置有高度方向滑动副组件。
 
一种转盘机构
技术领域
 
本实用新型涉及磁环电感绕线的技术领域,具体为一种转盘机构。
 
背景技术
 
现有技术的自动磁环电感绕线机,其转盘模组在作业时出现晃动,无法精准定位,影响产品的绕线;且现有的夹爪结构,其夹持的同心度存在偏差,进而使得绕线存在偏差。
 
发明内容
 
针对上述问题,本实用新型提供了一种转盘机构,其使得转盘模组的转动稳定可靠、准确度高,且夹爪的同心度好,提高作业效率和产品品质。
 
一种转盘机构,其特征在于,其包括:
 
固定板;
 
转盘本体;
 
若干旋转气缸;
 
若干组夹爪;
 
所述固定板的上部中心通过轴承支承有所述转盘本体,所述转盘本体的中心转轴下凸并套设有输入同步带轮,所述固定板上还设置有伺服电机,所述伺服电机的输出端连接有输出同步带轮,所述输出同步带轮通过同步带连接所述输入同步带轮;所述输入同步带轮的直径大于所述输出同步带轮;
 
所述转盘本体的中心上凸形成辅助安装座;
 
所述转盘本体的外周环布设置有若干立式布置的夹爪导向块,每块所述夹爪导向块的面域上设置有导向孔,每组夹爪包括安装本体、旋转气缸,所述辅助安装座的外环周固设有对应的旋转气缸,所述安装本体包括安装座、一对夹钳、中心固定杆、第二气缸,所述安装座的内设置有转动环板,所述旋转气缸的活塞端连接所述转动环板,所述夹钳包括第一夹钳、第二夹钳,所述转动环板的中心内设置有前凸的中心固定杆,所述中心固定杆的上、下位置分别设置有对应第一夹钳、第二夹钳,所述中心固定杆的内端上部、下部外表面固设有滑动块,所述滑动块上设置有限位导向槽,所述第一夹钳、第二夹钳的内侧末端嵌装于限位导向槽内,所述中心固定杆的末端连接有第二气缸的活塞端。
 
其进一步特征在于:
 
每组夹爪还包括有第一气缸,所述安装座的顶部位置设置有固定卡扣,所述固定卡扣的下部压附端用于压附转动环板,所述固定卡扣集成有压附弹簧,所述压附弹簧驱动下部压附端压附转动环板,所述固定卡扣的内端凸起,所述第一气缸的缸座固装于所述辅助安装座,所述第一气缸的活塞驱动块朝向内端凸起布置,所述第一气缸伸出驱动固定卡扣脱离转动环板;
 
所述滑动块的限位导向槽为自内而外扩口的导向槽,使得中心固定杆前凸时,第一夹钳、第二夹钳用于对中夹持作业;
 
相邻的夹爪导向块之间通过连接立板连接形成整体结构;
 
所述一夹钳、第二夹钳的朝向安装板的位置设置有高度方向滑动副组件,确保第一夹钳、第二夹钳的稳定可靠夹持作业。
 
采用上述技术方案后,伺服电机驱动输出同步带轮转动进而将转动通过同步带传动到输入同步带轮,输入同步带轮带动转盘本体转动,其转动稳定可靠;且由于安装本体通过夹爪导向块的导向孔进行导向作业,安装本体的自动对中通过一对夹钳和中心固定杆组合形成、型对中度好,其使得转盘模组的转动稳定可靠、准确度高,且夹爪的同心度好,提高作业效率和产品品质。
 
附图说明
 
转盘机构
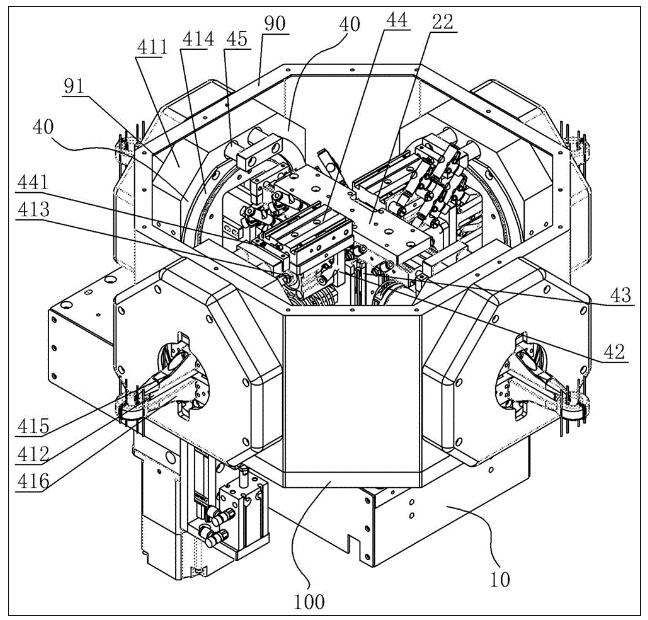
图1为本实用新型的立体图结构示意图;
 
转盘机构
图2为图1的仰视图结构示意图;
 
转盘机构
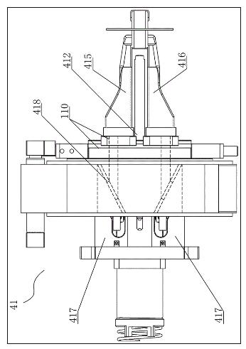
图3为本实用新型的夹爪的安装本体的立体图;
 
转盘机构
图4为图3的侧视图结构示意图;
 
图中序号所对应的名称如下:
 
固定板10、转盘本体20、中心转轴21、辅助安装座22、同步带30、夹爪40、安装本体41、安装座411、中心固定杆412、第二气缸413、转动环板414、第一夹钳415、第二夹钳416、滑动块417、限位导向槽418、第一连接架42、旋转气缸43、第一气缸44、活塞驱动块441、固定卡扣45、输入同步带轮50、伺服电机60、减速器70、输出同步带轮80、夹爪导向块90、导向孔91、连接立板100、滑动副组件110。
 
具体实施方式
 
一种转盘机构,见图1-图4,其包括固定板10、转盘本体20、若干旋转气缸43、若干组夹爪40;
 
固定板10的上部中心通过轴承支承有转盘本体20,转盘本体20的中心转轴21下凸并套设有输入同步带轮50,固定板10上还设置有伺服电机60,伺服电机60的输出端连接减速器70后连接输出同步带轮80,输出同步带轮80通过同步带30连接输入同步带轮50;输入同步带轮50的直径大于输出同步带轮80,确保传动稳定可靠;
 
转盘本体20的中心上凸形成辅助安装座22;
 
转盘本体20的外周环布设置有若干立式布置的夹爪导向块90,每块夹爪导向块90的面域上设置有导向孔91,每组夹爪40包括安装本体41、旋转气缸43,辅助安装座22的外环周固设有对应的旋转气缸43,安装本体41包括安装座411、一对夹钳、中心固定杆412、第二气缸413,安装座411的内设置有转动环板414,旋转气缸43的活塞端连接转动环板414,夹钳包括第一夹钳415、第二夹钳416,转动环板414的中心内设置有前凸的中心固定杆412,中心固定杆412的上、下位置分别设置有对应第一夹钳415、第二夹钳416,中心固定杆412的内端上部、下部外表面固设有滑动块417,滑动块417上设置有限位导向槽418,第一夹钳415、第二夹钳416的内侧末端嵌装于限位导向槽418内,中心固定杆412的末端连接有第二气缸413的活塞端。
 
每组夹爪40还包括有第一气缸44,安装座411的顶部位置设置有固定卡扣45,固定卡扣45的下部压附端用于压附转动环板414,固定卡扣45集成有压附弹簧,压附弹簧驱动下部压附端压附转动环板414,固定卡扣45的内端凸起,第一气缸44的缸座固装于辅助安装座22,第一气缸44的活塞驱动块441朝向内端凸起布置,第一气缸44伸出驱动固定卡扣45脱离转动环板414;
 
滑动块417的限位导向槽418为自内而外扩口的导向槽,使得中心固定杆412前凸时,第一夹钳、第二夹钳用于对中夹持作业;
 
相邻的夹爪导向块90之间通过连接立板100连接形成整体结构;
 
一夹钳415、第二夹钳416的朝向安装板的位置设置有高度方向滑动副组件110,确保第一夹钳415、第二夹钳416的稳定可靠夹持作业。
 
具体实施时:转盘本体50的外周环布设置有四块立式布置的夹爪导向块90,四个夹爪组件40分别置置于每个夹爪导向块90的对应导向孔91内,第一气缸44、第二气缸413、旋转气缸43的数量均为四,同步带驱动转盘本体10每次转动90度作业。
 
旋转气缸43的缸座通过第一连接架42连接第一气缸44的缸座,第一连接架42上同时用于固装第二气缸413,使得连接方便可靠。
 
其工作原理如下,当磁环完成单边绕线时,第一气缸往前延伸,打开旋转机构的固定卡扣,旋转气缸带动旋转机构旋转180°,进行产品的二次绕线,转盘模组由伺服电机带动同步轮旋转90°,完成工位的转换将完成绕线的产品松开,夹取待绕线的产品,其使得转盘模组的转动稳定可靠、准确度高,且夹爪的同心度好,提高作业效率和产品品质。
 
对于本领域技术人员而言,显然本实用新型不限于上述示范性实施例的细节,而且在不背离本实用新型的精神或基本特征的情况下,能够以其他的具体形式实现本实用新型。因此,无论从哪一点来看,均应将实施例看作是示范性的,而且是非限制性的,本实用新型的范围由所附权利要求而不是上述说明限定,因此旨在将落在权利要求的等同要件的含义和范围内的所有变化囊括在本实用新型内。不应将权利要求中的任何附图标记视为限制所涉及的权利要求。
 
此外,应当理解,虽然本说明书按照实施方式加以描述,但并非每个实施方式仅包含一个独立的技术方案,说明书的这种叙述方式仅仅是为清楚起见,本领域技术人员应当将说明书作为一个整体,各实施例中的技术方案也可以经适当组合,形成本领域技术人员可以理解的其他实施方式。
 
Copyright © 宁波鄞州盖奇同步带轮有限公司 2007-2022 All Rights Reserved.
电话:4006-574-123/0574-27834692 传真:0574-27834691
地址:浙江省宁波市鄞州区姜山镇蔡郎桥村姜南路39-2 E-Mail:sales@belt-pulley.com  
浙ICP备09102982号 盖奇公司网络部提供技术支持 浙公网安备33021202003319号