当前位置:首页->一种具有低散射结构的I-125旋转支架

 一种具有低散射结构的I-125旋转支架

 
【申请(专利)号: CN202211139476.4;申请权利人:中国计量科学研究院; 发明设计人: 刘川凤; 李德红; 张健; 王红玉; 成建波; 黄建微; 郝光辉;】
 
摘要:
 
本发明涉及医疗设备技术领域,具体地说是一种具有低散射结构的I?125旋转支架,包括粒子源、步进电机、主动齿轮、从动齿轮、长轴底部固定盒带轮、同步带轮一、同步带轮二、同步带轮三、同步带轮四、同步带一、同步带二、接源端空心轴固定盒、源仓盒、空心短轴、底部线间收紧组件、尼龙绳收紧螺钉、尼龙绳、塑料套管、顶部线间收紧组件、放源端空心轴固定盒、放源端空心短轴、长轴顶部固定盒和长轴,本发明具有散射小、定位精度高、频率可调等特点。在测量I?125空气比释动能强度,该设计一方面对粒子源起到固定支撑的作用,另一方面具有旋转作用,可消除粒子源的各向异性,减小粒子源各向异性对空气比释动能强度带来的影响。 
 
主权项:
 
1.一种具有低散射结构的I?125旋转支架,其特征在于,包括粒子源(0)、步进电机(1)、主动齿轮(2)、从动齿轮(3)、长轴底部固定盒带轮(4)、同步带轮一(5)、同步带轮二(6)、同步带轮三(7)、同步带轮四(8)、同步带一(9)、同步带二(10)、接源端空心轴固定盒(11)、源仓盒(12)、空心短轴(13)、底部线间收紧组件(14)、尼龙绳收紧螺钉(15)、尼龙绳(16)、塑料套管(17)、顶部线间收紧组件(18)、放源端空心轴固定盒(19)、放源端空心短轴(20)、长轴顶部固定盒(21)和长轴(22),所述尼龙绳(16)上下两端固定在所述放源端空心短轴(20)和所述底部线间收紧组件(14)上,将所述粒子源(0)放入所述放源端空心短轴(20),通过所述尼龙绳收紧螺钉(15)微调收紧,所述粒子源(0)得以固定,所述步进电机(1)驱动所述主动齿轮(2)和所述从动齿轮(3)传递给所述长轴(22),所述长轴(22)做旋转运动;所述长轴(22)上端固定所述同步带轮(5),下端固定所述同步带轮二(6);所述放源端空心短轴(20)上固定所述同步带轮三(7),所述空心短轴(13)上固定所述同步带轮四(8);所述同步带轮一(5)转动经所述同步带一(9)带动所述同步带轮三(7)转动;所述同步带轮二(6)转动经所述同步带二(10)带动所述同步带轮四(8)运动,使所述空心短轴(13)转动;进而使得所述底部线间收紧组件(14)、所述尼龙绳(16)、所述塑料套管(17)、所述粒子源(0)和所述顶部线间收紧组件(18)做同步旋转运动,所述步进电机(1)起主导作用,所述步进电机(1)依靠脉冲电流驱动,一个脉冲转动一个固定的角度,每步1.8°,每转200步,所述主动齿轮(2)由所述步进电机(1)控制,所述从动齿轮(3)与所述主动齿轮(2)相啮合用于传递运动及动力,所述从动齿轮(3)固定在所述长轴(22)同步转动,所述长轴底部固定盒(4)内含一组轴承,保证所述长轴(22)平稳转动;所述同步带轮(5)固定于所述长轴(22),所述同步带轮二(6)固定于所述长轴(22),所述同步带轮三(7)固定于所述放源端空心短轴(20),通过所述同步带一(9)与所述同步带轮一(5)相连,所述同步带轮一(5)转动时带动所述同步带轮三(7)转动,所述同步带轮四(8)固定于所述空心短轴(13),通过所述同步带二(10)与所述同步带轮二(6)相连,所述同步带轮二(6)转动时带动所述同步带轮四(8)转动,所述同步带轮四(8)转动带动所述空心短轴(13)转动,所述空心短轴(13)转动时带动所述底部线间收紧组件(14)转动,所述顶部线间收紧组件(18)为聚甲醛(POM)材料,密度为1.42g/cm3,所述顶部线间收紧组件(18)固定于所述放源端空心短轴(20);所述放源端空心轴固定盒(19)内含一组轴承,使所述放源端空心短轴(20)转动平稳;所述放源端空心短轴(20)安装所述同步带轮三(7),所述放源端空心短轴(20)由6061铝合金制成,密度为2.7g/cm3;所述长轴顶部固定盒(21)内含深沟球轴承,使所述长轴(22)转动平稳;所述长轴(22)材料为6061合金,所述主动齿轮(2)带动所述从动齿轮(3)的转动,引起所述长轴(22)的旋转,所述长轴(22)的旋转分别带动所述同步带轮一(5)和所述同步带轮二(6)旋转,通过所述同步带一(9)和同步带二(10),带动所述同步带轮三(7)和所述同步带轮四(8)转动,进而带动所述尼龙绳(16)的旋转。 
 
要求:
 
1.一种具有低散射结构的I-125旋转支架,其特征在于,包括粒子源(0)、步进电机(1)、主动齿轮(2)、从动齿轮(3)、长轴底部固定盒带轮(4)、同步带轮一(5)、同步带轮二(6)、同步带轮三(7)、同步带轮四(8)、同步带一(9)、同步带二(10)、接源端空心轴固定盒(11)、源仓盒(12)、空心短轴(13)、底部线间收紧组件(14)、尼龙绳收紧螺钉(15)、尼龙绳(16)、塑料套管(17)、顶部线间收紧组件(18)、放源端空心轴固定盒(19)、放源端空心短轴(20)、长轴顶部固定盒(21)和长轴(22),所述尼龙绳(16)上下两端固定在所述放源端空心短轴(20)和所述底部线间收紧组件(14)上,将所述粒子源(0)放入所述放源端空心短轴(20),通过所述尼龙绳收紧螺钉(15)微调收紧,所述粒子源(0)得以固定,所述步进电机(1)驱动所述主动齿轮(2)和所述从动齿轮(3)传递给所述长轴(22),所述长轴(22)做旋转运动;所述长轴(22)上端固定所述同步带轮(5),下端固定所述同步带轮二(6);所述放源端空心短轴(20)上固定所述同步带轮三(7),所述空心短轴(13)上固定所述同步带轮四(8);所述同步带轮一(5)转动经所述同步带一(9)带动所述同步带轮三(7)转动;所述同步带轮二(6)转动经所述同步带二(10)带动所述同步带轮四(8)运动,使所述空心短轴(13)转动;进而使得所述底部线间收紧组件(14)、所述尼龙绳(16)、所述塑料套管(17)、所述粒子源(0)和所述顶部线间收紧组件(18)做同步旋转运动,所述步进电机(1)起主导作用,所述步进电机(1)依靠脉冲电流驱动,一个脉冲转动一个固定的角度,每步1.8°,每转200步,所述主动齿轮(2)由所述步进电机(1)控制,所述从动齿轮(3)与所述主动齿轮(2)相啮合用于传递运动及动力,所述从动齿轮(3)固定在所述长轴(22)同步转动,所述长轴底部固定盒(4)内含一组轴承,保证所述长轴(22)平稳转动;所述同步带轮(5)固定于所述长轴(22),所述同步带轮二(6)固定于所述长轴(22),所述同步带轮三(7)固定于所述放源端空心短轴(20),通过所述同步带一(9)与所述同步带轮一(5)相连,所述同步带轮一(5)转动时带动所述同步带轮三(7)转动,所述同步带轮四(8)固定于所述空心短轴(13),通过所述同步带二(10)与所述同步带轮二(6)相连,所述同步带轮二(6)转动时带动所述同步带轮四(8)转动,所述同步带轮四(8)转动带动所述空心短轴(13)转动,所述空心短轴(13)转动时带动所述底部线间收紧组件(14)转动,所述顶部线间收紧组件(18)为聚甲醛(POM)材料,密度为1.42g/cm3,所述顶部线间收紧组件(18)固定于所述放源端空心短轴(20);所述放源端空心轴固定盒(19)内含一组轴承,使所述放源端空心短轴(20)转动平稳;所述放源端空心短轴(20)安装所述同步带轮三(7),所述放源端空心短轴(20)由6061铝合金制成,密度为2.7g/cm3;所述长轴顶部固定盒(21)内含深沟球轴承,使所述长轴(22)转动平稳;所述长轴(22)材料为6061合金,所述主动齿轮(2)带动所述从动齿轮(3)的转动,引起所述长轴(22)的旋转,所述长轴(22)的旋转分别带动所述同步带轮一(5)和所述同步带轮二(6)旋转,通过所述同步带一(9)和同步带二(10),带动所述同步带轮三(7)和所述同步带轮四(8)转动,进而带动所述尼龙绳(16)的旋转。
 
2.如权利要求1所述的具有低散射结构的I-125旋转支架,其特征在于,所述同步带一(9)为聚氨酯同步带,芯线采用芳族聚酸胺纤维,具有高抗张力性,且耐弯曲疲劳性优良。
 
3.如权利要求1所述的具有低散射结构的I-125旋转支架,其特征在于,所述同步带二(10)为聚氨酯同步带,芯线采用芳族聚酸胺纤维,具有高抗张力性,且耐弯曲疲劳性优良。
 
4.如权利要求1所述的具有低散射结构的I-125旋转支架,其特征在于,所述接源端空心轴固定盒(11)内部含轴承,使所述空心短轴(13)转动平稳。
 
5.如权利要求1所述的具有低散射结构的I-125旋转支架,其特征在于,所述源仓盒(12)由POM材料构成,密度为1.42g/cm3,用于收取所述粒子源(0),位于所述空心短轴(13)的正下方。
 
6.如权利要求1所述的具有低散射结构的I-125旋转支架,其特征在于,所述空心短轴(13)上安装所述同步带轮四(8),其材质由6061铝合金制成,密度为2.7g/cm3。
 
7.如权利要求1所述的具有低散射结构的I-125旋转支架,其特征在于,所述底部线间收紧组件(14)为聚甲醛(POM)材料,密度为1.42g/cm3,固定在所述空心短轴(13)上。
 
8.如权利要求1所述的具有低散射结构的I-125旋转支架,其特征在于,所述尼龙绳收紧螺钉(15)为空心螺钉,固定在所述底部线间收紧组件(14),螺帽部分固定所述尼龙绳(16),通过调整所述尼龙绳收紧螺钉(15)可调节所述尼龙绳(16)的张力。
 
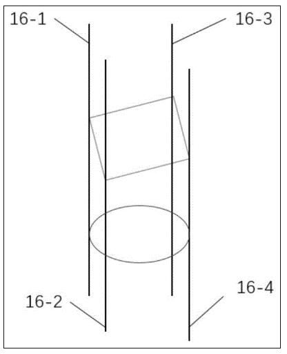
9.如权利要求1所述的具有低散射结构的I-125旋转支架,其特征在于,所述尼龙绳(16)是由四根尼龙绳(16-1~16-4)组成,四根尼龙绳截面组成正方形,每根尼龙绳位于正方形顶点处,同时四根绳截面构成的内切圆恰好与粒子源外径相等,所述尼龙绳(16)上端由通过顶部线间收紧组件(18)固定,所述尼龙绳(16)尾端由所述尼龙绳收紧螺钉(15)固定。
 
10.如权利要求1所述的具有低散射结构的I-125旋转支架,其特征在于,所述塑料套管(17)套在所述尼龙绳(16)外侧,可沿着尼龙绳上下移动,所述塑料套管为低密度1.43g/cm3的聚酰亚胺材料,内径1mm,主要起到微调所述粒子源(0)的位置。
 
一种具有低散射结构的I-125旋转支架
技术领域
 
本发明涉及医疗设备技术领域,具体地说是一种具有低散射结构的I-125旋转支架。
 
背景技术
 
近距离放射治疗是治疗癌症的一种常用手段,近距离放射治疗是将密封的放射性核素插值于肿瘤体内或至于肿瘤附近,对肿瘤进行照射,是现代放射治疗的重要组成部分。常用的放射源有I-125,为常用的放射性核素之一,其剂量率低,平均能量为28keV,主要应用于前列腺癌、口腔癌和颈部癌症等的治疗。常用的I-125放射源(俗称粒子源)结构主体成圆柱形结构,典型的6711型粒子源长为4.5mm,直径为0.8mm,外包壳由Ti金属构成,厚度为0.05mm,两端为半球形结构,内部由长3.0mm,直径为0.5mm的银棒构成,表面附着1μm厚的Br5I2,由于Ti包壳的自吸收和过滤效应,包壳几何形状和银棒结构影响粒子源发射的光子能谱,造成沿轴方向的剂量各向异性。
 
国际上ICRU38号、ICRU60号和AAPM TG43号报告推荐使用物理量空气比释动能强度Sk代替源表观活度Aapp进行源强度的表征。因此,在医院使用粒子源进行放射治疗时,需要对粒子源的空气比释动能强度进行测量,进行质量保证过程。因此需要研发设计新的电离室对其进行测量,电离室在测量空气比释动能强度时,将粒子源放置在电离室外侧,距离电离室高压极30cm,在测量过程中,需要将放射源进行固定,同时为了消除放射源的各向异性,在测量过程中,将放射源保持一定频率的旋转。若采用传统的设计思路,将旋转支架设计成带有底座结构,在底座上放置一个铝材质的圆筒,将粒子源放置在圆筒内,以对粒子源起到一个固定作用。由于底座对射线的散射作用,对测量结果产生影响。目前,国内尚未针对I-125空气比释动能测量研发专用的旋转支架。
 
因此,为了解决上述问题,本申请提出了一种具有低散射结构的I-125旋转支架,该支架具有散射小、定位精度高、频率可调等特点。在测量I-125空气比释动能强度,一方面对粒子源起到固定支撑的作用,另一方面具有旋转作用,可消除粒子源的各向异性,减小粒子源各向异性对空气比释动能强度带来的影响。
 
发明内容
 
本发明的目的是填补现有技术的空白,提供了一种具有低散射结构的I-125旋转支架,具有散射小、定位精度高、频率可调等特点。在测量I-125空气比释动能强度,一方面对粒子源起到固定支撑的作用,另一方面具有旋转作用,可消除粒子源的各向异性,减小粒子源各向异性对空气比释动能强度带来的影响。
 
为了达到上述目的,本发明提供一种具有低散射结构的I-125旋转支架,包括粒子源、步进电机、主动齿轮、从动齿轮、长轴底部固定盒带轮、同步带轮一、同步带轮二、同步带轮三、同步带轮四、同步带一、同步带二、接源端空心轴固定盒、源仓盒、空心短轴、底部线间收紧组件、尼龙绳收紧螺钉、尼龙绳、塑料套管、顶部线间收紧组件、放源端空心轴固定盒、放源端空心短轴、长轴顶部固定盒和长轴,尼龙绳上下两端固定在放源端空心短轴和底部线间收紧组件上,将粒子源放入放源端空心短轴,通过尼龙绳收紧螺钉微调收紧,粒子源得以固定,步进电机驱动主动齿轮和从动齿轮传递给长轴,长轴做旋转运动;长轴上端固定同步带轮,下端固定同步带轮二;放源端空心短轴上固定同步带轮三,空心短轴上固定同步带轮四;同步带轮一转动经同步带一带动同步带轮三转动;同步带轮二转动经同步带二带动同步带轮四运动,使空心短轴转动;进而使得底部线间收紧组件、尼龙绳、塑料套管、粒子源和顶部线间收紧组件做同步旋转运动,步进电机起主导作用,步进电机依靠脉冲电流驱动,一个脉冲转动一个固定的角度,每步1.8°,每转200步,主动齿轮由步进电机控制,从动齿轮与主动齿轮相啮合用于传递运动及动力,从动齿轮固定在长轴同步转动,长轴底部固定盒内含一组轴承,保证长轴平稳转动;同步带轮固定于长轴,同步带轮二固定于长轴,同步带轮三固定于放源端空心短轴,通过同步带一与同步带轮一相连,同步带轮一转动时带动同步带轮三转动,同步带轮四固定于空心短轴,通过同步带二与同步带轮二相连,同步带轮二转动时带动同步带轮四转动,同步带轮四转动带动空心短轴转动,空心短轴转动时带动底部线间收紧组件转动,顶部线间收紧组件为聚甲醛(POM)材料,密度为1.42g/cm3,顶部线间收紧组件固定于放源端空心短轴;放源端空心轴固定盒内含一组轴承,使放源端空心短轴转动平稳;放源端空心短轴安装同步带轮三,放源端空心短轴由6061铝合金制成,密度为2.7g/cm3;长轴顶部固定盒内含深沟球轴承,使长轴转动平稳;长轴材料为6061合金,主动齿轮带动从动齿轮的转动,引起长轴的旋转,长轴的旋转分别带动同步带轮一和同步带轮二旋转,通过同步带一和同步带二,带动同步带轮三和同步带轮四转动,进而带动尼龙绳的旋转。
 
同步带一为聚氨酯同步带,芯线采用芳族聚酸胺纤维,具有高抗张力性,且耐弯曲疲劳性优良。
 
同步带二为聚氨酯同步带,芯线采用芳族聚酸胺纤维,具有高抗张力性,且耐弯曲疲劳性优良。
 
接源端空心轴固定盒内部含轴承,使空心短轴转动平稳。
 
源仓盒由POM材料构成,密度为1.42g/cm3,用于收取粒子源,位于空心短轴的正下方。
 
空心短轴上安装同步带轮四,其材质由6061铝合金制成,密度为2.7g/cm3。
 
底部线间收紧组件为聚甲醛(POM)材料,密度为1.42g/cm3,固定在空心短轴上。
 
尼龙绳收紧螺钉为空心螺钉,固定在底部线间收紧组件,螺帽部分固定尼龙绳,通过调整尼龙绳收紧螺钉可调节尼龙绳的张力。
 
尼龙绳是由四根尼龙绳组成,四根尼龙绳截面组成正方形,每根尼龙绳位于正方形顶点处,同时四根绳截面构成的内切圆恰好与粒子源外径相等,尼龙绳上端由通过顶部线间收紧组件固定,尼龙绳尾端由尼龙绳收紧螺钉固定。
 
塑料套管套在尼龙绳外侧,可沿着尼龙绳上下移动,塑料套管为低密度1.43g/cm3的聚酰亚胺材料,内径1mm,主要起到微调粒子源的位置。
 
本发明同现有技术相比,该支架具有散射小、定位精度高、频率可调等特点。在测量I-125空气比释动能强度,该设计一方面对粒子源起到固定支撑的作用,另一方面具有旋转作用,可消除粒子源的各向异性,减小粒子源各向异性对空气比释动能强度带来的影响。
 
本发明具备如下有益效果:
 
1)具有较低散射
 
本发明采用三种方式减少散射:
 
a)利用四根尼龙绳采用点面接触形式对其进行固定,减少了接触面积;尼龙绳为低密度材质,密度为1.15g/cm3,有效减少了对光子的吸收和散射。
 
b)底部线间收紧组件和顶部线间收紧组件采用密度为1.42g/cm3的聚甲醛(POM)材料,同时线间收紧组件距离放射源100mm,增大放射源与组件的距离,可减少对光子的散射。
 
c)其余组件采用低密度的金属铝材质制成,在具有一定稳定性的基础上,减少了对光子的散射。
 
2)稳定性好
 
本发明设计的旋转结构采用同轴转动形式,利用长轴带动空心短轴和放源端空心短轴同时转动,若尼龙绳上端和尾端分别采用两个步进电机控制,可能会出现不同步的问题,该发明避免了不同步不同频率的问题,提高了粒子源旋转的稳定性。
 
同步带采用聚氨酯同步带,作为轻动力传动产品精度很高,背面与齿面使用聚氨酯,具有优良的高剪切力、耐磨性、耐油性及耐候性;芯线采用芳族聚酸胺纤维,具有高抗张力性,且耐弯曲疲劳性优良;为产品的稳定运行做保障。
 
3)精度高
 
本发明中采用两种方式结合控制粒子源的位置,首先通过调整尼龙绳的张力,对粒子源起到束缚作用,粒子源可在尼龙绳之间上下调整;其次,通过控制塑料套管的位置,对粒子源的位置进行微调,将粒子源调整至指定位置。
 
4)频率可调
 
步进电机具有频率可调功能,通过同步带轮和同步带轮带动尼龙绳旋转,通过改变步进电机的频率,调整尼龙绳的旋转速度,以改变粒子源的旋转频率。
 
本发明针对I-125粒子源空气比释动能强度测量时,本发明的关键点在于使用尼龙绳对粒子源进行固定,其次在于使用一个步进电机同时控制尼龙绳上端和尾端进行旋转。使用尼龙绳对粒子源进行固定,并调整其位置;使用一个步进电机同时控制尼龙绳上端和尾端,保持相同的频率进行旋转。
 
附图说明
 
一种具有低散射结构的I-125旋转支架
图1为本发明模型的结构示意图。
 
一种具有低散射结构的I-125旋转支架
图2为本发明粒子源旋转支架示意图一。
 
一种具有低散射结构的I-125旋转支架
图3为本发明粒子源旋转支架示意图二。
 
附图标记说明
 
0为粒子源、1为步进电机、2为主动齿轮、3为从动齿轮、4为长轴底部固定盒带轮、5为同步带轮一、6为同步带轮二、7为同步带轮三、8为同步带轮四、9为同步带一、10为同步带二、11为接源端空心轴固定盒、12为源仓盒、13为空心短轴、14为底部线间收紧组件、15为尼龙绳收紧螺钉、16为尼龙绳、17为塑料套管、18为顶部线间收紧组件、19为放源端空心轴固定盒、20为放源端空心短轴、21为长轴顶部固定盒,22为长轴。
 
具体实施方式
 
现结合附图对本发明做进一步描述。
 
请参阅图1~2,一种具有低散射结构的I-125旋转支架,第一步:将粒子源0放置于放源端空心短轴20顶端,粒子源0沿着放源端空心短轴20经顶部线间收紧组件18进入尼龙绳16构成的滑道之间,尼龙绳16底端分别缠绕在尼龙绳收紧螺钉15,通过调整螺钉的松紧调整尼龙绳16的张力,以至粒子源能顺畅滑落,当粒子源0滑落至指定位置时,固定尼龙绳收紧螺钉15的位置。
 
第二步:塑料套管17的直径比尼龙绳16截面构成外接圆直径小,位于塑料套管17上部分的尼龙绳16张力增大,通过调整塑料套管17的位置,改变粒子源0的位置,将粒子源调整至指定的测量位置。
 
第三步:当粒子源0位于指定的测量位置时,打开步进电机1带动主动齿轮2和从动齿轮3,带动同步带轮5和同步带轮6的转动,经同步带9和同步带10同时带动同步带轮7和同步带轮8转动,进而使放源端空心轴20和空心短轴13转动,最终带动尼龙绳16旋转,同步带9和同步带10具有相同频率,可保持尼龙绳16的上端和底端具有相同频率同时旋转,带动粒子源0以固定频率进行旋转。
 
第四步:当测量结束后,关闭步进电机1。调整尼龙绳收紧螺钉15改变尼龙绳16的松紧程度,塑料套管17和粒子源0经线底部线间收紧组件14和空心短轴13落入源仓盒12内,将源仓盒12打开,去除粒子源0进行回收。
 
以上仅是本发明的优选实施方式,只是用于帮助理解本申请的方法及其核心思想,本发明的保护范围并不仅局限于上述实施例,凡属于本发明思路下的技术方案均属于本发明的保护范围。应当指出,对于本技术领域的普通技术人员来说,在不脱离本发明原理前提下的若干改进和润饰,这些改进和润饰也应视为本发明的保护范围。
 
本发明从整体上解决了现有技术中在测量过程中,需要将放射源进行固定,同时为了消除放射源的各向异性,在测量过程中,将放射源保持一定频率的旋转,但传统的设计思路底座对射线的散射作用,对测量结果产生影响的问题,通过独特的结构设计,实现了具有散射小、定位精度高、频率可调等特点。在测量I-125空气比释动能强度,该设计一方面对粒子源起到固定支撑的作用,另一方面具有旋转作用,可消除粒子源的各向异性,减小粒子源各向异性对空气比释动能强度带来的影响。
 
Copyright © 宁波鄞州盖奇同步带轮有限公司 2007-2022 All Rights Reserved.
电话:4006-574-123/0574-27834692 传真:0574-27834691
地址:浙江省宁波市鄞州区姜山镇蔡郎桥村姜南路39-2 E-Mail:sales@belt-pulley.com  
浙ICP备09102982号 盖奇公司网络部提供技术支持 浙公网安备33021202003319号