当前位置:首页->一种便于更换同步带的同步传动机构

 一种便于更换同步带的同步传动机构

申请(专利)号: CN202222416682.7
申请权利人: 丽水市思博特精密制造有限公司;
发明设计人: 黄轶; 叶波; 杭炳宏;
地址: 323000 浙江省丽水市莲都区南明山街道水阁工业区龙庆路358号
 
摘要:
本实用新型公开了一种便于更换同步带的同步传动机构,涉及传动机构技术领域,包括底座,主动轮,从动轮,同步带,电机,调节机构。本实用新型通过设置调节机构,进行更换时,推动滑块带动固定块位移出固定槽,卡块位移进入卡槽,对从动轮进行固定,推动活动块位移带动从动轮进行位移,使得同步带松动,从而方便对同步带进行拆下,对新的同步带进行安装时,将同步带与主动轮相啮合,推动活动块位移进行复位,固定块进入固定槽,对活动块进行固定,卡块位移出卡槽,使得从动轮可进行转动,从动轮位移对同步带进行张紧,同时从动轮直接与同步带相啮合,便于在对同步带进行安装时,无需对从动轮进行调整与同步带相啮合,提高了更换效率。
 
主权项:
1.一种便于更换同步带的同步传动机构,包括底座(1)、主动轮(2)、从动轮(3)、同步带(4)和电机(5),其特征在于,所述底座(1)和所述从动轮(3)之间设置有用于对所述从动轮(3)进行位置调节和固定的调节机构(6);所述调节机构(6)包括活动槽(601)、活动块(602)、固定槽(603)、固定块(604)、固定弹簧(605)、连接轴(606)、转动块(607)、卡槽(608)、位移板(609)、卡块(610)和滑块(611);所述活动槽(601)开设于所述底座(1)的外壁靠近所述从动轮(3)位置处,所述活动块(602)滑动连接于所述活动槽(601)的内壁;所述固定槽(603)开设于所述活动槽(601)的顶端,所述固定块(604)滑动连接于所述活动块(602)的内部并延伸至所述活动块(602)的顶端,所述固定弹簧(605)连接于所述固定块(604)的底端与所述活动块(602)之间;所述连接轴(606)固定连接于所述从动轮(3)的外壁并延伸至所述活动块(602)的内部,所述转动块(607)固定连接于所述连接轴(606)位于所述活动块(602)内部的一端,所述卡槽(608)开设于所述转动块(607)的外壁;所述位移板(609)固定连接于所述固定块(604)的外壁,所述卡块(610)固定连接于所述位移板(609)的底端,所述滑块(611)滑动连接于所述活动块(602)的内部并位于所述固定块(604)的一侧,所述滑块(611)延伸至所述活动块(602)的外壁。
1.一种便于更换同步带的同步传动机构,包括底座(1)、主动轮(2)、从动轮(3)、同步带(4)和电机(5),其特征在于,所述底座(1)和所述从动轮(3)之间设置有用于对所述从动轮(3)进行位置调节和固定的调节机构(6);
 
所述调节机构(6)包括活动槽(601)、活动块(602)、固定槽(603)、固定块(604)、固定弹簧(605)、连接轴(606)、转动块(607)、卡槽(608)、位移板(609)、卡块(610)和滑块(611);
 
所述活动槽(601)开设于所述底座(1)的外壁靠近所述从动轮(3)位置处,所述活动块(602)滑动连接于所述活动槽(601)的内壁;
 
所述固定槽(603)开设于所述活动槽(601)的顶端,所述固定块(604)滑动连接于所述活动块(602)的内部并延伸至所述活动块(602)的顶端,所述固定弹簧(605)连接于所述固定块(604)的底端与所述活动块(602)之间;
 
所述连接轴(606)固定连接于所述从动轮(3)的外壁并延伸至所述活动块(602)的内部,所述转动块(607)固定连接于所述连接轴(606)位于所述活动块(602)内部的一端,所述卡槽(608)开设于所述转动块(607)的外壁;
 
所述位移板(609)固定连接于所述固定块(604)的外壁,所述卡块(610)固定连接于所述位移板(609)的底端,所述滑块(611)滑动连接于所述活动块(602)的内部并位于所述固定块(604)的一侧,所述滑块(611)延伸至所述活动块(602)的外壁。
 
2.根据权利要求1所述的一种便于更换同步带的同步传动机构,其特征在于,所述活动槽(601)的内壁与所述活动块(602)的外壁相贴合,所述固定槽(603)的内壁与所述固定块(604)的外壁相贴合。
 
3.根据权利要求1所述的一种便于更换同步带的同步传动机构,其特征在于,所述活动槽(601)的底端开设有第一限位槽,所述活动块(602)的底端固定连接有第一限位块,所述第一限位块的外壁与所述第一限位槽的内壁相贴合。
 
4.根据权利要求1所述的一种便于更换同步带的同步传动机构,其特征在于,所述活动块(602)的内部开设有供所述连接轴(606)和所述转动块(607)进行转动的转动槽,所述活动块(602)的内部开设有供所述固定块(604)和所述位移板(609)进行位移的位移槽,所述位移槽与所述转动槽相连接。
 
5.根据权利要求1所述的一种便于更换同步带的同步传动机构,其特征在于,所述卡槽(608)设置有若干个,所述卡槽(608)的内壁与所述卡块(610)的外壁相匹配,所述固定块(604)的一侧设置有斜面,所述滑块(611)与所述斜面相接触。
一种便于更换同步带的同步传动机构
技术领域
 
本实用新型涉及传动机构技术领域,具体是一种便于更换同步带的同步传动机构。
 
背景技术
 
在对齿轮和轴承进行生产的过程中,需要使用传动机构对齿轮或轴承进行传动输送,将产品输送至下一生产步骤处,传送机构包括有主动轮、从动轮、同步带和电机,电机运转带动主动轮进行转动,主动轮转动带动同步带进行转动,同步带转动带动从动轮和主动轮进行同步的转动,同步带转动带动放置在其表面的产品进行传动输送,同步带在带式输送机中起牵引和承载作用,是输送机的主要工作部件,在工作过程中,同步带和滚筒、托辊及物料之间皆存在着摩擦磨损,由于物料中常有较大的硬物、较尖的物料夹杂,这些物料在皮带转接点会对下游皮带造成不同的损伤,当同步带受损时,需要对同步带进行更换。
 
在对同步带进行更换时,需要对从动轮进行位移,从而对同步带的松紧度进行调节,方便对同步带进行更换,但是,在对同步带进行更换的过程中,从动轮容易受力发生转动,当在对新的同步带进行安装后,调节同步带和主动轮之间的啮合后,还需转动从动轮,调节从动轮与同步带之间的啮合,降低了对同步带的更换效率,因此提供了一种便于更换同步带的同步传动机构。
 
实用新型内容
 
本实用新型的目的在于:为了解决同步带更换效率低的问题,提供一种便于更换同步带的同步传动机构。
 
为实现上述目的,本实用新型提供如下技术方案:一种便于更换同步带的同步传动机构,包括底座,所述底座的一侧外壁设置有主动轮和从动轮,所述主动轮和所述从动轮对称设置在所述底座的外壁,所述主动轮和所述从动轮的外壁连接有同步带,所述底座的另一侧外壁安装有电机,所述电机的输出端与所述主动轮通过传送轴固定连接,所述底座和所述从动轮之间设置有用于对所述从动轮进行位置调节和固定的调节机构;所述调节机构包括活动槽、活动块、固定槽、固定块、固定弹簧、连接轴、转动块、卡槽、位移板、卡块和滑块;所述活动槽开设于所述底座的外壁靠近所述从动轮位置处,所述活动块滑动连接于所述活动槽的内壁;所述固定槽开设于所述活动槽的顶端,所述固定块滑动连接于所述活动块的内部并延伸至所述活动块的顶端,所述固定弹簧连接于所述固定块的底端与所述活动块之间;所述连接轴固定连接于所述从动轮的外壁并延伸至所述活动块的内部,所述转动块固定连接于所述连接轴位于所述活动块内部的一端,所述卡槽开设于所述转动块的外壁;所述位移板固定连接于所述固定块的外壁,所述卡块固定连接于所述位移板的底端,所述滑块滑动连接于所述活动块的内部并位于所述固定块的一侧,所述滑块延伸至所述活动块的外壁。
 
作为本实用新型再进一步的方案:所述同步带的内壁设置有齿槽,所述主动轮和所述从动轮的外壁设置有与所述齿槽相匹配的齿块。
 
作为本实用新型再进一步的方案:所述活动槽的内壁与所述活动块的外壁相贴合,所述固定槽的内壁与所述固定块的外壁相贴合。
 
作为本实用新型再进一步的方案:所述活动槽的底端开设有第一限位槽,所述活动块的底端固定连接有第一限位块,所述第一限位块的外壁与所述第一限位槽的内壁相贴合。
 
作为本实用新型再进一步的方案:所述活动块的内部开设有供所述连接轴和所述转动块进行转动的转动槽,所述活动块的内部开设有供所述固定块和所述位移板进行位移的位移槽,所述位移槽与所述转动槽相连接。
 
作为本实用新型再进一步的方案:所述卡槽设置有若干个,所述卡槽的内壁与所述卡块的外壁相匹配,所述固定块的一侧设置有斜面,所述滑块与所述斜面相接触。
 
作为本实用新型再进一步的方案:所述活动块的内部开设有供所述滑块进行位移的滑槽,所述滑槽的顶端开设有第二限位槽,所述滑块的顶端固定连接有第二限位块,所述第二限位块的外壁与所述第二限位槽的内壁相贴合。
 
与现有技术相比,本实用新型的有益效果是:
 
通过设置调节机构,进行更换时,推动滑块带动固定块位移出固定槽,卡块位移进入卡槽,对从动轮进行固定,推动活动块位移带动从动轮进行位移,使得同步带松动,从而方便对同步带进行拆下,对新的同步带进行安装时,将同步带与主动轮相啮合,推动活动块位移进行复位,固定块进入固定槽,对活动块进行固定,卡块位移出卡槽,使得从动轮可进行转动,从动轮位移对同步带进行张紧,同时从动轮直接与同步带相啮合,便于在对同步带进行安装时,无需对从动轮进行调整与同步带相啮合,提高了更换效率。
 
附图说明
 
图1为本实用新型的结构示意图;
 
图2为本实用新型的底座的剖视图;
 
图3为本实用新型的活动块的结构示意图;
 
图4为本实用新型的活动块的剖视图。
 
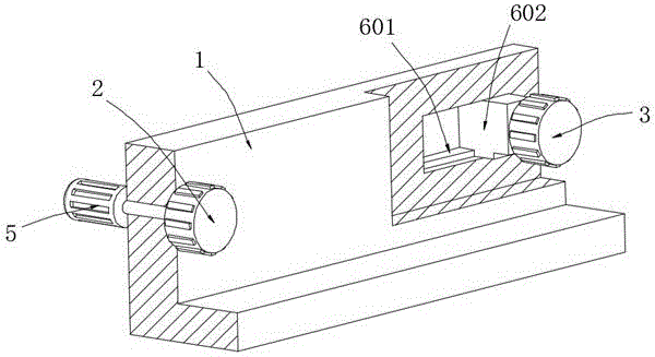
图中:1、底座;2、主动轮;3、从动轮;4、同步带;5、电机;6、调节机构;601、活动槽;602、活动块;603、固定槽;604、固定块;605、固定弹簧;606、连接轴;607、转动块;608、卡槽;609、位移板;610、卡块;611、滑块。
 
具体实施方式
 
下面将结合本实用新型实施例中的附图,对本实用新型实施例中的技术方案进行清楚、完整地描述,显然,所描述的实施例仅仅是本实用新型一部分实施例,而不是全部的实施例。基于本实用新型中的实施例,本领域普通技术人员在没有做出创造性劳动前提下所获得的所有其他实施例,都属于本实用新型保护的范围。
 
请参阅图1~4,本实用新型实施例中,一种便于更换同步带的同步传动机构,包括底座1,底座1的一侧外壁设置有主动轮2和从动轮3,主动轮2和从动轮3对称设置在底座1的外壁,主动轮2和从动轮3的外壁连接有同步带4,底座1的另一侧外壁安装有电机5,电机5的输出端与主动轮2通过传送轴固定连接,底座1和从动轮3之间设置有用于对从动轮3进行位置调节和固定的调节机构6;调节机构6包括活动槽601、活动块602、固定槽603、固定块604、固定弹簧605、连接轴606、转动块607、卡槽608、位移板609、卡块610和滑块611;活动槽601开设于底座1的外壁靠近从动轮3位置处,活动块602滑动连接于活动槽601的内壁;固定槽603开设于活动槽601的顶端,固定块604滑动连接于活动块602的内部并延伸至活动块602的顶端,固定弹簧605连接于固定块604的底端与活动块602之间;连接轴606固定连接于从动轮3的外壁并延伸至活动块602的内部,转动块607固定连接于连接轴606位于活动块602内部的一端,卡槽608开设于转动块607的外壁;位移板609固定连接于固定块604的外壁,卡块610固定连接于位移板609的底端,滑块611滑动连接于活动块602的内部并位于固定块604的一侧,滑块611延伸至活动块602的外壁。
 
在本实施例中:值得说明的时,本方案所用到的电机5为带制抱闸的伺服电机,其型号可以为60HSM22-E1,断电后,抱闸会抱住电机轴,防止电机轴发生转动,在对同步带4进行更换时,推动滑块611进行位移,滑块611位移带动固定块604进行位移,固定块604位移出固定槽603,取消对活动块602的固定,同时固定块604位移带动位移板609进行位移,位移板609位移带动卡块610进行位移,卡块610位移进入卡槽608,对转动块607进行固定,从而对从动轮3进行固定,防止从动轮3发生自转,推动活动块602在活动槽601内进行滑动,活动块602位移带动从动轮3进行位移,从动轮3朝向主动轮2进行位移,使得同步带4松动,从而方便对同步带4进行拆下,对新的同步带4进行安装时,将同步带4与主动轮2相啮合,推动活动块602位移进行复位,直至固定块604与固定槽603相接触,固定块604受固定弹簧605弹力作用位移进入固定槽603,对活动块602进行固定,固定块604位移带动位移板609和卡块610进行位移,卡块610位移出卡槽608,取消对转动块607的固定,使得从动轮3可进行转动,活动块602位移过程中带动从动轮3进行位移,从动轮3位移对同步带4进行张紧,同时从动轮3直接与同步带4相啮合,使得在对同步带4进行安装时,无需对从动轮3进行调整与同步带4相啮合,提高了更换效率。
 
请着重参阅图1和图2,同步带4的内壁设置有齿槽,主动轮2和从动轮3的外壁设置有与齿槽相匹配的齿块。
 
在本实施例中:电机5运转带动主动轮2进行转动,主动轮2转动带动同步带4进行转动,同步带4转动使得从动轮3与主动轮2进行同步转动,同步带4转动带动产品进行位移。
 
请着重参阅图2和图3,活动槽601的内壁与活动块602的外壁相贴合,固定槽603的内壁与固定块604的外壁相贴合,活动槽601的底端开设有第一限位槽,活动块602的底端固定连接有第一限位块,第一限位块的外壁与第一限位槽的内壁相贴合。
 
在本实施例中:固定块604位移出固定槽603,取消对活动块602的固定,推动活动块602在活动槽601内进行滑动,活动块602位移带动从动轮3进行位移,此时第一限位块在第一限位槽内进行滑动,对活动块602进行限位。
 
请着重参阅图4,活动块602的内部开设有供滑块611进行位移的滑槽,滑槽的顶端开设有第二限位槽,滑块611的顶端固定连接有第二限位块,第二限位块的外壁与第二限位槽的内壁相贴合。
 
在本实施例中:推动滑块611进行位移,滑块611在滑槽内进行滑动,同时第二限位块在第二限位槽内进行滑动,对滑块611的位移进行限位。
 
请着重参阅图4,活动块602的内部开设有供连接轴606和转动块607进行转动的转动槽,活动块602的内部开设有供固定块604和位移板609进行位移的位移槽,位移槽与转动槽相连接,卡槽608设置有若干个,卡槽608的内壁与卡块610的外壁相匹配,固定块604的一侧设置有斜面,滑块611与斜面相接触。
 
在本实施例中:推动滑块611进行位移,滑块611位移带动固定块604进行位移,固定块604位移出固定槽603,取消对活动块602的固定,同时固定块604位移带动位移板609进行位移,位移板609位移带动卡块610进行位移,卡块610位移进入卡槽608,对转动块607进行固定,从而对从动轮3进行固定,防止从动轮3发生自转。
 
以上所述的,仅为本实用新型较佳的具体实施方式,但本实用新型的保护范围并不局限于此,任何熟悉本技术领域的技术人员在本实用新型揭露的技术范围内,根据本实用新型的技术方案及其实用新型构思加以等同替换或改变,都应涵盖在本实用新型的保护范围之内。
Copyright © 宁波鄞州盖奇同步带轮有限公司 2007-2022 All Rights Reserved.
电话:4006-574-123/0574-27834692 传真:0574-27834691
地址:浙江省宁波市鄞州区姜山镇蔡郎桥村姜南路39-2 E-Mail:sales@belt-pulley.com  
浙ICP备09102982号 盖奇公司网络部提供技术支持 浙公网安备33021202003319号