当前位置:首页->一种极片库用同步带框架提升机

 一种极片库用同步带框架提升机

 
 
摘要:
本实用新型公开了一种极片库用同步带框架提升机,包括提升机框架,提升机框架顶部设有提升电机,提升电机驱动端设有与之连接的链轮,链轮通过链条与设置于提升电机一侧转轴上的从动链轮连接,转轴两端均设有同步带惰轮,其上套装有同步带,且同步带一端与设置于提升机框架内的轿厢连接,其另一端与设置于提升机框架一侧的配重块连接。本实用新型的有益效果:通过断绳检测组件与安全钳在限速器的操纵下,将轿厢紧急制停并夹持在导轨上,断绳检测的原理是利用弹簧复位与否来判断同步带是否与轿厢断开,该结构提高了设备的安全性,而且防止轿厢的坠落。
 
主权项:
1.一种极片库用同步带框架提升机,其特征在于:包括提升机框架(1),所述提升机框架(1)顶部设有提升电机(2),所述提升电机(2)驱动端设有与之连接的链轮(3),所述链轮(3)通过链条(4)与设置于所述提升电机(2)一侧转轴(12)上的从动链轮(13)连接,所述转轴(12)两端均设有同步带惰轮(6),其上套装有同步带(5),且所述同步带(5)一端与设置于所述提升机框架(1)内的轿厢(7)连接,其另一端与设置于所述提升机框架(1)一侧的配重块(8)连接。
1.一种极片库用同步带框架提升机,其特征在于:包括提升机框架(1),所述提升机框架(1)顶部设有提升电机(2),所述提升电机(2)驱动端设有与之连接的链轮(3),所述链轮(3)通过链条(4)与设置于所述提升电机(2)一侧转轴(12)上的从动链轮(13)连接,所述转轴(12)两端均设有同步带惰轮(6),其上套装有同步带(5),且所述同步带(5)一端与设置于所述提升机框架(1)内的轿厢(7)连接,其另一端与设置于所述提升机框架(1)一侧的配重块(8)连接。
 
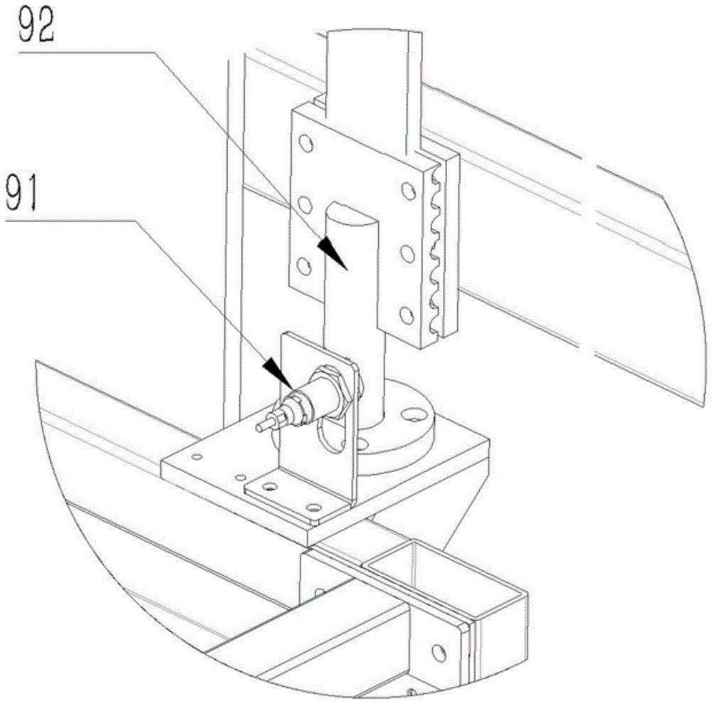
2.根据权利要求1所述的极片库用同步带框架提升机,其特征在于:所述同步带(5)与所述轿厢(7)连接处设有与所述轿厢(7)固定设置的断绳检测装置(9)。
 
3.根据权利要求2所述的极片库用同步带框架提升机,其特征在于:所述断绳检测装置(9)包括接近开关(91)及弹簧复位机构(92)。
 
4.根据权利要求1所述的极片库用同步带框架提升机,其特征在于:所述轿厢(7)顶部两端分别对称设有限速器(10)。
 
5.根据权利要求1所述的极片库用同步带框架提升机,其特征在于:所述轿厢(7)底部两端对称设有安全钳(11)。
 
6.根据权利要求1所述的极片库用同步带框架提升机,其特征在于:所述提升机框架(1)底部对称设有多个与所述轿厢(7)接触的缓冲螺杆。
 
7.根据权利要求1所述的极片库用同步带框架提升机,其特征在于:所述轿厢(7)底部设有多个用于输送物料的辊轮。
一种极片库用同步带框架提升机
技术领域
 
本实用新型涉及提升机技术领域,具体为一种极片库用同步带框架提升机。
 
背景技术
 
提升机(well elevating conveyor/Elevator)是通过改变势能进行运输的大型机械设备,如矿井提升机、过坝提升机等,广义地说,电梯、天车、卷扬、稳车、吊车、启闭机等均可称为提升机。提升机一般指功率较大、提升能力较强的大型机械设备。通过动力机械拖动柔性件钢丝绳及所运输的货物上下运动完成运输过程,钢丝绳是起重机械不可或缺的重要零件,主要品种有磷化涂层钢丝绳、镀锌钢丝绳、不锈钢丝绳、光面钢丝绳等等;
 
现有的同步带框架提升机,一般只有简单的提升电机驱动同步带进行提升,一般在安全方面缺乏保护装置,没有断绳检测、防坠装置、限速装置等,存在安全隐患,当轿厢坠落时容易造成安全事故。
 
实用新型内容
 
本实用新型的目的在于提供一种极片库用同步带框架提升机,以解决上述背景技术中提出的问题。
 
为实现上述目的,本实用新型提供如下技术方案:一种极片库用同步带框架提升机,包括提升机框架,所述提升机框架顶部设有提升电机,所述提升电机驱动端设有与之连接的链轮,所述链轮通过链条与设置于所述提升电机一侧转轴上的从动链轮连接,所述转轴两端均设有同步带惰轮,其上套装有同步带,且所述同步带一端与设置于所述提升机框架内的轿厢连接,其另一端与设置于所述提升机框架一侧的配重块连接。
 
进一步优化的,所述同步带与所述轿厢连接处设有与所述轿厢固定设置的断绳检测装置。
 
进一步优化的,所述断绳检测装置包括接近开关及弹簧复位机构。
 
进一步优化的,所述轿厢顶部两端分别对称设有限速器。
 
进一步优化的,所述轿厢底部两端对称设有安全钳。
 
进一步优化的,所述提升机框架底部对称设有多个与所述轿厢接触的缓冲螺杆。
 
进一步优化的,所述轿厢底部设有多个用于输送物料的辊轮。
 
有益效果
 
本实用新型所提供的极片库用同步带框架提升机,通过断绳检测组件与安全钳在限速器的操纵下,将轿厢紧急制停并夹持在导轨上,断绳检测的原理是利用弹簧复位与否来判断同步带是否与轿厢断开,该结构提高了设备的安全性,而且防止轿厢的坠落。
 
附图说明
 
图1为本实用新型的整体结构示意图;
 
图2为本实用新型的断绳检测装置结构示意图。
 
具体实施方式
 
以下是本实用新型的具体实施例并结合附图,对本实用新型的技术方案作进一步的描述,但本实用新型并不限于这些实施例。
 
实施例
 
如图1-2所示,一种极片库用同步带框架提升机,包括提升机框架1,提升机框架1顶部设有提升电机2,提升电机2驱动端设有与之连接的链轮3,链轮3通过链条4与设置于提升电机2一侧转轴12上的从动链轮13连接,转轴12两端均设有同步带惰轮6,其上套装有同步带5,且同步带5一端与设置于提升机框架1内的轿厢7连接,其另一端与设置于提升机框架1一侧的配重块8连接。
 
本实施例中,同步带5与轿厢7连接处设有与轿厢7固定设置的断绳检测装置9,断绳检测的原理是利用弹簧复位与否来判断同步带5是否与轿厢7断开,当轿厢7与同步带5断开,弹簧会失去外力继而驱动机构复位,然后接近开关91就会检测到复位后的机构,给出断绳信号。
 
断绳检测装置9包括接近开关91及弹簧复位机构92,轿厢7顶部两端分别对称设有限速器10,轿厢7底部两端对称设有安全钳11,安全钳11在限速器10的操纵下,将轿厢7紧急制停并夹持在导轨上。
 
提升机框架1底部对称设有多个与轿厢7接触的缓冲螺杆,轿厢7底部设有多个用于输送物料的辊轮。
 
最后应说明的是:以上所述仅为本实用新型的优选实施例而已,并不用于限制本实用新型,尽管参照前述实施例对本实用新型进行了详细的说明,对于本领域的技术人员来说,其依然可以对前述各实施例所记载的技术方案进行修改,或者对其中部分技术特征进行等同替换。凡在本实用新型的精神和原则之内,所作的任何修改、等同替换、改进等,均应包含在本实用新型性的保护范围之内的实用新型内容。
Copyright © 宁波鄞州盖奇同步带轮有限公司 2007-2022 All Rights Reserved.
电话:4006-574-123/0574-27834692 传真:0574-27834691
地址:浙江省宁波市鄞州区姜山镇蔡郎桥村姜南路39-2 E-Mail:sales@belt-pulley.com  
浙ICP备09102982号 盖奇公司网络部提供技术支持 浙公网安备33021202003319号