当前位置:首页->一种单同步带传动结构及3D打印机

 一种单同步带传动结构及3D打印机

申请(专利)号: CN202322339008.8
申请日: 2023.08.30
授权公告号: CN220390332U
授权公告日: 2024.01.26
主分类号: B29C64/236(2017.01)
分类号: B29C64/236(2017.01); B33Y30/00(2015.01);
申请权利人: 长沙科辰自动化设备有限公司;
发明设计人: 廖沩柯;
地址: 410100 湖南省长沙市经济技术开发区东十路南段32号艾托奥汽车部品组装(长沙)有限公司生产车间西南角
国省代码: 湖南;43
代理机构: 长沙楚为知识产权代理事务所(普通合伙) 43217
代理人: 李大为
 
摘要:
本实用新型涉及传动结构领域,尤其涉及一种单同步带传动结构,包括框架,所述框架上设置有横梁,所述横梁两端与框架滑动连接,所述框架上设置有第一电机和第二电机,以及设置两组第一换向轮和第二换向轮,所述横梁上滑动安装有工作块,所述横梁两端均设置有第一从动轮和第二从动轮,所述框架上设置有一个闭环的同步带,用于连接工作块与第一换向轮、第二换向轮、第一从动轮和第二从动轮,用于带动工作块在第一水平方向和/或在第二水平方向移动,所述同步带由第一电机和第二电机共同驱动,通过同步带的移动,能够高效的带动工作块移动,保证工作块稳定快速的移动到所需要的位置,以实现工作需要。
 
主权项:
1.一种单同步带传动结构,包括框架(10),所述框架(10)上设置有横梁(42),所述横梁(42)两端与框架(10)滑动连接,其特征在于,所述框架(10)上设置有第一电机(20)和第二电机(30),以及设置两组第一换向轮(22)和第二换向轮(32),所述横梁(42)上滑动安装有工作块(43),所述横梁(42)两端均设置有第一从动轮(21)和第二从动轮(31),所述框架(10)上设置有一个闭环的同步带(40),用于连接工作块(43)与第一换向轮(22)、第二换向轮(32)、第一从动轮(21)和第二从动轮(31),用于带动工作块(43)在第一水平方向和/或在第二水平方向移动,所述同步带(40)由第一电机(20)和第二电机(30)共同驱动。
1.一种单同步带传动结构,包括框架(10),所述框架(10)上设置有横梁(42),所述横梁(42)两端与框架(10)滑动连接,其特征在于,所述框架(10)上设置有第一电机(20)和第二电机(30),以及设置两组第一换向轮(22)和第二换向轮(32),所述横梁(42)上滑动安装有工作块(43),所述横梁(42)两端均设置有第一从动轮(21)和第二从动轮(31),所述框架(10)上设置有一个闭环的同步带(40),用于连接工作块(43)与第一换向轮(22)、第二换向轮(32)、第一从动轮(21)和第二从动轮(31),用于带动工作块(43)在第一水平方向和/或在第二水平方向移动,所述同步带(40)由第一电机(20)和第二电机(30)共同驱动。
 
2.根据权利要求1所述的一种单同步带传动结构,其特征在于,所述横梁(42)的两端均通过滑块(41)与框架(10)滑动连接。
 
3.根据权利要求2所述的一种单同步带传动结构,其特征在于,所述滑块(41)上均安装有第一从动轮(21)和第二从动轮(31)。
 
4.根据权利要求1所述的一种单同步带传动结构,其特征在于,所述第一电机(20)和第二电机(30)上均套装有主动轮(11),用于带动同步带(40)移动。
 
5.根据权利要求4所述的一种单同步带传动结构,其特征在于,所述第一电机(20)上的主动轮(11)与第二电机(30)上的主动轮(11)上下错位。
 
6.根据权利要求1所述的一种单同步带传动结构,其特征在于,所述第一从动轮(21)与相邻的第二从动轮(31)之间上下错位,所述第一换向轮(22)与相邻的第二换向轮(32)之间上下错位。
 
7.根据权利要求5所述的一种单同步带传动结构,其特征在于,所述横梁(42)的长度方向平行第一电机(20)和第二电机(30)的连线。
 
8.根据权利要求1所述的一种单同步带传动结构,其特征在于,所述工作块(43)与经过的同步带(40)部位之间固定连接。
 
9.根据权利要求1所述的一种单同步带传动结构,其特征在于,所述第一电机(20)和第二电机(30)与两组第一换向轮(22)和第二换向轮(32)之间呈矩阵分布。
 
10.一种3D打印机,其特征在于,包括如权利要求1-9任意一项所述的工作块(43),所述工作块(43)上安装有3D打印喷头。
一种单同步带传动结构及3D打印机
技术领域
 
本实用新型涉及传动结构,具体设计一种单同步带传动结构及3D打印机。
 
背景技术
 
龙门机构常作为对象的平面传动机构,这种基于线性导轨的机构一般由丝杆或同步带驱动,具有可承受重载荷,使用寿命长,适应高速移动的优势。
 
在传统龙门机构中,通常有一根轨道搭接在两条轨道上,双轨道上的电机需要调试以后才能保证同步运行,安装两条轨道的传动件时,也需要严格控制平行度和平面度,安装调试繁琐,随着使用时间的延长,两条轨道的同步程度也会因为传动件的损耗衰减,影响传动对象的运动精度。
 
实用新型内容
 
本实用新型要解决的技术问题是:在龙门移动机构中,随着长时间的使用导致精度不准的问题。
 
为了解决上述技术问题,本发明采用以下技术方案:
 
首先,提供一种单同步带传动结构,包括框架,所述框架上设置有横梁,所述横梁两端与框架滑动连接,其特征在于,所述框架上设置有第一电机和第二电机,以及设置两组第一换向轮和第二换向轮,所述横梁上滑动安装有工作块,所述横梁两端均设置有第一从动轮和第二从动轮,所述框架上设置有一个闭环的同步带,用于连接工作块与第一换向轮、第二换向轮、第一从动轮和第二从动轮,用于带动工作块在第一水平方向和/或在第二水平方向移动,所述同步带由第一电机和第二电机共同驱动。
 
进一步地,所述横梁的两端均通过滑块与框架滑动连接。
 
进一步地,所述滑块上均安装有第一从动轮和第二从动轮。
 
进一步地,所述第一电机和第二电机上均套装有主动轮,用于带动同步带移动。
 
进一步地,所述第一电机上的主动轮与第二电机上的主动轮上下错位。
 
进一步地,所述第一从动轮与相邻的第二从动轮之间上下错位,所述第一换向轮与相邻的第二换向轮之间上下错位。
 
进一步地,所述横梁的长度方向平行第一电机和第二电机的连线。
 
进一步地,所述工作块与经过的同步带部位之间固定连接。
 
进一步地,所述第一电机和第二电机与两组第一换向轮和第二换向轮之间呈矩阵分布。
 
一种3D打印机,包括如上所述的工作块,所述工作块上安装有3D打印喷头。
 
本实用新型具有如下有益效果:本实用通过一个同步带缠绕的方式,能够有效的带动工作块在平面内任意方向移动,且通过两个电机驱动,避免了电机的惯性对本装置的扰动,提高了控制精度,同时由于是通过同步带带动,不是刚性连接,能够使本装置高速移动,提高工作效率,且同步带整体不是处于同一平面,为立体传动,可以吸纳更多的安装误差,提高本装置的稳定性。
 
附图说明
 
为了更清楚地说明本实用新型实施例或现有技术中的技术方案,下面将对实施例或现有技术描述中所需要使用的附图作简单地介绍,显而易见地,下面描述中的附图仅仅是本实用新型的一些实施例,对于本领域普通技术人员来讲,在不付出创造性劳动的前提下,还可以根据这些附图示出的结构获得其他的附图。
 
图1为本实施例的立体结构示意图;
 
图2为本实施例的俯视图;
 
图3为图1的A处放大图。
 
具体实施方式
 
为了更好的解释本实用新型,以便于理解,下面结合附图,通过具体实施方式,对本实用新型作详细描述。
 
需要说明,本实用新型实施例中所有方向性指示仅用于解释在某一特定姿态下各部件之间的相对位置关系、运动情况等,如果该特定姿态发生改变时,则该方向性指示也相应地随之改变。
 
另外,在本实用新型中如涉及“第一”、“第二”等的描述仅用于描述目的,而不能理解为指示或暗示其相对重要性或者隐含指明所指示的技术特征的数量。由此,限定有“第一”、“第二”的特征可以明示或者隐含地包括至少一个该特征。在本实用新型的描述中,“多个”的含义是至少两个,例如两个,三个等,除非另有明确具体的限定。
 
在本实用新型中,除非另有明确的规定和限定,术语“连接”、“固定”等应做广义理解,例如,“固定”可以是固定连接,也可以是可拆卸连接,或成一体;可以是机械连接,也可以是电连接;可以是直接相连,也可以通过中间媒介间接相连,可以是两个元件内部的连通或两个元件的相互作用关系,除非另有明确的限定。对于本领域的普通技术人员而言,可以根据具体情况理解上述术语在本实用新型中的具体含义。
 
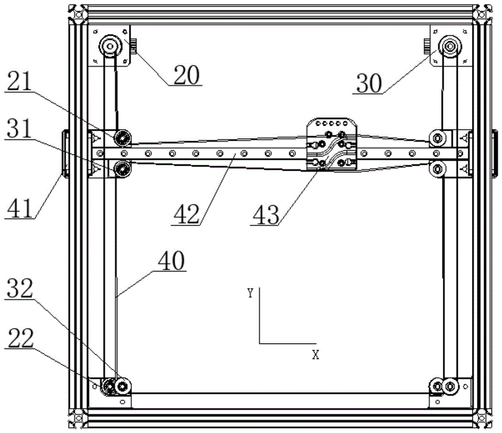
本实用新型提供一种单同步带传动结构,包括框架10,其中框架10存在四个边角,在本实施例中,如图2所示,位于上方的两个边角处分别安装有第一电机20和第二电机30,位于下方的两个边角处均安装有第一换向轮22和第二换向轮32,第一电机20和第二电机30与两组第一换向轮22和第二换向轮32之间呈矩阵分布。
 
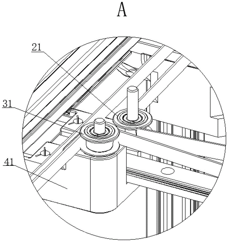
如图1所示,框架10上安装有横梁42,其中横梁42与框架10滑动连接,为了保证横梁42稳定的在框架10上移动,横梁42的两端均安装有滑块41,其中滑块41与框架10滑动连接,且滑块41位于电机与对应的第一换向轮22和第二换向轮32之间,即横梁42平行于第一电机20和第二电机30之间的连线,同时滑块41上均安装有第一从动轮21和第二从动轮31。
 
如图1所示,横梁42上滑动安装有工作块43,其中框架10上设置有一个闭环同步带40,同步带40用于将工作块43与第一电机20、第二电机30、第一从动轮21、第二从动论31、第一换向轮22和第二换向轮32与工作块43连接,其中第一电机20和第二电机30作为同步带40移动的动力,同步带40移动的时候能够带动工作块43移动,其中在本实施例中,同步带40移动能够带动工作块43在其所在平面内任意方向移动。
 
具体的,为了方便说明,如图2所示,在本实施例中,其中同步带40从第一电机20出发,缠绕在相近的第一从动轮21上,之后同步带40沿横梁42的长度方向缠绕到另一个第一从动轮21上,之后同步带40缠绕在第二电机30上,同步带40从第二电机30出发缠绕在相近的第二换向轮32上,之后同步带40缠绕在另一个第二换向轮32上,之后沿滑块41的移动方向同步带40缠绕在相近的第二从动论31上,同步带40从第二从轮31出发缠绕在另一个第二从动轮31上,之后同步带40沿滑块41的滑动方向缠绕在相近的第一换向轮22上,之后同步带40沿横梁42的长度方向缠绕在另一个第一换向轮22上,最后同步带40回到第一电机20处,形成一个闭环同步带,其中同步带40经过了工作块43的部位与工作块43固定连接。
 
具体的,为了方便说明工作块43在同步带40的带动下的移动轨迹,如图2所示,建立XY轴坐标系,其中X轴与横梁42的长度方向平行,Y轴与滑块41的移动方向平行。
 
具体的,当第一电机20和第二电机30均逆时针转动的时候,此时通过同步带40的移动,工作块43就会沿X轴方向向左移动;反之,第一电机20和第二电机30均顺时针转动的时候,则活动块43就会向右移动,
 
当第一电机20逆时针转动,第二电机30顺时针转动的时候,活动块43就只会沿Y轴方向向上移动;反之,第一电机20顺时针转动,第二电机30逆时针转动时,活动块43就只会沿Y轴方向向下移动。
 
同时还存在第一电机20转动,第二电机30不转动,或第一电机20不转动,第二电机30转动,活动块42的移动轨迹都不相同,具体如下表所示;
 
 
 
根据上表可以知道,通过改变第一电机20和第二电机30的工作状态,即可改变工作块43的移动方向,而且工作块43可以再其所在的平面任意方向移动,所以可以根据需要在工作块43上安装一些需要能够自由移动的工作件,保证生产的需要。
 
如图3所示,同时为了同步带40在缠绕的过程中,出现干涉,其中相邻的第一从动论21和第二从轮轮31之间上下错位,对应的,第一换向轮22和相近的第二换向轮32之间也上下错位,从而使同步带40不处于同一平面,保证同步带40的顺利的缠绕在滚轮上。
 
一种3D打印机,如图1所示,包括如上所述的工作块43,其中工作块43上安装有3D打印喷头,工作块43带动3D打印喷头移动,以实现3D打印的要求。
 
需要理解的是,以上对本实用新型的具体实施例进行的描述只是为了说明本实用新型的技术路线和特点,其目的在于让本领域内的技术人员能够了解本实用新型的内容并据以实施,但本实用新型并不限于上述特定实施方式。凡是在本实用新型权利要求的范围内做出的各种变化或修饰,都应涵盖在本实用新型的保护范围内。
Copyright © 宁波鄞州盖奇同步带轮有限公司 2007-2022 All Rights Reserved.
电话:4006-574-123/0574-27834692 传真:0574-27834691
地址:浙江省宁波市鄞州区姜山镇蔡郎桥村姜南路39-2 E-Mail:sales@belt-pulley.com  
浙ICP备09102982号 盖奇公司网络部提供技术支持 浙公网安备33021202003319号