当前位置:首页->一种便于拆卸的同步带接头装置

 一种便于拆卸的同步带接头装置

申请(专利)号: CN202322559407.5
申请日: 2023.09.20
授权公告号: CN221033806U
授权公告日: 2024.05.28
主分类号: F16G3/12(2006.01)
分类号: F16G3/12(2006.01);
申请权利人: 安徽实和传动系统有限公司;
发明设计人: 杨庆喜; 杨俊; 左华丽; 鄢宝俊;
地址: 230000 安徽省合肥市肥西县桃花工业园拓展区桥湾路与恒山路交口安徽庆泓电子科技有限公司3#厂房
国省代码: 安徽;34
代理机构: 安徽盛世金成知识产权代理事务所(普通合伙) 34196
代理人: 单文
 
摘要:
本申请涉及同步带领域,且公开了一种便于拆卸的同步带接头装置,包括同步带本体,所述同步带本体侧壁安设有挂钩,所述挂钩内部安设有连接绳,所述同步带本体一端安设有限制机构,所述同步带本体另一端侧壁开设有竖槽,所述竖槽中安设有张开机构,所述连接绳一端伸入竖槽中与张开机构相互连接,另一端与所述限制机构相互连接;本申请通过拉动连接绳,就可以同时驱动限制机构与张开机构,达到轻松将同步带本体拆下的效果。
 
主权项:
1.一种便于拆卸的同步带接头装置,包括同步带本体(1),其特征在于:所述同步带本体(1)侧壁安设有挂钩(2),所述挂钩(2)内部安设有连接绳(3),所述同步带本体(1)一端安设有限制机构,所述同步带本体(1)另一端侧壁开设有竖槽(4),所述竖槽(4)中安设有张开机构,所述连接绳(3)一端伸入竖槽(4)中与张开机构相互连接,另一端与所述限制机构相互连接。
1.一种便于拆卸的同步带接头装置,包括同步带本体(1),其特征在于:所述同步带本体(1)侧壁安设有挂钩(2),所述挂钩(2)内部安设有连接绳(3),所述同步带本体(1)一端安设有限制机构,所述同步带本体(1)另一端侧壁开设有竖槽(4),所述竖槽(4)中安设有张开机构,所述连接绳(3)一端伸入竖槽(4)中与张开机构相互连接,另一端与所述限制机构相互连接。
 
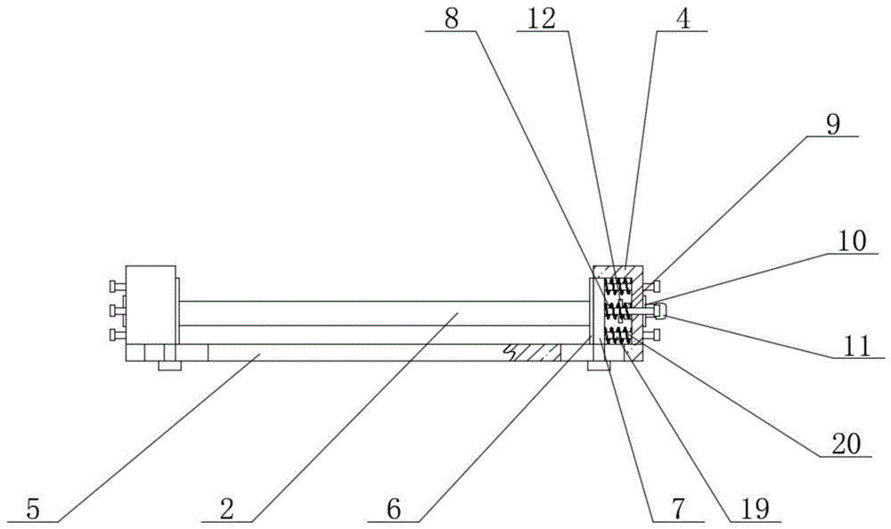
2.根据权利要求1所述的一种便于拆卸的同步带接头装置,其特征在于:所述限制机构包括活动杆(5)、两个固定套(6)与两个连接套(7),所述固定套(6)与连接套(7)均为中空设计,所述连接套(7)安设在固定套(6)中,所述活动杆(5)安设在两个连接套(7)之间,所述活动杆(5)一端安设有弹簧(8),所述连接套(7)侧壁安设有固定板(9),所述弹簧(8)另一端与固定板(9)侧壁固定连接,所述连接绳(3)穿过固定板(9)与活动杆(5)一端固定连接。
 
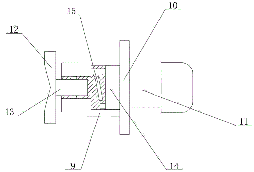
3.根据权利要求1所述的一种便于拆卸的同步带接头装置,其特征在于:所述张开机构包括凸块(10)、两个交叉杆(11)以及两个夹板(12),所述同步带本体(1)中开设有空腔,所述竖槽(4)与空腔连通,所述连接绳(3)穿过空腔侧壁,所述连接绳(3)与凸块(10)侧壁固定连接,两个所述交叉杆(11)中间位置转动连接,所述凸块(10)与两个交叉杆(11)侧壁均相抵,两个所述交叉杆(11)远离凸块(10)一端分别与两个夹板(12)侧壁固定连接。
 
4.根据权利要求3所述的一种便于拆卸的同步带接头装置,其特征在于:两个所述交叉杆(11)中间位置安设有扭簧(13),所述扭簧(13)两端分别与两个交叉杆(11)侧壁固定连接。
 
5.根据权利要求3所述的一种便于拆卸的同步带接头装置,其特征在于:所述夹板(12)的截面为弧形,两个所述夹板(12)远离交叉杆(11)一端侧壁相抵。
一种便于拆卸的同步带接头装置
技术领域
 
本申请涉及同步带的领域,尤其是涉及一种便于拆卸的同步带接头装置。
 
背景技术
 
同步带是综合了带传动,链条传动和齿轮传动的优点而设计出的产品,它的优点很多,因此应用也很广泛,通常在一个运输体系中都需要使用多个同步带串联在一起,由于同步带需要稳定地将货物输送到指定的位置,因此大多数同步带之间多是采用插销来连接,该种连接方式虽然较为稳固且不影响同步带的运动,但是一旦需要更换损坏的同步带,就需要使用工具将首尾两个插销取下;
 
针对上述中的相关技术,发明人认为,常见的同步带接头装置存在有更换效率较低的缺陷,需要依次将首尾两个插销取下,装上新的同步带后还需要再将两个插销装上,因此,提出了一种便于拆卸的同步带接头装置以解决上述问题。
 
本背景技术所公开的上述信息仅仅用于增加对本申请背景技术的理解,因此,其可能包括不构成本领域普通技术人员已知的现有技术。
 
实用新型内容
 
为了解决常见的同步带接头装置中更换效率较低的问题,本申请提供一种便于拆卸的同步带接头装置。
 
本申请提供的一种便于拆卸的同步带接头装置采用如下的技术方案:
 
一种便于拆卸的同步带接头装置,包括同步带本体,所述同步带本体侧壁安设有挂钩,所述挂钩内部安设有连接绳,所述同步带本体一端安设有限制机构,所述同步带本体另一端侧壁开设有竖槽,所述竖槽中安设有张开机构,所述连接绳一端伸入竖槽中与张开机构相互连接,另一端与所述限制机构相互连接。
 
优选的,所述限制机构包括活动杆、两个固定套与两个连接套,所述固定套与连接套均为中空设计,所述连接套安设在固定套中,所述活动杆安设在两个连接套之间,所述活动杆一端安设有弹簧,所述连接套侧壁安设有固定板,所述弹簧另一端与固定板侧壁固定连接,所述连接绳穿过固定板与活动杆一端固定连接。
 
优选的,所述张开机构包括凸块、两个交叉杆以及两个夹板,所述同步带本体中开设有空腔,所述竖槽与空腔连通,所述连接绳穿过空腔侧壁,所述连接绳与凸块侧壁固定连接,两个所述交叉杆中间位置转动连接,所述凸块与两个交叉杆侧壁均相抵,两个所述交叉杆远离凸块一端分别与两个夹板侧壁固定连接。
 
优选的,两个所述交叉杆中间位置安设有扭簧,所述扭簧两端分别与两个交叉杆侧壁固定连接。
 
优选的,所述夹板的截面为弧形,两个所述夹板远离交叉杆一端侧壁相抵。
 
综上所述,本申请包括以下有益技术效果:
 
在同步带本体使用过程中,上一个同步带本体的两个夹板会卡住下一个同步带本体的活动杆,当需要更换同步带时,可以拉动连接绳,使得连接绳两端都被向外拉去,一方面使得活动杆缩回连接套中,另一方面也可以使得凸块离开交叉杆,交叉杆就会在扭簧带动下运动,使得夹板张开,进而使得同步带本体可以被轻松取出。
 
附图说明
 
图1是申请实施例中一种便于拆卸的同步带接头装置的结构示意图;
 
图2是申请实施例中限制机构的结构示意图;
 
图3是申请实施例中张开机构的结构示意图;
 
图4是申请实施例中交叉杆与扭簧的结构示意图。
 
附图标记说明:1、同步带本体;2、挂钩;3、连接绳;4、竖槽;5、活动杆;6、固定套;7、连接套;8、弹簧;9、固定板;10、凸块;11、交叉杆;12、夹板;13、扭簧。
 
具体实施方式
 
以下结合附图1-4对本申请作进一步详细说明。
 
本申请实施例公开一种便于拆卸的同步带接头装置。参照图1,一种便于拆卸的同步带接头装置,包括同步带本体1,同步带本体1侧壁安设有挂钩2,挂钩2内部安设有连接绳3,连接绳3一端伸入竖槽4中与张开机构相互连接,另一端与限制机构相互连接,连接绳3可以被轻松拉动,挂钩2则可以帮助连接绳3更加贴近同步带本体1,防止连接绳3被意外拉动;
 
参照图2,同步带本体1一端安设有限制机构,限制机构包括活动杆5、两个固定套6与两个连接套7,固定套6与连接套7均为中空设计,连接套7安设在固定套6中,活动杆5安设在两个连接套7之间,活动杆5一端安设有弹簧8,连接套7侧壁安设有固定板9,弹簧8另一端与固定板9侧壁固定连接,连接绳3穿过固定板9与活动杆5一端固定连接,弹簧8使得连接绳3被绷紧,从而使得连接绳3可以贴紧同步带本体1,而且连接套7的长度大于活动杆5的长度,活动杆5可以完全缩入连接套7中;
 
参照图3,同步带本体1另一端侧壁开设有竖槽4,竖槽4中安设有张开机构,张开机构包括凸块10、两个交叉杆11以及两个夹板12,同步带本体1中开设有空腔,竖槽4与空腔连通,连接绳3穿过空腔侧壁,连接绳3与凸块10侧壁固定连接,凸块10可以将交叉杆11的这一端固定在张开的状态,从而使得夹板12保持在闭合状态,便于与上一个同步带本体1固定;
 
参照图4,两个交叉杆11中间位置转动连接,两个交叉杆11中间位置安设有扭簧13,扭簧13两端分别与两个交叉杆11侧壁固定连接,扭簧13的力会带动夹板12呈现张开状态,即两个交叉杆11位于空腔中一端为闭合状态;
 
凸块10与两个交叉杆11侧壁均相抵,两个交叉杆11远离凸块10一端分别与两个夹板12侧壁固定连接,夹板12的截面为弧形,两个夹板12远离交叉杆11一端侧壁相抵,由于两个夹板12需要以扣合的状态与活动杆5安设在一起,因此需要设置为弧形,为了保证同步带本体1的连接状态稳定,两个夹板12之间需要为闭合状态,而且夹板12的长度与活动杆5的长度一致。
 
本申请实施例一种便于拆卸的同步带接头装置的实施原理为:当需要将同步带本体1拆下时,可以向外拉动连接绳3,连接绳3一端就会将活动杆5向外拉去,使得弹簧8被压缩,活动杆5就会被拉向连接套7中,使得该同步带本体1尾部可以与下一个同步带本体1脱离,连接绳3的另一端还会带动凸块10向外运动,进而使得凸块10离开两个交叉杆11,两个交叉杆11会在扭簧13作用下转动,进而使得两个夹板12被打开,进而松开该同步带本体1与上一个同步带本体1的限制,此时工作人员就可以轻松将该同步带本体1取出。
 
最后应说明的几点是:首先,在本申请的描述中,需要说明的是,除非另有规定和限定,术语“安装”、“相连”、“连接”应做广义理解,可以是机械连接或电连接,也可以是两个元件内部的连通,可以是直接相连,“上”、“下”、“左”、“右”等仅用于表示相对位置关系,当被描述对象的绝对位置改变,则相对位置关系可能发生改变;
 
其次:本实用新型公开实施例附图中,只涉及到与本公开实施例涉及到的结构,其他结构可参考通常设计,在不冲突情况下,本实用新型同一实施例及不同实施例可以相互组合;
 
最后:以上所述仅为本实用新型的优选实施例而已,并不用于限制本实用新型,凡在本实用新型的精神和原则之内,所作的任何修改、等同替换、改进等,均应包含在本实用新型的保护范围之内。
 
以上均为本申请的较佳实施例,并非依此限制本申请的保护范围,故:凡依本申请的结构、形状、原理所做的等效变化,均应涵盖于本申请的保护范围之内。
Copyright © 宁波鄞州盖奇同步带轮有限公司 2007-2022 All Rights Reserved.
电话:4006-574-123/0574-27834692 传真:0574-27834691
地址:浙江省宁波市鄞州区姜山镇蔡郎桥村姜南路39-2 E-Mail:sales@belt-pulley.com  
浙ICP备09102982号 盖奇公司网络部提供技术支持 浙公网安备33021202003319号