当前位置:首页->一种印刷平台用同步带

 一种印刷平台用同步带

申请(专利)号: CN202322346075.2
申请日: 2023.08.30
授权公告号: CN221069646U
授权公告日: 2024.06.04
主分类号: B65G15/42(2006.01)
分类号: B65G15/42(2006.01); B65G15/58(2006.01);
申请权利人: 清远新力化机有限公司;
发明设计人: 黄海华; 徐敏静;
地址: 511500 广东省清远市佛冈县石角镇吉田高埔村
国省代码: 广东;44
代理机构: 合肥律众知识产权代理有限公司 34147
代理人: 夏舜
 
摘要:
本实用新型公开了一种印刷平台用同步带,涉及同步带传输装置领域,包括对称设置的定位支座,所述定位支座的下方均设置有一对支脚,所述定位支座的内侧对接安装有传动齿轮组,所述定位支座的外侧安装有伺服电机,所述伺服电机的输出主轴与传动齿轮组中的一个传动齿轮相连接,所述传动齿轮组的齿牙处啮合有同步带。本实用新型可节省使用者人工拿取、放置印刷物时所需要的时间,节省了人力资源,并且,便于使用者实施分拣工作,具有便携操作的优点,提高了印刷工作的效率。同时,位于同步带上的阻隔件可分隔定位印刷物。以便于印刷物在同步带上整齐摆放,防止印刷物出现偏移现象,提高了同步带上印刷物接受印刷工作时的位置的精准度。
 
主权项:
1.一种印刷平台用同步带,包括对称设置的定位支座(1),所述定位支座(1)的下方均设置有一对支脚,其特征在于:所述定位支座(1)的内侧对接安装有传动齿轮组(2),所述定位支座(1)的外侧安装有伺服电机(3),所述伺服电机(3)的输出主轴与传动齿轮组(2)中的一个传动齿轮相连接,所述传动齿轮组(2)的齿牙处啮合有同步带(4),所述同步带(4)可传输印刷物;所述同步带(4)的外表面排列设置有多个阻隔件(5),当印刷物在所述同步带(4)上传输时,所述阻隔件(5)可分隔定位印刷物。
1.一种印刷平台用同步带,包括对称设置的定位支座(1),所述定位支座(1)的下方均设置有一对支脚,其特征在于:所述定位支座(1)的内侧对接安装有传动齿轮组(2),所述定位支座(1)的外侧安装有伺服电机(3),所述伺服电机(3)的输出主轴与传动齿轮组(2)中的一个传动齿轮相连接,所述传动齿轮组(2)的齿牙处啮合有同步带(4),所述同步带(4)可传输印刷物;
 
所述同步带(4)的外表面排列设置有多个阻隔件(5),当印刷物在所述同步带(4)上传输时,所述阻隔件(5)可分隔定位印刷物。
 
2.根据权利要求1所述的印刷平台用同步带,其特征在于:所述阻隔件(5)包括固定于同步带(4)外表面的多组橡胶凸块(51),所述橡胶凸块(51)的顶部拆卸式连接有限位杆(52),所述限位杆(52)的外侧设置有可移动的滑移杆(53);
 
所述滑移杆(53)的端部固定连接有限位板一(54)和限位板二(55),所述限位板一(54)、限位板二(55)呈90度垂直分布与同步带(4)的上方,用于对接印刷物的边角。
 
3.根据权利要求2所述的印刷平台用同步带,其特征在于:所述限位杆(52)包括有上杆体(521),所述上杆体(521)的底部通过中固条(522)连接有下对接杆体(523),所述下对接杆体(523)螺纹连接于橡胶凸块(51)上;
 
所述中固条(522)的外表面两侧均固定有复位弹簧(524),所述上杆体(521),下对接杆体(523)的相对侧均对称设置有对接条(525),复位弹簧(524)远离中固条(522)的一端固定于对接条(525)的内侧。
 
4.根据权利要求3所述的印刷平台用同步带,其特征在于:所述对接条(525)呈弧形设置。
 
5.根据权利要求4所述的印刷平台用同步带,其特征在于:所述滑移杆(53)的表面开设有多个圆形通孔,所述圆形通孔相贯通,当限位杆(52)对移动至一定位置的滑移杆(53)实施限位时,所述对接条(525)与圆形通孔的内壁相抵。
 
6.根据权利要求1所述的印刷平台用同步带,其特征在于:一对所述定位支座(1)的内侧通过支撑台(6)相连接,所述支撑台(6)位于同步带(4)的内侧,且所述支撑台(6)贴合同步带(4)的内侧靠下方的齿牙。
一种印刷平台用同步带
技术领域
 
本实用新型涉及同步带传输装置领域,特别涉及一种印刷平台用同步带。
 
背景技术
 
同步带传动也称为啮合型带传动,它通过传动带内表面上等距分布的横向齿和带轮上的相应齿槽的啮合来传递运动。与摩擦型带传动比较,同步带传动的带轮和传动带之间没有相对滑动,能够保证严格的传动比。但同步带传动对中心距及其尺寸稳定性要求较高。
 
在印刷工作的过程中,需要连续将印刷物置于印刷平台上,通过油墨印刷组件的往复移动进行油墨印刷,再将印刷完成后的印刷物取出,放置下一个印刷物,以实施连续性的印刷工作,然而,反复拿取印刷物所耗费时间较长,并且,也不便于对印刷完成、未印刷的印刷物实施分类处理,降低了印刷工作的效率。
 
实用新型内容
 
针对上述问题,本申请提供了一种印刷平台用同步带。
 
为实现上述目的,本申请提供如下技术方案:一种印刷平台用同步带,包括对称设置的定位支座,所述定位支座的下方均设置有一对支脚,所述定位支座的内侧对接安装有传动齿轮组,所述定位支座的外侧安装有伺服电机,所述伺服电机的输出主轴与传动齿轮组中的一个传动齿轮相连接,所述传动齿轮组的齿牙处啮合有同步带,所述同步带可传输印刷物。
 
所述同步带的外表面排列设置有多个阻隔件,当印刷物在所述同步带上传输时,所述阻隔件可分隔定位印刷物。
 
进一步的,所述阻隔件包括固定于同步带外表面的多组橡胶凸块,所述橡胶凸块的顶部拆卸式连接有限位杆,所述限位杆的外侧设置有可移动的滑移杆。
 
所述滑移杆的端部固定连接有限位板一和限位板二,所述限位板一、限位板二呈90度垂直分布与同步带的上方,用于对接印刷物的边角。
 
进一步的,所述限位杆包括有上杆体,所述上杆体的底部通过中固条连接有下对接杆体,所述下对接杆体螺纹连接于橡胶凸块上。
 
所述中固条的外表面两侧均固定有复位弹簧,所述上杆体,下对接杆体的相对侧均对称设置有对接条,复位弹簧远离中固条的一端固定于对接条的内侧。
 
进一步的,所述对接条呈弧形设置。
 
进一步的,所述滑移杆的表面开设有多个圆形通孔,所述圆形通孔相贯通,当限位杆对移动至一定位置的滑移杆实施限位时,所述对接条与圆形通孔的内壁相抵。
 
进一步的,一对所述定位支座的内侧通过支撑台相连接,所述支撑台位于同步带的内侧,且所述支撑台贴合同步带的内侧靠下方的齿牙。
 
综上,本实用新型的技术效果和优点:
 
本实用新型通过同步带传输印刷物的方式,可节省使用者人工拿取、放置印刷物时所需要的时间,节省了人力资源,并且,被印刷完成后的印刷物,可被传送至同步带的前端,以便于使用者实施分拣工作,具有便携操作的优点,提高了印刷工作的效率。同时,位于同步带上的阻隔件可分隔定位印刷物。以便于印刷物在同步带上整齐摆放,防止印刷物出现偏移现象,提高了同步带上印刷物接受印刷工作时的位置的精准度。
 
附图说明
 
为了更清楚地说明本申请实施例或现有技术中的技术方案,下面将对实施例或现有技术描述中所需要使用的附图作简单地介绍,显而易见地,下面描述中的附图仅是本申请的一些实施例,对于本领域技术人员来讲,在不付出创造性劳动的前提下,还可以根据这些附图获得其他的附图。
 
图1为本实用新型立体结构示意图。
 
图2为本实用新型第二视角结构示意图。
 
图3为本实用新型阻隔件结构示意图。
 
图4为本实用新型图阻隔件局部剖面结构示意图。
 
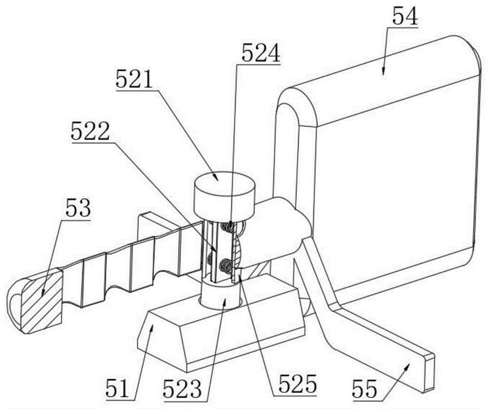
图中:1、定位支座;2、传动齿轮组;3、伺服电机;4、同步带;5、阻隔件;6、支撑台;51、橡胶凸块;52、限位杆;53、滑移杆;54、限位板一;55、限位板二;521、上杆体;522、中固条;523、下对接杆体;524、复位弹簧;525、对接条。
 
具体实施方式
 
下面将结合本实用新型实施例中的附图,对本实用新型实施例中的技术方案进行清楚、完整地描述,显然,所描述的实施例仅仅是本实用新型一部分实施例,而不是全部的实施例。基于本实用新型中的实施例,本领域普通技术人员在没有做出创造性劳动前提下所获得的所有其他实施例,都属于本实用新型保护的范围。
 
实施例:参考图1、图2所示的一种印刷平台用同步带,包括对称设置的定位支座1,定位支座1的下方均设置有一对支脚,定位支座1的内侧对接安装有传动齿轮组2,定位支座1的外侧安装有伺服电机3,伺服电机3的输出主轴与传动齿轮组2中的一个传动齿轮相连接,传动齿轮组2的齿牙处啮合有同步带4,同步带4可传输印刷物。
 
伺服电机3与整个印刷机构的控制器通过线路通讯连接,为现有的伺服电机3的控制方式,在此不多做赘述。当伺服电机3通电运转时,传动齿轮组2中与伺服电机3相对接的传动齿轮,在伺服电机3的输出作用力下,呈转动状态,因此,整个同步带4呈转动状态,传动齿轮组2中另一个啮合于同步带4内侧的传动齿轮也呈转动状态,实现同步带4的平稳转动,将放置于其上方的印刷物输送至油墨印刷组件的下方。
 
通过同步带4传输印刷物的方式,可节省使用者人工拿取、放置印刷物时所需要的时间,节省了人力资源,并且,被印刷完成后的印刷物,可被传送至同步带4的前端,以便于使用者实施分拣工作,减少了人工拿取、放置印刷物时,印刷完成后的、未印刷的印刷物分类处理时所耗费的时间,具有便携操作的优点,提高了印刷工作的效率。
 
如图2、图3所示,同步带4的外表面排列设置有多个阻隔件5,当印刷物在同步带4上传输时,阻隔件5可分隔定位印刷物。以便于印刷物在同步带4上整齐摆放,防止印刷物出现偏移现象。
 
如图2、图3所示,阻隔件5包括固定于同步带4外表面的多组橡胶凸块51,橡胶凸块51的顶部拆卸式连接有限位杆52,限位杆52的外侧设置有可移动的滑移杆53。
 
滑移杆53的端部固定连接有限位板一54和限位板二55,限位板一54、限位板二55呈90度垂直分布与同步带4的上方,用于对接印刷物的边角。
 
通过可移动的滑移杆53,可调节限位板一54和限位板二55的位置,使限位板一54、限位板二55对准不同规格印刷物的前端,与其前端抵紧,有效保持印刷物位置的精准度,以便于油墨印刷组件实施精准印刷工作。
 
如图3所示,限位杆52包括有上杆体521,上杆体521的底部通过中固条522连接有下对接杆体523,下对接杆体523螺纹连接于橡胶凸块51上。
 
中固条522的外表面两侧均固定有复位弹簧524,上杆体521,下对接杆体523的相对侧均对称设置有对接条525,复位弹簧524远离中固条522的一端固定于对接条525的内侧。设置有复位弹簧524的目的,使对接条525为可伸缩状态,按压对接条525时,对接条525可被收缩至上杆体521,下对接杆体523的内侧,以便于滑移杆53在限位杆52上顺利滑动。直至限位板一54、限位板二55对准不同规格印刷物的前端。
 
如图4所示,对接条525呈弧形设置。其目的是便于使用者手动按压对接条525,当对接条525被按压后,可完全被收纳至上杆体521、下对接杆体523的内侧,可顺利容纳滑移杆53滑动。
 
如图4所示,滑移杆53的表面开设有多个圆形通孔,圆形通孔相贯通,贯通多个圆形通孔的部分为矩形的通道,当限位杆52对移动至一定位置的滑移杆53实施限位时,对接条525与圆形通孔的内壁相抵。对接条525在复位弹簧524的弹性势能下,抵紧与圆形通孔的内壁,使得滑移杆53上的矩形通道无法穿过对接条525,进一步的,滑移杆53无法继续滑动。
 
滑移杆53被限位后,可保障调节位置后的限位板一54、限位板二55的稳定性,使得其二者稳定地与印刷物相对接,避免限位板一54、限位板二55出现偏移现象。
 
如图1、图2所示,一对定位支座1的内侧通过支撑台6相连接,支撑台6位于同步带4的内侧,且支撑台6贴合同步带4的内侧靠下方的齿牙。设置有支撑台6的目的是提高同步带4的结构强度,有效避免同步带4在印刷物的压力作用下产生形变现象,使同步带4处于平整状态,保障了印刷物在能够全面、稳定的接受印刷。
 
最后应说明的是:以上所述仅为本实用新型的优选实施例而已,并不用于限制本实用新型,尽管参照前述实施例对本实用新型进行了详细的说明,对于本领域的技术人员来说,其依然可以对前述各实施例所记载的技术方案进行修改,或者对其中部分技术特征进行等同替换,凡在本实用新型的精神和原则之内,所做的任何修改、等同替换、改进等,均应包含在本实用新型的保护范围之内。
Copyright © 宁波鄞州盖奇同步带轮有限公司 2007-2022 All Rights Reserved.
电话:4006-574-123/0574-27834692 传真:0574-27834691
地址:浙江省宁波市鄞州区姜山镇蔡郎桥村姜南路39-2 E-Mail:sales@belt-pulley.com  
浙ICP备09102982号 盖奇公司网络部提供技术支持 浙公网安备33021202003319号