当前位置:首页->一种多功能管道行走机构

 一种多功能管道行走机构

 
【申请公布号:CN108953838A;申请权利人: 湖北三江航天险峰电子信息有限公司;发明设计人: 刘贵能; 程传云; 郑红海;】
 
摘要:
 
本发明公开了一种多功能管道行走机构,包括底板(1)、动力电机组件(2)、T型滑块(13)、L型同步带(9)、第一传动轴(10)、主动滚轮组件(5)和从动滚轮组件(6),主动滚轮组件(5)包括第二传动轴(11)和行走同步带轮(15),所述第一传动轴(10)和所述第二传动轴(10)上分别设有第一传动同步带轮(7)和第二传动同步带轮(8),L型同步带(9)与所述第一传动同步带轮(7)和第二传动同步带轮(8)齿合,所述T型滑块(13)包括与所述导向槽(17)匹配的滑槽(18)和从动滚轮组件(6),主动滚轮组件(5)和两个从动滚轮组件(6)上套设有H型双面错齿同步带(12)。本发明的多功能管道行走机构,能防止行走打滑。 
 
主权项:
 
1.一种多功能管道行走机构,包括底板(1)和固定在所述底板(1)上的动力电机组件(2),其特征在于,还包括T型滑块(13)、L型同步带(9)和与所述动力电机组件(2)的输出轴连接的第一传动轴(10),所述底板(1)包括底部设有导向槽(17)的安装板和平行间隔设于所述安装板的顶面上的第一侧板和第二侧板;所述第一侧板和第二侧板之间平行设置有主动滚轮组件(5)和从动滚轮组件(6),所述主动滚轮组件(5)包括伸出所述第一侧板外的第二传动轴(11)和行走同步带轮(15),所述从动滚轮组件(6)包括从动轴(16)和行走同步带轮(15),所述第一传动轴(10)上套设有第一传动同步带轮(7),所述第二传动轴(10)上套设有第二传动同步带轮(8),所述L型同步带(9)与所述第一传动同步带轮(7)和第二传动同步带轮(8)齿合,以将动力传动到所述主动滚轮组件(5)上;所述T型滑块(13)包括底部两端对称设置的与所述导向槽(17)匹配的滑槽(18)和与所述第一侧板和第二侧板对应的两侧板,所述两侧板之间设有从动滚轮组件(6),所述主动滚轮组件(5)和两个从动滚轮组件(6)上套设有H型双面错齿同步带(12),所述H型双面错齿同步带(12)用于行走,所述滑槽(18)和所述导向槽(17)的配合用于调整所述H型双面错齿同步带(12)的松紧防止打滑。 
 
要求:
 
1.一种多功能管道行走机构,包括底板(1)和固定在所述底板(1)上的动力电机组件(2),其特征在于,还包括T型滑块(13)、L型同步带(9)和与所述动力电机组件(2)的输出轴连接的第一传动轴(10),所述底板(1)包括底部设有导向槽(17)的安装板和平行间隔设于所述安装板的顶面上的第一侧板和第二侧板;
 
所述第一侧板和第二侧板之间平行设置有主动滚轮组件(5)和从动滚轮组件(6),所述主动滚轮组件(5)包括伸出所述第一侧板外的第二传动轴(11)和行走同步带轮(15),所述从动滚轮组件(6)包括从动轴(16)和行走同步带轮(15),所述第一传动轴(10)上套设有第一传动同步带轮(7),所述第二传动轴(10)上套设有第二传动同步带轮(8),所述L型同步带(9)与所述第一传动同步带轮(7)和第二传动同步带轮(8)齿合,以将动力传动到所述主动滚轮组件(5)上;
 
所述T型滑块(13)包括底部两端对称设置的与所述导向槽(17)匹配的滑槽(18)和与所述第一侧板和第二侧板对应的两侧板,所述两侧板之间设有从动滚轮组件(6),所述主动滚轮组件(5)和两个从动滚轮组件(6)上套设有H型双面错齿同步带(12),所述H型双面错齿同步带(12)用于行走,所述滑槽(18)和所述导向槽(17)的配合用于调整所述H型双面错齿同步带(12)的松紧防止打滑。
 
2.根据权利要求1所述的一种多功能管道行走机构,其特征在于,还包括压紧轮组件(4),所述压紧轮组件(4)包括压紧轴和与所述压紧轴配合并压在所述L型同步带(9)上的压紧轮。
 
3.根据权利要求2所述的一种多功能管道行走机构,其特征在于,第一侧板对应所述压紧轴设有腰型槽,所述压紧轴与所述腰型槽可拆卸连接。
 
4.根据权利要求1所述的一种多功能管道行走机构,其特征在于,所述T型滑块(13)还包括设于所述安装板之上的翼板,所述翼板为对称设置的两块,且所述翼板上均设有限位槽。
 
5.根据权利要求1~4中任一项所述的一种多功能管道行走机构,其特征在于,所述H型双面错齿同步带(12)为对称设置的双面齿同步带,包括对称设置且与所述行走同步带(15)齿合的内齿和与管道管壁接触的外齿。
 
6.根据权利要求1~4中任一项所述的一种多功能管道行走机构,其特征在于,所述第一同步带轮(7)与所述第一传动轴(10)以及第二同步带轮(8)与第一传动轴(11)之间均为扁平结构配装。
 
7.根据权利要求1所述的一种多功能管道行走机构,其特征在于,所述动力电机组(2)为L型电机组件,包括一体化电机和减速机。
 
8.根据权利要求1所述的一种多功能管道行走机构,其特征在于,所述第一侧板和第二侧板上均对应设有若干台阶孔,所述台阶孔与所述第二传动轴(11)和从动轴(16)相匹配。
 
9.根据权利要求8所述的一种多功能管道行走机构,其特征在于,所述T型滑块(13)的两侧板对称设有台阶孔,所述台阶孔与所述从动轴(16)相匹配。
 
10.根据权利要求9所述的一种多功能管道行走机构,其特征在于,所述第一侧板、第二侧板和T型滑块(13)上台阶孔之间的同轴度在0.0015以内。
 
一种多功能管道行走机构
技术领域
 
本发明属于动力与传动技术领域,更具体地,涉及一种多功能管道行走机构。
 
背景技术
 
现如今,管道应用于各个行业、各个领域,比如石油管道、水利工程、农业灌溉、各种工业装置、各类发射管等。然而,管道的清洗维护及检测工作都是由人工完成的;人工维护有诸多弊端,管道过长、空间狭小、环境恶劣等原因,导致清洗维护人员的工作负荷大,清洗维护效率不高,为减轻清洗工作人员的工作负荷,提高工作效率,需要研制可进入管道内进行清洗的维护装置。
 
因此,通常用到管道机器人检测,目前常见的管道机器人有流体驱动式、轮式、履带式、行走式等,将管道机器人置于管道的一端,管道机器人上安装有各种检测探头、传感器,管道机器人本身通过很长的电缆与外界的机站、工程车等连接,电缆一方面为管道机器人供电,另一方面用于数据传输,管道机器人检测到的数据通过电缆传递到机站,通过机站的显示屏上能够实施获得检测信息。
 
管道清洗维护装置一般在潮湿、油脂、狭小等特殊环境下工作,管道清洗维护装置包括行走机构和相应清洗维护等功能部件,其中行走机构行行走过程中会碰到行走打滑、管道异型等问题。其中行走打滑会极大影响管道清洗维护装置的稳定性,不仅会使得整个清洗装置无法正常行走,还会影响清洗维护的工作,甚至造成装置的损坏。
 
发明内容
 
针对现有技术的以上缺陷或改进需求,本发明提供一种多功能管道行走机构,通过固定在底板上的动力电机组的输出轴与第一传动轴连接,第一传动轴与主动滚轮组件的第二传动轴通过分别套设在第一传动轴和第二传动轴上的第一传动同步带轮和第二传动同步带轮和L型同步带实现将电机动力传动到主动滚轮组件上,第一侧板和第二侧板之间还设有从动滚轮组件,与第一侧板和第二侧板平行设置有位置可调节的T型滑块,T型滑块内设有从动滚轮组件,主动滚轮组件和两个从动滚轮组件上套设有H型双面错齿同步带,用于利用主动滚轮组件带动H型双面错齿同步带转动,用于行走,滑槽和导向槽的配合用于调整H型双面错齿同步带的松紧防止打滑
 
为了实现上述目的,本发明提供一种多功能管道行走机构,包括底板和固定在所述底板上的动力电机组件,还包括T型滑块、L型同步带和与所述动力电机组件的输出轴连接的第一传动轴,所述底板包括底部设有导向槽的安装板和平行间隔设于所述安装板的顶面上的第一侧板和第二侧板;
 
所述第一侧板和第二侧板之间平行设置有主动滚轮组件和从动滚轮组件,所述主动滚轮组件包括伸出所述第一侧板外的第二传动轴和行走同步带轮,所述从动滚轮组件包括从动轴和行走同步带轮,所述第一传动轴上套设有第一传动同步带轮,所述第二传动轴上套设有第二传动同步带轮,所述L型同步带与所述第一传动同步带轮和第二传动同步带轮齿合,以将动力传动到所述主动滚轮组件上;
 
所述T型滑块包括底部两端对称设置的与所述导向槽匹配的滑槽和与所述第一侧板和第二侧板对应的两侧板,所述两侧板之间设有从动滚轮组件,所述主动滚轮组件和两个从动滚轮组件上套设有H型双面错齿同步带,所述H型双面错齿同步带用于行走,所述滑槽和所述导向槽的配合用于调整所述H型双面错齿同步带的松紧防止打滑。
 
进一步地,还包括压紧轮,所述压紧轮包括压紧轴和与所述压紧轴配合并压在所述L型同步带上的压紧轮。
 
进一步地,第一侧板对应所述压紧轴设有腰型槽,所述压紧轴与所述腰型槽可拆卸连接。
 
进一步地,所述T型滑块还包括设于所述安装板之上的翼板,所述翼板为对称设置的两块,且所述翼板上均设有限位槽。
 
进一步地,所述H型双面错齿同步带为对称设置的双面齿同步带,包括对称设置的与所述行走同步带齿合的内齿和与管道管壁接触的外齿。
 
进一步地,其特征在于,所述第一同步带轮与所述第一传动轴以及第二同步带轮与第一传动轴之间均为扁平结构配装。
 
所述动力电机组为L型电机组件,包括一体化电机和减速机。
 
进一步地,所述第一侧板和第二侧板上均对应设有若干台阶孔,所述台阶孔与所述第二传动轴和从动轴相匹配。
 
进一步地,所述T型滑块的两侧板对称设有台阶孔,所述台阶孔与所述从动轴相匹配。
 
进一步地,所述第一侧板、第二侧板和T型滑块上台阶孔之间的同轴度在0.0015以内。
 
总体而言,通过本发明所构思的以上技术方案与现有技术相比,能够取得下列有益效果:
 
(1)本发明的多功能管道行走机构,通过固定在底板上的动力电机组的输出轴与第一传动轴连接,第一传动轴与主动滚轮组件的第二传动轴通过分别套设在第一传动轴和第二传动轴上的第一传动同步带轮和第二传动同步带轮和L型同步带实现将电机动力传动到主动滚轮组件上,第一侧板和第二侧板之间还设有从动滚轮组件,与第一侧板和第二侧板平行设置有位置可调节的T型滑块,T型滑块内设有从动滚轮组件,主动滚轮组件和两个从动滚轮组件上套设有H型双面错齿同步带,用于利用主动滚轮组件带动H型双面错齿同步带转动,用于行走,滑槽和导向槽的配合用于调整H型双面错齿同步带的松紧防止打滑
 
(2)本发明的多功能管道行走机构,L型同步带上设有用于压紧L型同步带的压紧轮组件,压紧轮组件包括压紧轴和压紧轮,压紧轴与第一侧板上的腰型槽可拆卸连接,通过腰型槽调节压紧轴的位置,压紧轮套设在压紧轴上,并压紧在L型同步带上,用于调节L型同步带的中心距,从而起到压紧作用。
 
(3)本发明的多功能管道行走机构,动力电机组件包括一体化电机和减速机,并形成L型的动力电机组件,该L型的动力电机组件的动力值能克服传统的电机直驱的驱动力不足,不能克服自身力矩不平衡等问题;H型双面错齿同步带为对称设置的双面齿同步带,内齿与行走同步带轮齿合实现力矩传动,外齿与管道壁接触,以增大与导轨的摩擦力,起到防打滑的作用,保证行走机构在潮湿、油脂、狭小的环境中能够稳定的行走。
 
附图说明
 
一种多功能管道行走机构
图1为本发明实施例一种多功能管道行走机构的结构示意图;
 
一种多功能管道行走机构
图2为本发明实施例一种多功能管道行走机构的侧视图;
 
一种多功能管道行走机构
图3为本发明实施例中动力电机、传动同步带轮和行走同步带轮之间的连接结构示意图;
 
一种多功能管道行走机构
图4为本发明实施例中主动滚轮组件的结构示意图;
 
一种多功能管道行走机构
图5为本发明实施例中从动滚轮组件的结构示意图;
 
一种多功能管道行走机构
图6为本发明实施例中T型滑块的结构示意图。
 
所有附图中,同一个附图标记表示相同的结构与零件,其中:1-底板、2-动力电机组件、3-联轴器、4-压紧轮组件、5-主动滚轮组件、6-从动滚轮组件、7-第一传动同步带轮、8-第二传动同步带轮、9-L型同步带、10-第一传动轴、11-第二传动轴、12-H型双面错齿同步带、13-T型滑块、14-密封端盖、15-行走同步带轮、16-从动轴、17-导向槽、18-滑槽。
 
具体实施方式
 
为了使本发明的目的、技术方案及优点更加清楚明白,以下结合附图及实施例,对本发明进行进一步详细说明。应当理解,此处所描述的具体实施例仅用以解释本发明,并不用于限定本发明。此外,下面所描述的本发明各个实施方式中所涉及到的技术特征只要彼此之间未构成冲突就可以相互组合。
 
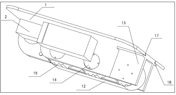
图1为本发明实施例一种多功能管道行走机构的结构示意图。图2为本发明实施例一种多功能管道行走机构的侧视图。如图1和图2所示,行走机构包括底板1、动力电机组件2、联轴器、同步带传动部件和同步带行走部件,底板1为行走机构的支撑框架,且底板1为拼接结构,包括第一侧板、第二侧板和安装板,第一侧板和第二侧板可拆卸式地设于安装板的顶面上,且第一侧板和第二侧板平行间隔设置,第一侧板的长度大于第二侧板的长度,第一侧板和第二侧板的侧壁上均设有台阶孔。
 
动力电机组件2设于安装板的顶面,用于为行走机构提供动力,动力电机组件2的输出轴穿过第一侧板一端的台阶孔,动力电机组件包括一体化电机和减速机,并形成L型的动力电机组件,由于管道行走机构要克服包括摩擦力矩和不平衡力矩等力矩,且力矩值一般为20N·m,传统的电机直驱的驱动力不能满足,该L型的动力电机组件的动力值为42N·m,安全系数为2.1,完全能满足使用要求,克服自身力矩不平衡的问题。
 
作为优选,动力电机组件选用防水型的一体化电机和减速机,以适应管道内的恶劣环境及喷水清洗试验。
 
图3为本发明实施例中动力电机、传动同步带轮和行走同步带轮之间的连接结构示意图。图4为本发明实施例中主动滚轮组件的结构示意图。
 
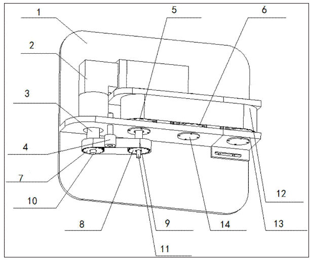
图5为本发明实施例中从动滚轮组件的结构示意图。如图1、图3、图4和图5所示,同步带传动部件包括第一传动轴10、第一传动同步带轮7、第二传动同步带轮8、压紧轮组件4和L型同步带9;第一传动轴10与动力电机组件2的输出轴之间设有联轴器3,通过联轴器3传递扭矩,第一传动轴10的上套设有第一传动同步带轮7。
 
同步带行走部件包括主动滚轮组件5、从动滚轮组件6、H型双面错齿同步带12、密封端盖14和T型滑块13,主从动滚轮组件5设于动力电机组件的输出轴与从动滚轮组件6之间;主动滚轮组件5包括第二传动轴11和行走同步带轮15,从动滚轮组件16包括从动轴16和行走同步带轮15,第二传动轴11和从动轴16均穿过设于第一侧板和第二侧板的台阶孔内,用于将主动滚轮组件5和从动滚轮组件6固定在第一侧板和第二侧板之间;其中,第二传动轴11穿过台阶孔,并与第一传动轴7平行设置,第二传动轴11上套设有第二传动同步带轮8,第一同步带轮7和第二同步带轮8均为齿轮结构,且第一同步带轮7和第二同步带轮8通过L型同步带9连接,L型同步带9与第一同步带轮7和第二同步带轮8齿合。
 
作为优选,L型同步带9的齿形为T型,T型齿相对与传统的三角型齿或矩形齿,传动效率更高,且该T型齿的同步带不宜磨损。
 
作为优选,第一同步带轮7与第一传动轴10以及第二同步带轮8与第一传动轴11之间均采用扁平结构配装,扁平结构配装的结构形式相对与键连接更易拆装。
 
作为优选,第一同步带轮7和第二同步带轮8的两端均设有护边结构,用于限定L型同步带9,避免L型同步带在运动过程中出现翻边的现象。
 
压紧轮组件4包括压紧轴和压紧轮,压紧轴和压紧轮属于悬臂式结构,第一侧板上设有腰型槽,压紧轴穿过该腰型槽与该腰型槽可拆卸式连接,并通过螺纹连接,且压紧轴设于第一传动轴10和第二传动轴11之间,压紧轮套设在压紧轴上,且压紧轮置于L型同步带表面,通过调节压紧轴沿着腰型槽上下运动,对L型同步带施加一个压紧力,用压紧轮调节L型同步带的中心距,从而起到压紧作用。
 
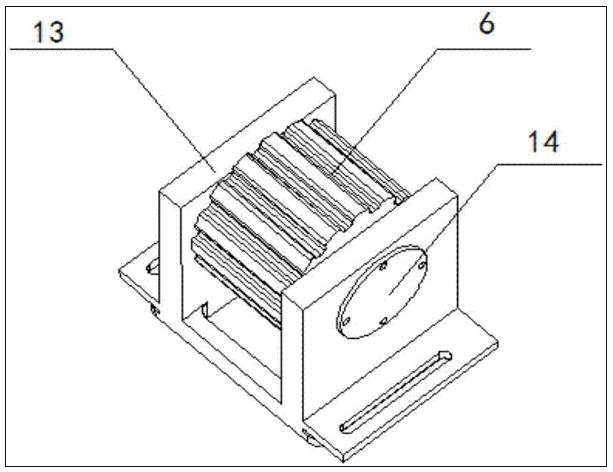
图6为本发明实施例中T型滑块的结构示意图。如图2和图6所示,底板1的一端对应第一侧板和第二侧板的位置设有导向槽17,导向槽17的延伸方向和第一侧板第二侧板的延伸方向相同,且导向槽17的宽度与第一侧板第二侧板之间的间隙相同,T型滑块13的底部两侧对称设有滑槽18,滑槽18与导向槽17相匹配,以使得T型滑块13能顺利沿导向槽17滑动;T型滑块13还包括两侧板,分别与第一侧板和第二侧板相匹配,两侧板上均设有台阶孔,且两侧板之间设有从动滚轮组件6,从动滚轮组件6包括从动轴16和行走同步带轮15,从动轴16两端设于台阶孔内以固定在T型滑槽13内;T型滑槽底部的两侧设有翼板,翼板置于安装板上,且翼板上均设有限位槽,且T型滑块在导向槽17上的运动行程由限位槽的长度决定,限位槽上设有螺栓,并与螺栓配合实现T型滑块13的限位。
 
H型双面错齿同步带12为环形带状结构,套设在主动滚轮组件5、从动滚轮组件6和T型滑块13上的行走同步带轮15上,并与三个行走同步带轮15实现齿合,以实现主动滚轮组件5、从动滚轮组件6和T型滑块13的连接,并通过T型滑块13沿底板上的导向槽17滑动,调节三个行走同步带轮15之间的中心距,消除了装配间隙以实现H型双面错齿同步带12胀紧齿合在三个行走同步带轮15上,保证行走机构在潮湿、油脂、狭小的环境中能够稳定的行走;动力电机组件2带动第一传动同步带轮7,再通过L型同步带带动第二传动同步带轮8转动,从而带动主动滚轮组件5转动,主动滚轮组件5上的同步带轮通过H型双面错齿同步带12与其余2件行走同步带轮15啮合,实现力矩的传递,带动其余的同步带轮一起向前(向后)滚动,同步带轮的滚动带动同步带转动,从而实现同步带的行走功能。
 
H型双面错齿同步带12为对称设置的双面齿同步带,包括对称设置的内齿和外齿,内齿与行走同步带轮15齿合实现力矩传动,外齿与管道壁接触,以增大与导轨的摩擦力,起到防打滑的作用,保证行走机构在潮湿、油脂、狭小的环境中能够稳定的行走。
 
作为优选,第一侧板、第二侧板和T型滑槽13上的台阶孔之间的同轴度在0.015以内,保证第二传动轴11以及从动滚轮组件6和T型滑块的从动轴16的各轴之间是平行结构,避免因出现夹角而导致整个行走机构憋死。
 
作为优选,从动滚轮组件6和T型滑块13的台阶孔的表面均设有密封端盖14,用于将从动滚轮组件6压紧。
 
作为优选,第一传动同步带轮7和第二传动同步带轮8的齿数、齿合角和模数相同,实现传动比为1:1的扭矩传递。
 
本领域的技术人员容易理解,以上所述仅为本发明的较佳实施例而已,并不用于限制本发明,凡在本发明的精神和原则之内所作的任何修改、等同替换和改进等,均应包含在本发明的保护范围之内。
 
Copyright © 宁波鄞州盖奇同步带轮有限公司 2007-2022 All Rights Reserved.
电话:4006-574-123/0574-27834692 传真:0574-27834691
地址:浙江省宁波市鄞州区姜山镇蔡郎桥村姜南路39-2 E-Mail:sales@belt-pulley.com  
浙ICP备09102982号 盖奇公司网络部提供技术支持 浙公网安备33021202003319号