当前位置:首页->一种牧草自动进料切割一体装置

 一种牧草自动进料切割一体装置

 
【申请公布号:CN108966871A;申请权利人:蒋洲琳;发明设计人:蒋洲琳;】
 
摘要:
 
本发明公开了一种牧草自动进料切割一体装置,左右两侧的半圆锥齿轮有齿部分相互错开,左右两侧的半圆锥齿轮上部设置有第一锥齿轮,第一锥齿轮啮合半圆锥齿轮有齿部分,第一锥齿轮上端中央固定连接从动轴,从动轴上端轴承转动连接装置本体;所述从动轴上部固定连接第二锥齿轮,第二锥齿轮啮合第三锥齿轮,第三锥齿轮固定连接副轴。该装置通过两侧的半圆锥齿轮有齿部分往复啮合第一锥齿轮带动锥齿轮和从动轴往复正反转,其中,小齿轮和大齿轮带动摆轴和摆杆往复前后摆动进而带动环形切割刀往复摆动,同时,转动的主动轴通过同步带带动环形切割刀转动切割。 
 
主权项:
 
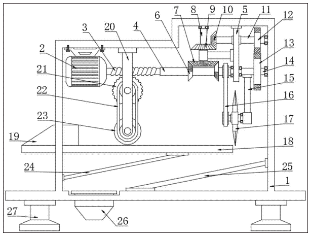
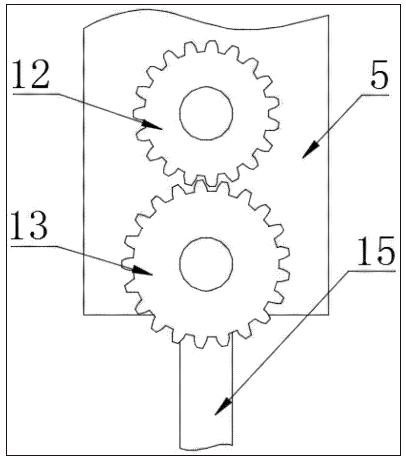
1.一种牧草自动进料切割一体装置,包括装置本体(1)、驱动电机(2)、环形切割刀(17)和工作台(18),其特征在于,所述装置本体(1)内部左侧上方设置驱动电机(2),驱动电机(2)右侧转动连接蜗杆(3);所述蜗杆(3)右端固定连接主动轴(4),主动轴(4)右端轴承转动连接立板(5)下部,主动轴(4)右部两侧分别固定连接有半圆锥齿轮(6),半圆锥齿轮(6)一半有齿一半无齿,且左右两侧的半圆锥齿轮(6)有齿部分相互错开,左右两侧的半圆锥齿轮(6)上部设置有第一锥齿轮(7),第一锥齿轮(7)啮合半圆锥齿轮(6)有齿部分,第一锥齿轮(7)上端中央固定连接从动轴(8),从动轴(8)上端轴承转动连接装置本体(1);所述从动轴(8)上部固定连接第二锥齿轮(9),第二锥齿轮(9)啮合第三锥齿轮(10),第三锥齿轮(10)固定连接副轴(11);所述副轴(11)右侧固定连接小齿轮(12),小齿轮(12)下部啮合大齿轮(13),大齿轮(13)固定连接摆轴(14),摆轴(14)右端轴承转动连接装置本体(1)侧壁,摆轴(14)左端轴承转动连接立板(5)下部,且摆轴(14)下方固定连接摆杆(15),摆杆(15)下端轴承转动连接环形切割刀(17)右侧面,环形切割刀(17)左侧面通过同步带(16)连接主动轴(4)。 
 
要求:
 
1.一种牧草自动进料切割一体装置,包括装置本体(1)、驱动电机(2)、环形切割刀(17)和工作台(18),其特征在于,所述装置本体(1)内部左侧上方设置驱动电机(2),驱动电机(2)右侧转动连接蜗杆(3);所述蜗杆(3)右端固定连接主动轴(4),主动轴(4)右端轴承转动连接立板(5)下部,主动轴(4)右部两侧分别固定连接有半圆锥齿轮(6),半圆锥齿轮(6)一半有齿一半无齿,且左右两侧的半圆锥齿轮(6)有齿部分相互错开,左右两侧的半圆锥齿轮(6)上部设置有第一锥齿轮(7),第一锥齿轮(7)啮合半圆锥齿轮(6)有齿部分,第一锥齿轮(7)上端中央固定连接从动轴(8),从动轴(8)上端轴承转动连接装置本体(1);所述从动轴(8)上部固定连接第二锥齿轮(9),第二锥齿轮(9)啮合第三锥齿轮(10),第三锥齿轮(10)固定连接副轴(11);
 
所述副轴(11)右侧固定连接小齿轮(12),小齿轮(12)下部啮合大齿轮(13),大齿轮(13)固定连接摆轴(14),摆轴(14)右端轴承转动连接装置本体(1)侧壁,摆轴(14)左端轴承转动连接立板(5)下部,且摆轴(14)下方固定连接摆杆(15),摆杆(15)下端轴承转动连接环形切割刀(17)右侧面,环形切割刀(17)左侧面通过同步带(16)连接主动轴(4)。
 
2.根据权利要求1所述的一种牧草自动进料切割一体装置,其特征在于,所述蜗杆(3)下部啮合蜗轮(21)。
 
3.根据权利要求2所述的一种牧草自动进料切割一体装置,其特征在于,所述蜗轮(21)转动连接吊杆(20)中部,吊杆(20)上端固定连接装置本体(1),吊杆(20)下端转动连接进料轮(23),进料轮(23)通过链条(22)与蜗轮(21)连接,且装置本体(1)内固定连接工作台(18),工作台(18)左端连接进料槽(19)。
 
4.根据权利要求2所述的一种牧草自动进料切割一体装置,其特征在于,所述蜗轮(21)侧面设置有齿牙,蜗轮(21)转动连接装置本体(1),蜗轮(21)左下方设置有扒辊,扒辊表面具有多个耙齿,且蜗轮(21)的齿牙啮合扒辊侧面,扒辊下部设置有工作台(18),工作台(18)固定连接装置本体(1),工作台(18)左端连接进料槽(19)。
 
5.根据权利要求3或4所述的一种牧草自动进料切割一体装置,其特征在于,所述工作台(18)右部下方设置有导向板(25),导向板(25)与装置本体(1)固定连接,装置本体(1)底部连通出料口(26)。
 
6.根据权利要求1所述的一种牧草自动进料切割一体装置,其特征在于,所述装置本体(1)下端两侧对称设置有支腿(27)。
 
7.根据权利要求1所述的一种牧草自动进料切割一体装置,其特征在于,所述驱动电机(2)通过电机基座螺栓固定连接于装置本体(1)内壁。
 
8.根据权利要求1所述的一种牧草自动进料切割一体装置,其特征在于,所述从动轴(8)下部套接支撑杆左端,支撑杆右端固定连接立板(5)。
 
9.根据权利要求1-8任一所述的一种牧草自动进料切割一体装置,其特征在于,所述驱动电机(2)导线连接电源和开关。
 
一种牧草自动进料切割一体装置
技术领域
 
本发明涉及一种畜牧业加工设备,具体是一种牧草自动进料切割一体装置。
 
背景技术
 
畜牧业,是利用畜禽等已经被人类驯化的动物,或者鹿、麝、狐、貂、水獭、鹌鹑等野生动物的生理机能,通过人工饲养、繁殖,使其将牧草和饲料等植物能转变为动物能,以取得肉、蛋、奶、羊毛、山羊绒、皮张、蚕丝和药材等畜产品。
 
目前在畜禽喂养过程中往往通过喂食牧草进行养殖,但是自然的牧草一般都较长,需要将牧草先行切碎割断后再喂食,细碎的牧草更有助于畜禽的吸收以加快其生长,但是现有的牧草的切碎工艺大多依靠人工切碎,切割效率低下。
 
发明内容
 
本发明的目的在于提供一种牧草自动进料切割一体装置,以解决上述背景技术中提出的问题。
 
为实现上述目的,本发明提供如下技术方案:
 
一种牧草自动进料切割一体装置,包括装置本体、驱动电机、环形切割刀和工作台,所述装置本体内部左侧上方设置驱动电机,驱动电机右侧转动连接蜗杆;所述蜗杆右端固定连接主动轴,主动轴右端轴承转动连接立板下部,主动轴右部两侧分别固定连接有半圆锥齿轮,半圆锥齿轮一半有齿一半无齿,且左右两侧的半圆锥齿轮有齿部分相互错开,左右两侧的半圆锥齿轮上部设置有第一锥齿轮,第一锥齿轮啮合半圆锥齿轮有齿部分,第一锥齿轮上端中央固定连接从动轴,从动轴上端轴承转动连接装置本体;所述从动轴上部固定连接第二锥齿轮,第二锥齿轮啮合第三锥齿轮,第三锥齿轮固定连接副轴;
 
所述副轴右侧固定连接小齿轮,小齿轮下部啮合大齿轮,大齿轮固定连接摆轴,摆轴右端轴承转动连接装置本体侧壁,摆轴左端轴承转动连接立板下部,且摆轴下方固定连接摆杆,摆杆下端轴承转动连接环形切割刀右侧面,环形切割刀左侧面通过同步带连接主动轴。
 
作为本发明进一步的方案:所述蜗杆下部啮合蜗轮。
 
作为本发明再进一步的方案:所述蜗轮转动连接吊杆中部,吊杆上端固定连接装置本体,吊杆下端转动连接进料轮,进料轮通过链条与蜗轮连接,且装置本体内固定连接工作台,工作台左端连接进料槽。
 
作为本发明再进一步的方案:所述蜗轮侧面设置有齿牙,蜗轮转动连接装置本体,蜗轮左下方设置有扒辊,扒辊表面具有多个耙齿,且蜗轮的齿牙啮合扒辊侧面,扒辊下部设置有工作台,工作台固定连接装置本体,工作台左端连接进料槽。
 
作为本发明再进一步的方案:所述工作台右部下方设置有导向板,导向板与装置本体固定连接,装置本体底部连通出料口。
 
作为本发明再进一步的方案:所述装置本体下端两侧对称设置有支腿。
 
作为本发明再进一步的方案:所述驱动电机通过电机基座螺栓固定连接于装置本体内壁。
 
作为本发明再进一步的方案:所述从动轴下部套接支撑杆左端,支撑杆右端固定连接立板。
 
作为本发明再进一步的方案:所述驱动电机导线连接电源和开关。
 
与现有技术相比,本发明的有益效果是:该装置通过两侧的半圆锥齿轮有齿部分往复啮合第一锥齿轮带动锥齿轮和从动轴往复正反转,其中,小齿轮和大齿轮带动摆轴和摆杆往复前后摆动进而带动环形切割刀往复摆动,同时,转动的主动轴通过同步带带动环形切割刀转动切割,即环形切割刀一边转动一边摆动切割,实现对牧草的自动间歇切割功能,大大提高了牧草的切割效率。
 
附图说明
 
一种牧草自动进料切割一体装置
图1为牧草自动进料切割一体装置的结构示意图。
 
一种牧草自动进料切割一体装置
图2为牧草自动进料切割一体装置中小齿轮和大齿轮的右视图。
 
一种牧草自动进料切割一体装置
图3为牧草自动进料切割一体装置中进料槽的结构示意图。
 
一种牧草自动进料切割一体装置
图4为牧草自动进料切割一体装置中环形切割刀的左视图。
 
图中:1-装置本体;2-驱动电机;3-蜗杆;4-主动轴;5-立板;6-半圆锥齿轮;7-第一锥齿轮;8-从动轴;9-第二锥齿轮;10-第三锥齿轮;11-副轴;12-小齿轮;13-大齿轮;14-摆轴;15-摆杆;16-同步带;17-环形切割刀;18-工作台;19-进料槽;20-吊杆;21-蜗轮;22-链条;23-进料轮;24-加强筋;25-导向板;26-出料口;27-支腿。
 
具体实施方式
 
下面将结合本发明实施例中的附图,对本发明实施例中的技术方案进行清楚、完整地描述,显然,所描述的实施例仅仅是本发明一部分实施例,而不是全部的实施例。基于本发明中的实施例,本领域普通技术人员在没有做出创造性劳动前提下所获得的所有其他实施例,都属于本发明保护的范围。
 
实施例1
 
请参阅图1~4,本发明实施例中,一种牧草自动进料切割一体装置,包括装置本体1、驱动电机2、环形切割刀17和工作台18;所述装置本体1内部左侧上方设置驱动电机2,驱动电机2通过电机基座螺栓固定连接于装置本体1内壁,驱动电机2右侧转动连接蜗杆3,且驱动电机2导线连接电源和开关,按动开关使得驱动电机2通电工作带动蜗杆3转动;所述蜗杆3右端固定连接主动轴4,主动轴4右端轴承转动连接立板5下部,立板5上端固定连接装置本体1,主动轴4右部两侧分别固定连接有半圆锥齿轮6,半圆锥齿轮6一半有齿一半无齿,且左右两侧的半圆锥齿轮6有齿部分相互错开,左右两侧的半圆锥齿轮6上部设置有第一锥齿轮7,第一锥齿轮7啮合半圆锥齿轮6有齿部分,第一锥齿轮7上端中央固定连接从动轴8,从动轴8上端轴承转动连接装置本体1,从动轴8下部套接支撑杆左端,支撑杆右端固定连接立板5,转动的蜗杆3带动主动轴4跟随转动进而驱动两侧的半圆锥齿轮6跟随转动,左右两侧的半圆锥齿轮6有齿部分往复啮合第一锥齿轮7带动锥齿轮7和从动轴8往复正反转;所述从动轴8上部固定连接第二锥齿轮9,第二锥齿轮9啮合第三锥齿轮10,第三锥齿轮10固定连接副轴11,其中,副轴11穿过立板5并与之转动连接,副轴11右端轴承转动连接装置本体1右侧壁,往复正反转的从动轴8通过第二锥齿轮9和第三锥齿轮10带动副轴11往复正反转。
 
所述副轴11右侧固定连接小齿轮12,小齿轮12下部啮合大齿轮13,大齿轮13固定连接摆轴14,摆轴14右端轴承转动连接装置本体1侧壁,摆轴14左端轴承转动连接立板5下部,且摆轴14下方固定连接摆杆15,摆杆15下端轴承转动连接环形切割刀17右侧面,环形切割刀17左侧面通过同步带16连接主动轴4,副轴11通过小齿轮12和大齿轮13带动摆轴14和摆杆15往复前后摆动进而带动环形切割刀17往复摆动,同时,转动的主动轴4通过同步带16带动环形切割刀17转动切割,即环形切割刀17一边转动一边摆动切割。
 
所述蜗杆3下部啮合蜗轮21,蜗轮21转动连接吊杆20中部,吊杆20上端固定连接装置本体1,吊杆20下端转动连接进料轮23,进料轮23通过链条22与蜗轮21连接,且装置本体1内固定连接工作台18,工作台18左端连接进料槽19,工作台18右侧下部通过加强筋24与装置本体1侧壁固定连接,具体来说,进料槽19位于装置本体1外部,通过进料槽19向工作台18上添加草料,转动的进料轮23带动草料沿工作台18自左向右移动送料;所述工作台18右部下方设置有导向板25,导向板25与装置本体1固定连接,装置本体1底部连通出料口26,且装置本体1下端两侧对称设置有支腿27,经环形切割刀17切碎的草料从导向板25落下并由出料口26排出,实现送料切割出料一体工作,大大提高了草料的加工效率。
 
实施例2
 
请参阅图1~4,本发明实施例中,一种牧草自动进料切割一体装置,包括装置本体1、驱动电机2、环形切割刀17和工作台18;所述装置本体1内部左侧上方设置驱动电机2,驱动电机2通过电机基座螺栓固定连接于装置本体1内壁,驱动电机2右侧转动连接蜗杆3,且驱动电机2导线连接电源和开关,按动开关使得驱动电机2通电工作带动蜗杆3转动;所述蜗杆3右端固定连接主动轴4,主动轴4右端轴承转动连接立板5下部,立板5上端固定连接装置本体1,主动轴4右部两侧分别固定连接有半圆锥齿轮6,半圆锥齿轮6一半有齿一半无齿,且左右两侧的半圆锥齿轮6有齿部分相互错开,左右两侧的半圆锥齿轮6上部设置有第一锥齿轮7,第一锥齿轮7啮合半圆锥齿轮6有齿部分,第一锥齿轮7上端中央固定连接从动轴8,从动轴8上端轴承转动连接装置本体1,从动轴8下部套接支撑杆左端,支撑杆右端固定连接立板5,转动的蜗杆3带动主动轴4跟随转动进而驱动两侧的半圆锥齿轮6跟随转动,左右两侧的半圆锥齿轮6有齿部分往复啮合第一锥齿轮7带动锥齿轮7和从动轴8往复正反转;所述从动轴8上部固定连接第二锥齿轮9,第二锥齿轮9啮合第三锥齿轮10,第三锥齿轮10固定连接副轴11,其中,副轴11穿过立板5并与之转动连接,副轴11右端轴承转动连接装置本体1右侧壁,往复正反转的从动轴8通过第二锥齿轮9和第三锥齿轮10带动副轴11往复正反转。
 
所述副轴11右侧固定连接小齿轮12,小齿轮12下部啮合大齿轮13,大齿轮13固定连接摆轴14,摆轴14右端轴承转动连接装置本体1侧壁,摆轴14左端轴承转动连接立板5下部,且摆轴14下方固定连接摆杆15,摆杆15下端轴承转动连接环形切割刀17右侧面,环形切割刀17左侧面通过同步带16连接主动轴4,副轴11通过小齿轮12和大齿轮13带动摆轴14和摆杆15往复前后摆动进而带动环形切割刀17往复摆动,同时,转动的主动轴4通过同步带16带动环形切割刀17转动切割,即环形切割刀17一边转动一边摆动切割。
 
所述蜗杆3下部啮合蜗轮21,蜗轮21侧面设置有齿牙,蜗轮21转动连接装置本体1,蜗轮21左下方设置有扒辊,扒辊表面具有多个耙齿,且蜗轮21的齿牙啮合扒辊侧面,扒辊下部设置有工作台18,工作台18固定连接装置本体1,工作台18左端连接进料槽19,工作台18右侧下部通过加强筋24与装置本体1侧壁固定连接,具体来说,进料槽19位于装置本体1外部,通过进料槽19向工作台18上添加草料,转动的扒辊带动草料沿工作台18自左向右移动送料;所述工作台18右部下方设置有导向板25,导向板25与装置本体1固定连接,装置本体1底部连通出料口26,且装置本体1下端两侧对称设置有支腿27,经环形切割刀17切碎的草料从导向板25落下并由出料口26排出,实现送料切割出料一体工作,大大提高了草料的加工效率。
 
本发明的工作原理是:按动开关使得驱动电机2通电工作带动蜗杆3转动,转动的蜗杆3带动主动轴4跟随转动进而驱动两侧的半圆锥齿轮6跟随转动,左右两侧的半圆锥齿轮6有齿部分往复啮合第一锥齿轮7带动锥齿轮7和从动轴8往复正反转,往复正反转的从动轴8通过第二锥齿轮9和第三锥齿轮10带动副轴11往复正反转,副轴11通过小齿轮12和大齿轮13带动摆轴14和摆杆15往复前后摆动进而带动环形切割刀17往复摆动,同时,转动的主动轴4通过同步带16带动环形切割刀17转动切割,即环形切割刀17一边转动一边摆动切割,通过进料槽19向工作台18上添加草料,转动的进料轮23带动草料沿工作台18自左向右移动送料,经环形切割刀17切碎的草料从导向板25落下并由出料口26排出,实现送料切割出料一体工作,大大提高了草料的加工效率。
 
需要特别说明的是,本申请中驱动电机为现有技术的应用,利用摆轴摆动带动切割刀摆动,同时主动轴带动切割刀转动切割,实现对草料的间歇切割为本申请的创新点,其有效解决了现有草料切割效率低问题。
 
对于本领域技术人员而言,显然本发明不限于上述示范性实施例的细节,而且在不背离本发明的精神或基本特征的情况下,能够以其他的具体形式实现本发明。因此,无论从哪一点来看,均应将实施例看作是示范性的,而且是非限制性的,本发明的范围由所附权利要求而不是上述说明限定,因此旨在将落在权利要求的等同要件的含义和范围内的所有变化囊括在本发明内。不应将权利要求中的任何附图标记视为限制所涉及的权利要求。
 
此外,应当理解,虽然本说明书按照实施方式加以描述,但并非每个实施方式仅包含一个独立的技术方案,说明书的这种叙述方式仅仅是为清楚起见,本领域技术人员应当将说明书作为一个整体,各实施例中的技术方案也可以经适当组合,形成本领域技术人员可以理解的其他实施方式。
 
Copyright © 宁波鄞州盖奇同步带轮有限公司 2007-2022 All Rights Reserved.
电话:4006-574-123/0574-27834692 传真:0574-27834691
地址:浙江省宁波市鄞州区姜山镇蔡郎桥村姜南路39-2 E-Mail:sales@belt-pulley.com  
浙ICP备09102982号 盖奇公司网络部提供技术支持 浙公网安备33021202003319号