发明内容
本发明具有如下优点: ( l )采用同步齿形带带动四套研磨卡具作自转和公转的行星运动,实现工件的研磨运动,代替行星齿轮传动; ( 2 )中心同步带轮与从动同步带轮齿数不同时,工件研磨表面相对研磨盘的运动轨迹不同;两者相等时,研磨头带动工件作平面回转运动,工件研磨表面各点的运动轨迹相同。
本发明为一种四工位的同步带传动平面研磨机,该机采用同步齿形带传动代替目前采用的齿轮传动,实现研磨工件的行星运动轨迹,能够实现大回转半径的研磨,提高工件的研磨效率;同时可以减轻整机重量,降低噪声、振动,省去齿轮的润滑过程,避免润滑剂泄漏对研磨剂和环境造成的污染。该研磨机适用于轻型、高速、大回转半径的研磨加工中。
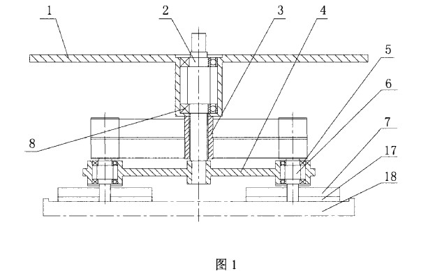
本发明的同步带传动四工位平面研磨机包括机架 1 、主轴 2 、中心同步带轮 3 、回转盘 4 、同步齿形带 9 、 11 、 12 、 15 、四套研磨卡具组件等组成,四套研磨卡具沿圆周均布在回转盘 4 上。中心同步带轮 3 固定在机架 1 下部。主轴 2 通过滚动轴承 8 支承在机架 1 的座孔内,回转盘 4 固定在主轴 2 下端。每套研磨卡具组件由从动同步带轮、轴 6 、卡具 7 组成,通过滚动轴承 5 支承在回转盘 4 上。中心同步带轮 3 通过同步齿形带 9 、 n 分别与第一从动同步带轮 16 、第三从动同步带轮 13 相联,第一从动同步带轮 16 、第三从动同步带轮 13 通过同步齿形带 15 、 12 分别与第二从动同步带轮 14 、第四从动同步带轮 10 相联。
技术领域
本发明涉及一种平面研磨机,尤其是同步带传动四工位研磨机。
背景技术
超精密平面研磨技术在精密加工、超精密加工领域内占据着举足轻重的地位,几乎适合于各种材料的加工,可以得到很高的尺寸精度和形状精度,甚至可以达到加工精度的极限,研磨装置简单,不需要大量复杂的机械,并且不苛求设备的精度条件。研磨加工应用十分广泛,成为机械密封的密封环、液压及气动控制件、单晶硅片、制作激光唱片、 vCD 光盘的模具、量块工作面、电动机零件甚至以大规模集成电路为主的电子元件等零件精密加工的关键技术。
目前,进行精密平面研磨的设备通常采用圆柱齿轮机构传动实现工件的行星运动,存在重量大、振动噪声强烈等问题,特别是对于大回转半径的研磨机,由于所需圆柱齿轮直径很大,造成整机重量很大,导致能量损耗高:而且,齿轮润滑所用的润滑剂也会对研磨液造成污染。
附图说明
图 1 是本发明的同步带传动四工位平面研磨机整体结构原理图;
图 2 是本发明的同步带传动四工位平面研磨机的同步带关系图。
具体实施方式本
工作时,外部电机驱动主轴 2 带着回转盘 4 ,在机架 1 座孔内绕着主轴 2 中心线旋转。回转盘 4 带着四套研磨卡具组件绕着中心同步带轮 3 回转,第一从动同步带轮、第三从动同步带轮在同步齿形带 9 、 11 带动下绕着自己的轴线自转,同时绕着中心同步带轮公转。第二从动同步带轮二、第四从动同步带轮在同步齿形带 15 、 12 带动下绕着自己的轴线自转,同时也绕着中心同步带轮公转。研磨工件 17 安装在研磨卡具 7 上,绕着自己的轴线自转,同时绕着主轴 2 的轴线公转,工件需要研磨的平面与研磨盘 18 接触进行研磨。
发明的同步带传动四工位平面研磨机包括机架 1 、主轴 2 、中心同步带轮 3 、回转盘 4 、同步齿形带 9 、 11 、 12 、 15 、四套研磨卡具组件等组成,四套研磨卡具沿圆周均布在回转盘 4 上。中心同步带轮 3 固定在机架 1 下部。主轴 2 通过滚动轴承 8 支承在机架 1 的座孔内,回转盘 4 固定在主轴 2 下端。每套研磨卡具组件由从动同步带轮、轴 6 、卡具 7 组成,通过滚动轴承 5 支承在回转盘 4 上。中心同步带轮 3 通过同步齿形带 9 、 11 分别与第一从动同步带轮 16 、第三从动同步带轮 13 相联,第一从动同步带轮 16 、第三从动同步带轮 13 通过同步齿形带 15 、 12 分别与第二从动同步带轮 14 、第四从动同步带轮 10 相联。


要求:
摘要:
一种同步带传动四工位平面研磨机,包括机架 ( l )、主轴( 2 )、中心同步带轮( 3 )、回转盘( 4 )、同步齿形带( 9 ; 11 ; 12 ; 15 )、四套研磨卡具组件,所述每套研磨卡具组件由从动同步带轮( 16 ; 14 ; 13 ; 10 )、轴( 6 )、卡具( 7 )组成,中心同步带轮( 3 ) 通过同步齿形带( 9 )、( 11 )分别与第一、第三从动同步轮( 16 )、( 13 )相联,第一、第三从动同步轮( 16 )、( 13 )通过同步带( 15 )、( 12 )分别与第二、第四从动同步带轮( 14 )、( 10 )相联。实现了研磨工件的行星运动轨迹,提高工件的研磨效率;同时可以减轻整机重量,降低噪声、振动,避免润滑剂泄漏对研磨剂和环境造成的污染。

