【申请号 200920054098.3;专利权人:刘应端;发明人:刘应端】
发明内容
本实用新型的目的是:提供一种折叠式自行车的同步传动机构,它不仅可有效地克服现有技术中的不足,可方便地使后叉架绕车架在水平内旋转,而且可防止驱动装置弄脏人的衣服。
本实用新型是这样实现的:一种折叠式自行车的同步带传动机构,其特征在于:它包括驱动装置和传动装置;
本实用新型一种折叠式自行车的同步带传动机构,由于采用这样的结构,在使用时,传动装置安装在车架外侧,当后叉架在水平面内,向外侧转动时,传动装置的传动同步带,可折叠、弯曲。克服现有技术中链条只能在垂直面内绕轴卷曲,不能在水平面内折弯的缺陷;驱动装置安装在车架的内侧,不需要使用润滑油,能防止在操作、折叠过程中弄脏衣服。
所述驱动装置包括带同步齿的轮盘、从动同步齿轮和驱动同步带构成;
所述传动装置包括带同步齿的传动轮、带同步齿的超越式驱动轮和传动同步带;
从动同步齿轮与带同步齿的传动轮固定在一转轴上;
所述带同步齿的超越式驱动轮由带同步齿的外轮、内轮盘、棘爪和扭簧构成。
技术领域
本实用新型涉及一种折叠式自行车的装置,尤其是一种折叠式自行车的传动机构。
背景技术
目前现有技术,一种折叠式自行车的传动机构由主动轮、超越式的飞轮和链条,所述所述超越式的飞轮由内轮、外轮、棘爪和扭簧构成。存在问题是:使用该传动机构的折叠自行车,其后叉架不能绕车架、在水平面内旋转。
附图说明图
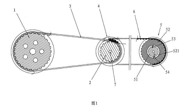
1 是本实用新型的主视图。
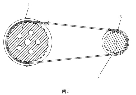
图 2 是本实用新型驱动装置的主视图。
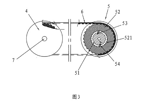
图 3 是本实用新型传动装置的主视图。



具体实施方式
下面结合附图对本实用新型作进一步描述。
如图 1 所示,一种折叠式自行车的同步传动机构,其特征在于:它包括驱动装置和传动装置;
如图 2 所示,所述驱动装置包括带同步齿的轮盘 1 、从动同步齿轮 2 和驱动同步带 3 构成;
如图 3 所示,所述传动装置包括带同步齿的传动同步带轮 4 、带同步齿的超越式驱动轮 5 和传动同步带 6 ;
从动同步齿轮 2 与带同步齿的传动轮 4 固定在一转轴 7 上;转轴 7 与车架枢接。
所述带同步齿的超越式驱动轮 5 由带同步齿的外轮 52 、内轮盘 51 、棘爪 54 和扭簧 53 构成。
摘要:
一种折叠式自行车的同步带传动机构,其特征在于:它包括驱动装置和传动装置;所述驱动装置包括带同步齿的轮盘、从动同步齿轮和驱动同步带构成;所述传动装置包括带同步齿的传动轮、带同步齿的超越式驱动轮和传动同步带;从动同步齿轮与带同步齿的传动轮固定在一转轴上;所述带同步齿的超越式驱动轮由带同步齿的外轮、内轮盘、棘爪和扭簧构成。由于采用这样的结构,在使用时,传动装置安装在车架外侧,当后叉架在水平面内,向外侧转动时,传动装置的传动同步带,可折叠、弯曲。克服现有技术中链条只能在垂直面内绕轴卷曲,不能在水平面内折弯的缺陷;驱动装置安装在车架的内侧,不需要使用润滑油,能防止在操作、折叠过程中弄脏衣服。

1 、一种折叠式自行车的同步带传动机构,其特征在于:它包括驱动装置和传动装置;
从动同步齿轮与带同步齿的传动轮固定在一转轴上;
所述带同步齿的超越式驱动轮由带同步齿的外轮、内轮盘、棘爪和扭簧构成。
所述驱动装置包括带同步齿的轮盘、从动同步齿轮和驱动同步带构成;
所述传动装置包括带同步齿的传动轮、带同步齿的超越式驱动轮和传动同步带;
