【申请号: 201120104655 . 5;发明人 :唐灼林;专利权人:广东东方精工科技股份有限公司】
实用新型内容
本实用新型要解决的技术问题是提供一种完成纸箱开槽(模切)后,可对纸箱进行自动折叠成形的多轮成形机构。
根据纸板的尺寸规格通过滚珠丝杆调节左、右横梁之间的间距,使成形轮机构到达合适的位置,在风箱的吸力作用下,开槽(模切)后的纸板被吸在输送皮带下,由传动轴带动输送皮带把纸板往前输送,经导向板,沿着纸板的开槽(模切)线,把纸板输送到成形轮,成形轮由传动轴通过传动装置带动转动,利用成形轮凸缘的斜面对纸板进行折叠,并且利用成形轮的斜面逐个趋向平坦,来逐渐对纸板进行折叠并最终成形,同时把预先涂有粘合剂的接口粘合起来。
为解决上述技术问题所采用的技术方案:一种纸箱多轮成形机构,包括有机架左、右墙板,左、右横梁,主电机、电机座、同步带轮、同步带、振动轴、齿轮箱、传动轴、成形轮机构、左、右支架,其特征在于:在所述机架左、右墙板上通过轴承安装有振动轴、传动轴;机架左、右墙板之间通过滚珠丝杆安装有左、右支架,左、右横梁固定在左、右支架上,在左、右横梁上通过连接座安装有成形轮机构;在机架右墙板上安装有电机座,主电机安装在电机座上通过同步带轮、同步带、振动轴带动齿轮箱转动,齿轮箱再带动安装在传动轴上的同步带轮、同步带将动力传递给成形轮机构;成形轮机构包括有轮座、风机、与风机连接的风箱、成形轮、同步带轮、张紧轮、同步带、输送皮带、导向板,成形轮机构的传动装置通过安装座安装在横梁上,传动轴通过同步带将动力传到传动装置的输入轴,传动装置的输出轴通过同步带将动力传到成形轮的同步带轮;在所述轮座上顺着纸箱输送方向设有多个成形轮,多个成形轮之间通过同步带轮和同步带依次
相连,由传动装置传动实现多个成形轮的同步传动,所述成形轮的外周面形成具有斜面的凸缘,顺着纸箱输送方向成形轮凸缘的斜面倾斜角度依次逐渐趋于平直。
所述由多个成形轮构成的成形轮机构的传动装置采用一个动力源实现传动,通过同步带轮、同步带来驱动整个机构的同步转动。
采用本实用新型所带来的有益效果:本实用新型纸箱多轮成形机构可以实现自动对印刷、开槽(模切)后的纸板进行折叠成形并进行粘合,与前道印刷、开槽(模切)设备组成流水作业线,减少人工操作,提高工作效率和提高纸箱的
加工质量。
技术领域
本实用新型涉及纸箱机械技术领域,尤其是涉及到可将纸箱折叠成形的成形机构。
技术背景
纸板在完成印刷、开槽(模切)后要按纸箱成形的要求折叠起来,将接口粘合,一个完整的纸箱加工才得以完成。传统的加工方法是在纸板印刷、开槽(模切)后,将印好的纸板运到另一工作位置,由人工进行折叠成形,再用钉箱机将
接口钉合在一起。这样的加工工艺不能形成印刷、成形、粘合、打包自动化的流水线,并且需要较多的人工操作,工作效率也不高。

图1为本实用新型纸箱多轮成形机构的结构示意图;

图2为本实用新型成形轮机构对纸板进行折叠于起始时的示意图;

图3为本实用新型成形轮机构对纸板进行折叠于中段时的示意图;

图4为本实用新型成形轮机构对纸板进行折叠于后段时的示意图。
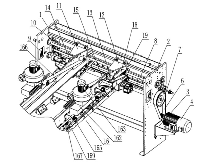
如图1~4所示,本实用新型的纸箱多轮成形机构,包括有机架左、右墙板1、2,左、右横梁14、15,主电机4、电机座3、同步带轮7、同步带6、振动轴8、齿轮箱9、传动轴10、成形轮机构16、左、右支架11、12。在所述机架左、右墙板1、2上通过轴承安装有振动轴8、传动轴10;机架左、右墙板1、2之间通过滚珠丝杆安装有左、右支架11、12,左、右横梁14、15固定在左、右支架11、12上,在左、右横梁14、15上通过连接座安装有成形轮机构16;在
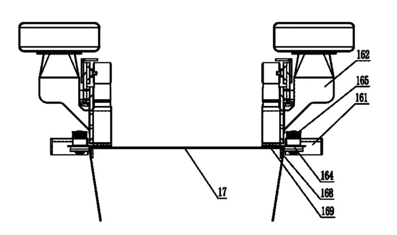
机架右墙板2上安装有电机座3,主电机4安装在电机座3上通过同步带轮7、同步带6、振动轴8带动齿轮箱9转动,齿轮箱9再带动安装在传动轴10上的同步带轮19、同步带18将动力传递给成形轮机构16;成形轮机构16包括有轮座161、风机163、与风机163连接的风箱162、成形轮164、同步带轮165、张紧轮167、同步带169、输送皮带166、导向板168,成形轮机构16的传动装置13通过安装座安装在横梁15上,传动轴10通过同步带18将动力传到传动装置13的输入轴,传动装置13的输出轴通过同步带169将动力传到成形轮164的同步带轮165;在所述轮座161上沿着纸箱输送方向设有多个成形轮,多个成形轮
之间通过同步带轮和同步带依次相连,由传动装置13传动实现多个成形轮的同步传动,所述成形轮的外周面形成具有斜面的凸缘,顺着纸箱输送方向成形轮凸缘的斜面倾斜角度依次逐渐趋于平直。
根据纸板的尺寸规格通过滚珠丝杆调节左、右横梁14、15之间的间距,使成形轮机构16到达合适的位置,在风箱162的吸力作用下,开槽(模切)后的纸板17被吸在输送皮带166下,由传动轴10带动输送皮带166把纸板17往前输送,经导向板168,沿着纸板17的开槽(模切)线,把纸板17输送到成形轮164,成形轮164由传动轴10通过传动装置13带动转动,利用成形轮164凸缘的斜面对纸板17进行折叠,并且利用成形轮164的斜面逐个趋于平直,来逐渐对纸板17进行折叠并最终成形,同时把预先涂有粘合剂的接口粘合起来。
摘要:
2、根据权利要求1所述的一种纸箱多轮成形机构,其特征在于:所述由多个成形轮构成的成形轮机构(16)的传动装置(13)采用一个动力源实现传动通过同步带轮、同步带来驱动整个机构的同步转动。
1、一种纸箱多轮成形机构,包括有机架左、右墙板(1、2),左、右横梁(14、15),主电机(4)、电机座(3)、同步带轮(7)、同步带(6)、振动轴(8)、齿轮箱(9)、传动轴(20)、成形轮机构(16)、左、右支架(11、12),其特征在于:在所述机架左、右墙板(1、2)上通过轴承安装有振动轴(8)、传动轴(20);机架左、右墙板(1、2)之间通过滚珠丝杆安装有左、右支架(11、12),左、右横梁(14、15)固定在左、右支架(11、12)上,在左、右横梁(14、15)上通过连接座安装有成形轮机构(16);在机架右墙板(2)上安装有电机座(3),主电机(4)安装在电机座(3)上通过同步带轮(7)、同步带(6)、振动轴(8)带动齿轮箱(9)转动,齿轮箱(9)再带动安装在传动轴(20)上的同步带轮(19)、同步带(18)将动力传递给成形轮机构(16);成形轮机构(16)包括有轮座(161)、风机(163)、与风机(163)连接的风箱(162)、成形轮(164)、同步带轮(165)、张紧轮(167)、同步带(169)、输送皮带(166)、导向板(168),成形轮机构(16)的传动装置(13)通过安装座安装在横梁(15)上,传动轴(20)通过同步带(18)将动力传到传动装置(13)的输入轴,传动装置(13)的输出轴通过同步带(169)将动力传到成形轮(164)的同步带轮(165);在所述轮座(161)上沿着纸箱输送方向设有多个成形轮,多个成形轮之间通过同步带轮和同步带依次相连,由传动装置(13)传动实现多个成形轮的同步传动,所述成形轮的外周面形成具有斜面的凸缘,顺着纸箱输送方向成形轮凸缘的斜面倾斜角度依次逐渐趋于平直。
