【申请号:97246504.9 ;专利权人:李林生; 设计人:李林生】
说明书
本实用新型涉及一种棉花收获用农具,尤其是一种手持式电动力从成熟的棉桃上摘取棉花的农具。
本实用新型的发明目的在于,提出一种结构简便性能可靠之手持式摘棉机。
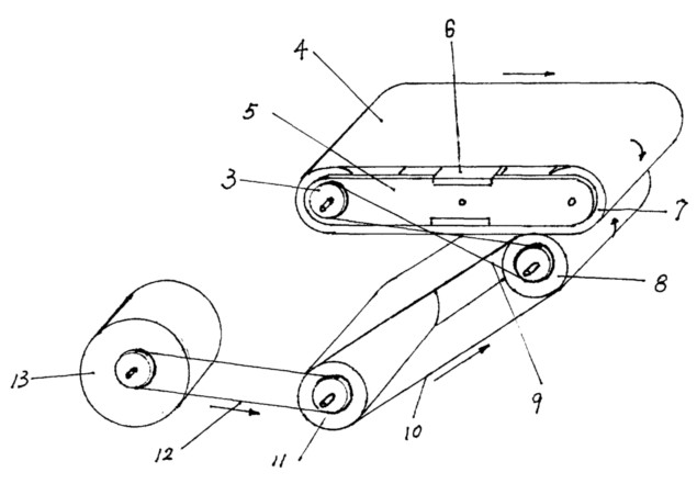
本实用新型的发明目的是通过这样的技术措施实现的:上支撑辊3,托辊8,下支撑辊11的两端分别固定于壳体1两侧壁上,上支撑辊3两侧铰接活动托架5,两侧的活动托架5的另一端分别与舌辊7的两端联接,中部固定有定位桁架6,上支撑辊3与舌辊7通过舌带4 联接,活动托架5可与舌辊7一起上下移动,托辊8与下支撑辊11通过传送带10联接,下支撑辊11一侧与电动机13的动力轴通过动力输出带12联接,开关2与电动机13连接。
公知技术中,摘棉机主要为大型盲摘式机械,摘棉机理以盲摘后分选或真空吸选为主,除因机械性能难以提高到大规模应用之水准外,棉花株型及成熟程度分布不均匀也使这一 类装置的实用性相对不足,小型手持式摘棉机有采用吸入式或刷滚剥离式机理之方案,性能不够可靠,结构较复杂,仅处于试验过程中。
以下通过附图和实施例对本实用新型进一步说明

图1是本实用新型的一种实施例示意图。

图2是本实用新型一种实施例工作部分结构示意图。
本实用新型主要包括,壳体1、开关2、上支撑辊3、舌带4、活动托架5、定位桁架6、舌辊7、托辊8、同步传动带9、传送带10、下支撑辊11、动力输出带12、电动机13。
作为本实用新型的一种实施例:
本实用新型的另一种实施例是这样的,上支撑辊3位于托辊8和下支撑辊11的下方。
本实用新型结构简便,重量约300-400克,电机功率3~5瓦,使用可靠,制造成本降低,比手工操作时的劳动强度明显降低,每一摘棉动作所需平均时间,移动路径显著缩短,使用后摘棉工效成倍提高,做为改善目前手工摘棉技术水平,已具有推广实用之前景。在高工效全自动摘棉机器采用之前,该实用新型方案应属较为理想之选择。
上支撑辊3,托辊8,下支撑辊11的两端分别固定于壳体1两侧壁上,上支撑辊3两侧铰 接活动托架5,两侧的活动托架5的另一端分别与舌辊7的两端联接,中部固定有定位桁架 6,上支撑辊3与舌辊7通过舌带4联接,活动托架5可与舌辊7一起上下移动,托辊8与下支撑辊11通过传送带10联接,下支撑辊11一侧与电动机13的动力轴通过动力输出带12 联接,开关2与电动机13连接。舌辊7与托辊8直径基本一致,舌带4转动方向与传送带10 的转动方向相反,在舌辊7和托辊8接触部位的舌带4和传送带10的移动方向一致,并指 向上、下支撑辊3、11方向,同步传动皮带9具有一定弹性张力,除保持舌辊7与托辊8经常接触,所需之向下之力矩外,当较厚的棉花通过舌带4与传送带10接触位置之间隙时,舌辊 7可克服向下的力向上做调整方式的移动。
本实用新型的实施例在使用时将壳体1下方开口处与一棉花袋套接,将电动机13与外接便携电源相连接,将舌带4与传送带10相接触部位对准工作目标之棉桃中的棉花,按动开关2、电动机13启动,带动下支撑辊11逆时针转动,通过传送带10带动托辊8逆时针转动,托辊8通过同步传动带9带动上支撑辊3顺时针转动,进而上支撑辊3通过舌带4带动舌辊7顺时针转动,在舌辊7与托辊8相接近部位之舌带4和传送带10做相对运动,将目标棉花带离棉桃,经过舌辊7与托辊8相接触部位,并沿传送带10向下方移动,至落入棉花袋,释放开关2,将机器移至下一目标棉桃,进行下一次摘棉动作。
权利要求书
4、如权利要求1所述的摘棉机,其特征在于上支撑辊(3)位于托辊(8)和下支撑辊(11)上方。
5、如权利要求1所述的摘棉机,其特征在于上支撑辊(3)位于托辊(8)和下支撑辊(11)下方。
3、如权利要求1所述的摘棉机,其特征在于,舌带(4)转动方向与传送带(10)的转动方向相反,在舌辊(7)和托辊(8)接触部位的舌带(4)和传送带(10)的移动方向一致,并指向上、 下支撑辊(3)(11)方向。
1、一种摘棉机,主要包括壳体(1),开关(2),上支撑辊(3)舌带(4),活动托架(5),定位桁 架(6),舌辊(7),托辊(8),同步传动带(9),传送带(10),下支撑辊(11),动力输出带(12)和电 动机(13),其特征在于,上支撑辊(3),托辊(8),下支撑辊(11)的两端分别固定于壳体(1)两 侧壁上,上支撑辊(3)两侧铰接活动托架(5),两侧的活动托架(5)的另一端分别与舌辊(7)的 两端联接,中部固定有定位桁架(6),上支撑辊(3)与舌辊(7)通过舌带(4)联接,活动托架(5)可与舌辊(7)一起上下移动,托辊(8)与下支撑辊(11)通过传送带(10)联接,下支撑辊(11)一 侧与电动机(13)的动力轴通过动力输出带(12)联接,开关(2)与电动机(13)连接。
2、如权利要1所述的摘棉机,其特征在于,舌辊(7)与托辊(8)直径基本一致。
