【申请号:200920077484.4;专利权人:上海沃施园股份有限公司; 发明人 吴海林】
发明内容
针对以上缺陷,为了使园林工作者的工作效率更高,使用更方便,及为了使产品具有多功能用途,提高产品的利用率,本实用新型的目的在于设计一种多功能交流电动割草机,不仅满足主要的割草功能,同时可携带一台剪草机可用来修剪那些割草机不容易切割的地方的杂草。剪草机是充电式的,在割草的同时也可以充电,满足剪草机电池用完后不能修边的缺陷。
为了达到上述目的,本实用新型的技术方案是,
进一步,还包括一调高装置,调高装置为四连杆机构,包括二连动片、连杆、前后主轴、调节手柄及前后轮轴;二连动片一端分别连接于连杆两端;前后轮轴与二连动片另一端连接;前后主轴分别连接二连动片和另一侧的前后轮轴的固定片;调节手柄与连杆侧的前轮轴的连动片连接。
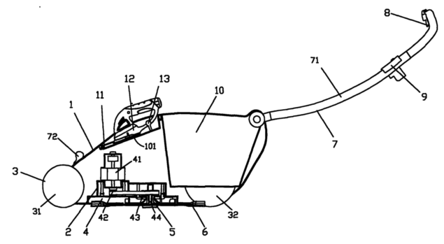
多功能交流电动割草机,其包括,主机壳,其内设置一固定架;行走部,设置于主机壳前后,包括两个前轮、后轮及轮轴;传动部,设置于主机壳固定架上,包括电机、连接电机的主动轮、通过同步传动带传动的传动轮;连接传动轮的刀片轴;风扇、直刀片,装设于刀片轴上;扶手,包括上手柄,下手柄;分别安装于主机壳后部和前部;开关及控制面板,设置于上手柄上;草篮,设置于主机壳后部。
本实用新型的优点是:
本实用新型割草机直接携带剪草机,当遇到割草机不能割到的地方,直接用剪草机修剪即可,不用第二次作业。本实用新型还具有结构简单实用、剪草机放置和取出容易等优点,具有较好的使用和推广价值。
所述的电机为串激电机。
另外,本实用新型还包括一支撑架,设置于主机壳前部,该主机壳前部设有一凹形容置空间,支撑架位于该凹形容置空间,直流剪草机、充电器设置于支撑架,并由一锁紧装置锁紧。方便放置、固定剪草机,可以灵活去出剪草机,并在割草的同时可以给剪草机充电。
技术领域
本实用新型涉及园林工具,特别涉及多功能交流电动割草机。
背景技术
随着国际、国内经济的发展,和人们生活水平的提高,城市绿化和运动场的绿化及家庭花园的面积增加,人们对园林机械产品的需求也逐年上升。同时对园林工具具有多功能的用途要求也越来越高。目前国内外的电动割草机普遍用途单一,只能切割平整和大面积的草地,不能同时修边和打墙角、树底下的杂草。如果是修整大面积的花园或草场,当遇到需要修边或打墙角的时候,还需要第二次作业,这样给园林工作者带来很多不便。
附图说明



权利要求书
1.多功能交流电动割草机,其特征是,其包括,
主机壳,其内设置一固定架;
行走部,设置于主机壳前后,包括两个前轮、后轮及轮轴;
传动部,设置于主机壳固定架上,包括电机、连接电机的主动轮、通过同步传动带传动的传动轮;连接传动轮的刀片轴;
风扇、直刀片,装设于刀片轴上;
扶手,包括上手柄,下手柄;分别安装于主机壳后部和前部;
开关及控制面板,设置于上手柄上;
草篮,设置于主机壳后部。
4.如权利要求1所述的多功能交流电动割草机,其特征是,还包括一支撑架,设置于主机壳前部,该主机壳前部设有一凹形容置空间,支撑架位于该凹形容置空间,直流剪草机、充电器设置于支撑架,并由一锁紧装置锁紧。
2.如权利要求1所述的多功能交流电动割草机,其特征是,还包括一调高装置,调高装置为四连杆机构,包括二连动片、连杆、前后主轴、调节手柄及前后轮轴;二连动片一端分别连接于连杆两端;前后轮轴与二连动片另一端连接;前后主轴分别连接二连动片和另一侧的前后轮轴的固定片;调节手柄与连杆侧的前轮轴的连动片连接。
3.如权利要求1所述的多功能交流电动割草机,其特征是,所述的电机为串激电机。
