当前位置:首页->一种上下活动的单向机构

 一种上下活动的单向机构

 【申请公布号:CN109384172A;申请权利人:深圳市元硕自动化科技有限公司;发明设计人:叶瑞龙;】
 
摘要:
 本发明公开了一种上下活动的单向机构,它涉及升降、平移装置技术领域。它包括托盘下移机构、托盘平移机构、托盘上移机构;所述托盘下移机构为对称的两组,托盘下移机构包括电机一、同步带轮一、同步带一、丝杆一、滑座板一、滑轨一、挡条一、气缸;所述托盘平移机构包括电机二、同步带轮二、同步带二、滑轨二、滑板、传动轴;所述托盘上移机构为对称的两组,托盘上移机构包括电机三、同步带轮三、同步带三、丝杆二、滑座板二、滑轨三、挡条二。本发明有益效果为:它通过丝杆传动,运行平稳,设有下移分离机构和上移止回机构,能够实现下移分离和上移止回功能,使用更便捷,稳定可靠,结构精巧。 
 
主权项:
 1.一种上下活动的单向机构,其特征在于包括托盘下移机构、托盘平移机构、托盘上移机构;所述托盘下移机构为对称的两组,托盘下移机构包括电机一、同步带轮一、同步带一、丝杆一、滑座板一、滑轨一、挡条一、气缸;所述托盘平移机构包括电机二、同步带轮二、同步带二、滑轨二、滑板、传动轴;所述托盘上移机构为对称的两组,托盘上移机构包括电机三、同步带轮三、同步带三、丝杆二、滑座板二、滑轨三、挡条二;所述托盘平移机构设在两组托盘下移机构和两组托盘上移机构的中间底部,托盘平移机构将托盘下移机构和托盘上移机构衔接。
 要求:
 1.一种上下活动的单向机构,其特征在于包括托盘下移机构、托盘平移机构、托盘上移机构;所述托盘下移机构为对称的两组,托盘下移机构包括电机一、同步带轮一、同步带一、丝杆一、滑座板一、滑轨一、挡条一、气缸;所述托盘平移机构包括电机二、同步带轮二、同步带二、滑轨二、滑板、传动轴;所述托盘上移机构为对称的两组,托盘上移机构包括电机三、同步带轮三、同步带三、丝杆二、滑座板二、滑轨三、挡条二;所述托盘平移机构设在两组托盘下移机构和两组托盘上移机构的中间底部,托盘平移机构将托盘下移机构和托盘上移机构衔接。
 
2.根据权利要求1所述的一种上下活动的单向机构,其特征在于所述电机一连接同步带轮一,同步带轮一连接同步带一,同步带轮一连接丝杆一,丝杆一通过丝杆螺母连接滑座板一,丝杆一两侧设有滑轨一,机构的两侧设有气缸和挡条一,气缸与挡条一连接。
 
3.根据权利要求1所述的一种上下活动的单向机构,其特征在于所述电机二通过联轴器与传动轴连接,传动轴的两端分别连接有同步带轮二,同步带轮二连接同步带二,同步带二上方设有滑轨二,滑轨二上设有滑板,滑板与同步带二通过连接块连接。
 
4.根据权利要求1所述的一种上下活动的单向机构,其特征在于所述电机三连接同步带轮三,同步带轮三连接同步带三,同步带轮三连接丝杆二,丝杆二通过丝杆螺母连接滑座板二,丝杆二两侧设有滑轨三,机构的两侧设有挡条二。
 
5.根据权利要求1所述的一种上下活动的单向机构,其特征在于所述托盘下移机构1由电机一11带动同步带轮一12使丝杆一14转动,带动与丝杆螺母连接的滑座板一15上下移动,实现托盘的平稳下移,机构两侧的气缸18在滑座板一15下移过程中为缩回状态,在托盘下移一个托盘位后,两侧气缸18伸出使两侧挡条一17顶住上层托盘不再下移,电机一11继续转动,下层托盘下移,下层托盘到达托盘平移机构2的滑板25上,实现上下料盘的分离。
 
6.根据权利要求1所述的一种上下活动的单向机构,其特征在于所述托盘平移机构2的电机二21通过联轴器与传动轴26连接,通过同步带滑轨机械实现滑板25的左右移动。
 
7.根据权利要求1所述的一种上下活动的单向机构,其特征在于所述托盘上移机构3由电机三31带动同步带结构使丝杆二34转动,带动与丝杆螺母连接的滑座板二35上下移动,实现托盘的平稳上移,当滑座板二35带动托盘上移到挡条二37位时,托盘顶开左右两挡条二37继续上移,越过挡条二37后挡条二37在重力的作用下回复原位,上移停止,电机三31反转滑座板二35下移,托盘落在左右两侧挡条二37上,实现上移止回。
 
一种上下活动的单向机构
技术领域
 本发明涉及升降、平移装置技术领域,具体涉及一种上下活动的单向机构。
 
背景技术
 升降机构是一种将货物升降到某一高度的升降设备,平移机构是一种将货物平移一端距离的平移设备。在工厂、自动仓库等物流系统中进行垂直输送时,升降平台上往往还装有各种平面输送设备,作为不同高度输送线的连接装置。一般采用液压驱动,故称液压升降台。
 
现有的升降和平移的机构结构复杂,运行时不够稳定,且不具备下移分离和上移止回功能,使用受限。
 
发明内容
 本发明的目的在于针对现有技术的缺陷和不足,提供一种结构简单、设计合理、使用方便的、上下活动的单向机构,它通过丝杆传动,运行平稳,设有下移分离机构和上移止回机构,能够实现下移分离和上移止回功能,使用更便捷,稳定可靠,结构精巧。
 
为了解决背景技术所存在的问题,本发明采用的技术方案为:它包括托盘下移机构、托盘平移机构、托盘上移机构;所述托盘下移机构为对称的两组,托盘下移机构包括电机一、同步带轮一、同步带一、丝杆一、滑座板一、滑轨一、挡条一、气缸;所述托盘平移机构包括电机二、同步带轮二、同步带二、滑轨二、滑板、传动轴;所述托盘上移机构为对称的两组,托盘上移机构包括电机三、同步带轮三、同步带三、丝杆二、滑座板二、滑轨三、挡条二;所述托盘平移机构设在两组托盘下移机构和两组托盘上移机构的中间底部,托盘平移机构将托盘下移机构和托盘上移机构衔接。
 进一步的,所述电机一连接同步带轮一,同步带轮一连接同步带一,同步带轮一连接丝杆一,丝杆一通过丝杆螺母连接滑座板一,丝杆一两侧设有滑轨一,机构的两侧设有气缸和挡条一,气缸与挡条一连接。
 进一步的,所述电机二通过联轴器与传动轴连接,传动轴的两端分别连接有同步带轮二,同步带轮二连接同步带二,同步带二上方设有滑轨二,滑轨二上设有滑板,滑板与同步带二通过连接块连接。
 进一步的,所述电机三连接同步带轮三,同步带轮三连接同步带三,同步带轮三连接丝杆二,丝杆二通过丝杆螺母连接滑座板二,丝杆二两侧设有滑轨三,机构的两侧设有挡条二。
 
采用上述结构后,本发明有益效果为:它通过丝杆传动,运行平稳,设有下移分离机构和上移止回机构,能够实现下移分离和上移止回功能,使用更便捷,稳定可靠,结构精巧。
 
附图说明
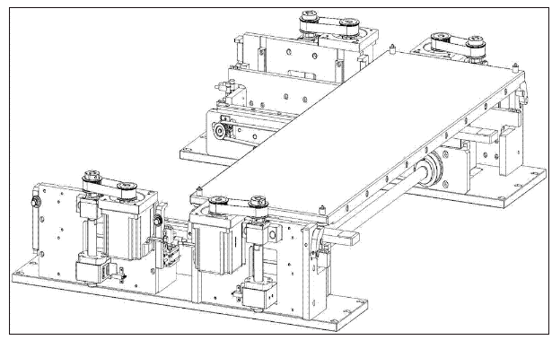
 图1为本发明的结构示意图;
 一种上下活动的单向机构
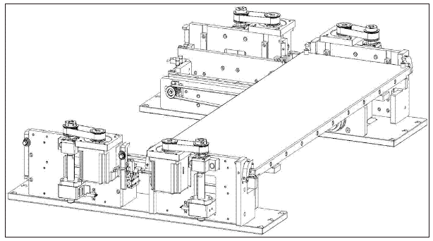
图2为本发明的托盘在下移位、准备下移的结构示意图;
 一种上下活动的单向机构
图3为本发明的托盘下移至托盘平移机构的滑板上的结构示意图;
一种上下活动的单向机构
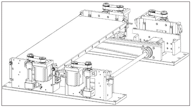
图4为本发明的托盘平移至上移位的结构示意图;
 一种上下活动的单向机构
图5为本发明的托盘顶开止回机构、完成上移结构示意图;
 一种上下活动的单向机构
图6为本发明未放置托盘时的结构示意图;
 一种上下活动的单向机构
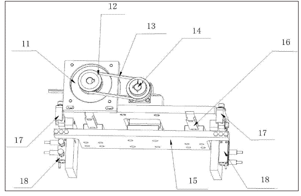
图7为本发明的托盘下移机构的结构示意图;
 
一种上下活动的单向机构
图8为本发明的托盘平移机构的结构示意图;
 一种上下活动的单向机构
图9为本发明的托盘上移机构的结构示意图。
 一种上下活动的单向机构
附图标记说明:托盘下移机构1、电机一11、同步带轮一12、同步带一13、丝杆一14、滑座板一15、滑轨一16、挡条一17、气缸18、托盘平移机构2、电机二21、同步带轮二22、同步带二23、滑轨二24、滑板25、传动轴26、托盘上移机构3、电机三31、同步带轮三32、同步带三33、丝杆二34、滑座板二35、滑轨三36、挡条二37。
 
具体实施方式
 下面结合附图,对本发明作进一步的说明。
 
为了使本发明的目的、技术方案及优点更加清楚明白,以下结合附图及具体实施方式,对本发明进行进一步详细说明。应当理解,此处所描述的具体实施方式仅用以解释本发明,并不用于限定本发明。
 
如图1和图6所示,本具体实施方式采用如下技术方案:它包括托盘下移机构1、托盘平移机构2、托盘上移机构3;所述托盘下移机构1为对称的两组,托盘下移机构1包括电机一11、同步带轮一12、同步带一13、丝杆一14、滑座板一15、滑轨一16、挡条一17、气缸18;所述托盘平移机构2包括电机二21、同步带轮二22、同步带二23、滑轨二24、滑板25、传动轴26;所述托盘上移机构3为对称的两组,托盘上移机构3包括电机三31、同步带轮三32、同步带三33、丝杆二34、滑座板二35、滑轨三36、挡条二37;所述托盘平移机构2设在两组托盘下移机构1和两组托盘上移机构3的中间底部,托盘平移机构2将托盘下移机构1和托盘上移机构3衔接。
 
进一步的,如图7所示,所述电机一11连接同步带轮一12,同步带轮一12连接同步带一13,同步带轮一12连接丝杆一14,丝杆一14通过丝杆螺母连接滑座板一15,丝杆一14两侧设有滑轨一16,机构的两侧设有气缸18和挡条一17,气缸18与挡条一17连接。
 
进一步的,如图8所示,所述电机二21通过联轴器与传动轴26连接,传动轴26的两端分别连接有同步带轮二22,同步带轮二22连接同步带二23,同步带二23上方设有滑轨二24,滑轨二24上设有滑板25,滑板25与同步带二23通过连接块连接。
 
进一步的,如图9所示,所述电机三31连接同步带轮三32,同步带轮三32连接同步带三33,同步带轮三32连接丝杆二34,丝杆二34通过丝杆螺母连接滑座板二35,丝杆二34两侧设有滑轨三36,机构的两侧设有挡条二37。
 
工作原理如下:本单向机构由两个对称的托盘下移机构1、一个托盘平移机构2和两个对称的托盘上移机构3组成。如图2和图3所示,托盘下移机构1为下移分离机构,带气缸挡条分离装置,实现托盘的分离下移,托盘下移机构1由电机一11带动同步带轮一12使丝杆一14转动,带动与丝杆螺母连接的滑座板一15上下移动,实现托盘的平稳下移,机构两侧的气缸18在滑座板一15下移过程中为缩回状态,在托盘下移一个托盘位后,两侧气缸18伸出使两侧挡条一17顶住上层托盘不再下移,电机一11继续转动,下层托盘下移,下层托盘到达托盘平移机构2的滑板25上,从而实现上下料盘的分离,托盘下移机构1,丝杆一14传动,运行平稳,配合气缸挡条分离结构,实现下移分离,稳定可靠。
 
如图4所示,托盘平移机构2为两端同步平移装置,托盘平移机构2的电机二21带动双同步带滑轨结构,平稳移载托盘,托盘平移机构2的电机二21通过联轴器与传动轴26连接,通过同步带滑轨机械实现滑板25的左右移动,托盘平移机构2,同一电机二21带动双同步带滑轨结构,实现托盘两端同步平移,位置准确,运行平稳。
 
如图5所示,托盘上移机构3为上移止回装置,带止回装置,实现上移,不逆流,托盘上移机构3由电机三31带动同步带结构使丝杆二34转动,带动与丝杆螺母连接的滑座板二35上下移动,实现托盘的平稳上移,当滑座板二35带动托盘上移到挡条二37位时,托盘顶开左右两挡条二37继续上移,越过挡条二37后挡条二37在重力的作用下回复原位,上移停止,电机三31反转滑座板二35下移,托盘落在左右两侧挡条二37上,从而实现托盘下移分离、平移、再上移的单向运动需求,托盘上移机构3,丝杆二34传动,运行平稳,配合挡条止回结构,实现单向上移,结构精巧。
 
本具体实施方式通过丝杆传动,运行平稳,设有下移分离机构和上移止回机构,能够实现下移分离和上移止回功能,使用更便捷,稳定可靠,结构精巧。
 
以上所述,仅用以说明本发明的技术方案而非限制,本领域普通技术人员对本发明的技术方案所做的其它修改或者等同替换,只要不脱离本发明技术方案的精神和范围,均应涵盖在本发明的权利要求范围当中。
 
相关连接:
Copyright © 宁波鄞州盖奇同步带轮有限公司 2007-2022 All Rights Reserved.
电话:4006-574-123/0574-27834692 传真:0574-27834691
地址:浙江省宁波市鄞州区姜山镇蔡郎桥村姜南路39-2 E-Mail:sales@belt-pulley.com  
浙ICP备09102982号 盖奇公司网络部提供技术支持 浙公网安备33021202003319号