当前位置:首页->一种同步带张力自动调节装置

 一种同步带张力自动调节装置

申请(专利)号: CN202421831137.7
申请日: 2024.07.31
授权公告号: CN223063072U
授权公告日: 2025.07.04
主分类号: F16H7/12(2006.01)
分类号: F16H7/12(2006.01);
申请权利人: 江苏兴达钢帘线股份有限公司;
发明设计人: 庞小明; 王庆华; 左树华; 李波;
地址: 225741 江苏省泰州市兴化市戴南镇人民西路88号
国省代码: 江苏;32
代理机构: 南京纵横知识产权代理有限公司 32224
代理人: 钱玲玲
 
摘要:
本实用新型公开了一种同步带张力自动调节装置,包括导轮组件、压簧和套管,其中,所述套管一端封闭一端开放,所述压簧的一端与套管的封闭端相固定,另一端于套管的开放端与导轮组件相连接,所述导轮组件在压簧的弹性作用下沿套管的轴向上下移动。该同步带张力自动调节装置,通过采用压簧与导轮组件相配合的方式,使得导轮组件在对同步带进行张紧时,压簧能够对导轮组件持续施加压力,从而保证导轮组件的张紧效果,以避免脱齿等现象的发生,而套管的设置对压簧进行了限位,使得导轮组件在压簧的作用下只能够沿套管的轴向移动,以保证张紧时导轮组件的稳定性。
 
主权项:
1.一种同步带张力自动调节装置,其特征在于,包括导轮组件、压簧(4)和套管(5),其中,所述套管(5)一端封闭一端开放,所述压簧(4)的一端与套管(5)的封闭端相固定,另一端于套管(5)的开放端与导轮组件相连接,所述导轮组件能够在压簧(4)的弹性作用下沿套管(5)的轴向上下移动。
1.一种同步带张力自动调节装置,其特征在于,包括导轮组件、压簧(4)和套管(5),其中,
 
所述套管(5)一端封闭一端开放,
 
所述压簧(4)的一端与套管(5)的封闭端相固定,另一端于套管(5)的开放端与导轮组件相连接,
 
所述导轮组件能够在压簧(4)的弹性作用下沿套管(5)的轴向上下移动。
 
2.根据权利要求1所述的同步带张力自动调节装置,其特征在于,所述导轮组件包括导轮(3)和导轮支架(6),所述导轮支架(6)安装于导轮(3)和压簧(4)之间,所述导轮支架(6)的一端与导轮(3)转动连接,另一端与压簧(4)相固定。
 
3.根据权利要求2所述的同步带张力自动调节装置,其特征在于,所述导轮(3)的宽度与同步带(2)宽度相同。
 
4.根据权利要求1所述的同步带张力自动调节装置,其特征在于,还包括压力监测组件,所述压力监测组件用于监测压簧(4)所受压力并进行显示。
 
5.根据权利要求4所述的同步带张力自动调节装置,其特征在于,所述压力监测组件包括压力传感器(1)和显示屏(7),其中,
 
所述压力传感器(1)设置于套管(5)的封闭端,且压力传感器(1)的一侧与封闭端相连接,另一侧与压簧(4)相连接;
 
所述显示屏(7)于压力传感器(1)信号连接,用于显示压力传感器(1)所受压力。
 
6.根据权利要求1所述的同步带张力自动调节装置,其特征在于,还包括固定支架(8),所述固定支架(8)安装于套管(5)的外壁上。
 
7.根据权利要求2所述的同步带张力自动调节装置,其特征在于,所述套管(5)内壁开设有滑槽,所述导轮支架(6)与滑槽滑动连接。
 
8.根据权利要求1或7所述的同步带张力自动调节装置,其特征在于,还包括伸缩柱、第一支撑板和第二支撑板,所述第一支撑板和第二支撑板分别固定于伸缩柱的上下两端,所述压簧(4)位于第一支撑板和第二支撑板之间,且所述伸缩柱设置于压簧(4)的内侧;
 
所述第一支撑板远离伸缩柱的一端与导轮支架(6)相连接,所述第二支撑板远离伸缩柱的一端与压力传感器(1)相连接。
一种同步带张力自动调节装置
技术领域
 
本实用新型涉及一种同步带张力自动调节装置,属于钢帘线生产技术领域。
 
背景技术
 
同步带在钢帘线生产中非常广泛,多种捻股机型涉及各种类型同步带的使用,在实施同步带的张紧时,现有的部分是没有涨紧轮,有些有涨紧轮的均是固定式的,使用一段时间后由于橡胶的延伸性,容易松动,导致同步带打滑,然而过紧安装又容易导致同步带寿命缩短,运行阻力增大,同时引起脱齿等现象,给生产和质量带来隐患
 
可见,为避免在生产中同步带的张紧环节出现安全隐患,亟需一种同步带张力自动调节装置。
 
实用新型内容
 
本实用新型的目的在于克服现有技术中的不足,提供一种同步带张力自动调节装置,通过采用压簧与导轮组件相配合的方式,使得导轮组件在对同步带进行张紧时,压簧能够对导轮组件持续施加压力,从而保证导轮组件的张紧效果,以避免脱齿等现象的发生,而套管的设置对压簧进行了限位,使得导轮组件在压簧的作用下只能够沿套管的轴向移动,以保证张紧时导轮组件的稳定性。
 
为达到上述目的/为解决上述技术问题,本实用新型是采用下述技术方案实现的:
 
一种同步带张力自动调节装置,包括导轮组件、压簧和套管,其中,
 
所述套管一端封闭一端开放,所述压簧的一端与套管的封闭端相固定,另一端于套管的开放端与导轮组件相连接,所述导轮组件在压簧的弹性作用下沿套管的轴向上下移动。
 
进一步的,所述导轮组件包括导轮和导轮支架,所述导轮支架安装于导轮和压簧之间,所述导轮支架的一端与导轮转动连接,另一端与压簧相固定。
 
进一步的,所述导轮的宽度与同步带宽度相同。
 
进一步的,还包括压力监测组件,所述压力监测组件用于监测压簧所受压力并进行显示。
 
进一步的,所述压力监测组件包括压力传感器和显示屏,其中,
 
所述压力传感器设置于套管的封闭端,且压力传感器的一侧与封闭端相连接,另一侧与压簧相连接;
 
所述显示屏于压力传感器信号连接,用于显示压力传感器所受压力。
 
进一步的,还包括固定支架,所述固定支架安装于套管的外壁上。
 
进一步的,所述套管内壁开设有滑槽,所述导轮支架与滑槽滑动连接。
 
进一步的,还包括伸缩柱、第一支撑板和第二支撑板,所述第一支撑板和第二支撑板分别固定于伸缩柱的上下两端,所述压簧位于第一支撑板和第二支撑板之间,且所述伸缩柱设置于压簧的内侧;
 
所述第一支撑板远离伸缩柱的一端与导轮支架相连接,所述第二支撑板远离伸缩柱的一端与压力传感器相连接。
 
与现有技术相比,本实用新型所达到的有益效果:
 
本实用新型提供的同步带张力自动调节装置,通过采用压簧与导轮组件相配合的方式,使得导轮组件在对同步带进行张紧时,压簧能够对导轮组件持续施加压力,从而保证导轮组件的张紧效果,以避免脱齿等现象的发生,而套管的设置对压簧进行了限位,使得导轮组件在压簧的作用下只能够沿套管的轴向移动,以保证张紧时导轮组件的稳定性;
 
本实用新型提供的同步带张力自动调节装置,通过在压簧和套管之间设置压力监测组件,能够对压簧所受压力值进行监测并显示,以实现可视化管理;
 
本实用新型提供的同步带张力自动调节装置,通过设置固定支架,能够将套管固定在合适位置,以满足不同情况下的张紧需求。
 
附图说明
 
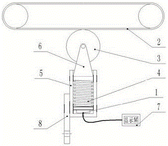
图1是实施例一提供的同步带张力自动调节装置的结构示意图;
 
图2是实施例二提供的同步带张力自动调节装置的结构示意图。
 
图中:1、压力传感器;2、同步带;3、导轮;4、压簧;5、套管;6、导轮支架;7、显示屏;8、固定支架。
 
具体实施方式
 
下面结合附图对本实用新型作进一步描述。以下实施例仅用于更加清楚地说明本实用新型的技术方案,而不能以此来限制本实用新型的保护范围。
 
在本实用新型的描述中,需要理解的是,术语“中心”、“纵向”、“横向”、“上”、“下”、“前”、“后”、“左”、“右”、“竖直”、“水平”、“顶”、 “底”、“内”、“外”等指示的方位或位置关系为基于附图所示的方位或位置关系,仅是为了便于描述本实用新型和简化描述,而不是指示或暗示所指的装置或元件必须具有特定的方位、以特定的方位构造和操作,因此不能理解为对本实用新型的限制。此外,术语“第一”、“第二”等仅用于描述目的,而不能理解为指示或暗示相对重要性或者隐含指明所指示的技术特征的数量。由此,限定有“第一”、“第二”等的特征可以明示或者隐含地包括一个或者更多个该特征。在本实用新型的描述中,除非另有说明,“多个”的含义是两个或两个以上。
 
在本实用新型的描述中,需要说明的是,除非另有明确的规定和限定,术语“安装”、“相连”、“连接”应做广义理解,例如,可以是固定连接,也可以是可拆卸连接,或一体地连接;可以是机械连接,也可以是电连接;可以是直接相连,也可以通过中间媒介间接相连,可以是两个元件内部的连通。对于本领域的普通技术人员而言,可以通过具体情况理解上述术语在本实用新型中的具体含义。
 
实施例
 
如图1所示,本实施例提供了一种同步带张力自动调节装置,包括导轮组件、压簧4和套管5,其中,
 
所述套管5一端封闭一端开放,所述压簧4的一端与套管5的封闭端相固定,另一端于套管5的开放端与导轮组件相连接,所述导轮组件在压簧4的弹性作用下沿套管5的轴向上下移动。
 
在上述技术方案中,通过采用压簧4与导轮组件相配合的方式,使得导轮组件在对同步带2进行张紧时,压簧4能够对导轮组件持续施加压力,从而保证导轮组件的张紧效果,以避免脱齿等现象的发生,而套管5的设置对压簧4进行了限位,使得导轮组件在压簧4的作用下只能够沿套管5的轴向移动,以保证张紧时导轮组件的稳定性。
 
实施例
 
本实施例提供的一种同步带张力自动调节装置,与实施例一提供的一种同步带张力自动调节装置,区别在于:
 
为实现导轮组件与同步带2的接触以及与压簧4的连接,所述导轮组件包括导轮3和导轮支架6,所述导轮支架6安装于导轮3和压簧4之间,所述导轮支架6的一端与导轮3转动连接,另一端与压簧4相固定。
 
为使导轮3与同步带2有足够的接触面积,以保证张紧时的稳定性,所述导轮3的宽度与同步带2宽度相同。
 
为实现可视化管理,还包括压力监测组件,所述压力监测组件用于监测压簧4所受压力并进行显示。
 
为实现压力监测组件对压力值的监测及显示,所述压力监测组件包括压力传感器1和显示屏7,其中,
 
所述压力传感器1设置于套管5的封闭端,且压力传感器1的一侧与封闭端相连接,另一侧与压簧4相连接;
 
所述显示屏7于压力传感器1信号连接,用于显示压力传感器1所受压力。
 
为将套管5固定在合适位置以满足不同情况下的张紧需求,还包括固定支架8,所述固定支架8安装于套管5的外壁上,并通过螺栓固定在目标位置上,以实现对套管5的固定,而通过螺栓固定的连接方式拆装方便,便于后期维护。
 
为保证导轮支架6在套管5内移动的稳定性,所述套管5内壁开设有滑槽,所述导轮支架6与滑槽滑动连接。
 
为进一步保证导轮支架6移动时的稳定性,以避免导轮3错位影响张紧效果,如图2所示,还包括伸缩柱、第一支撑板和第二支撑板,所述第一支撑板和第二支撑板分别固定于伸缩柱的上下两端,所述压簧4位于第一支撑板和第二支撑板之间,且所述伸缩柱设置于压簧4的内侧;
 
所述第一支撑板远离伸缩柱的一端与导轮支架6相连接,所述第二支撑板远离伸缩柱的一端与压力传感器1相连接。
 
综上所述,本实施例提供的同步带张力自动调节装置,通过在压簧4和套管5之间设置压力监测组件,能够对压簧4所受压力值进行监测并显示,以实现可视化管理;通过设置固定支架8,能够将套管5固定在合适位置,以满足不同情况下的张紧需求。
 
以上所述仅是本实用新型的优选实施方式,应当指出,对于本技术领域的普通技术人员来说,在不脱离本实用新型技术原理的前提下,还可以做出若干改进和变形,这些改进和变形也应视为本实用新型的保护范围。
Copyright © 宁波鄞州盖奇同步带轮有限公司 2007-2022 All Rights Reserved.
电话:4006-574-123/0574-27834692 传真:0574-27834691
地址:浙江省宁波市鄞州区姜山镇蔡郎桥村姜南路39-2 E-Mail:sales@belt-pulley.com  
浙ICP备09102982号 盖奇公司网络部提供技术支持 浙公网安备33021202003319号