当前位置:首页->一种输送带用的同步带

 一种输送带用的同步带

申请(专利)号: CN202422177633.1
申请日: 2024.09.05
授权公告号: CN223238732U
授权公告日: 2025.08.19
主分类号: B65G15/30(2006.01)
分类号: B65G15/30(2006.01); F16H7/02(2006.01); F16H7/20(2006.01);
申请权利人: 东莞市司毛特工业皮带有限公司;
发明设计人: 胡龙; 钟裕明; 萧显豪;
地址: 523000 广东省东莞市厚街镇古坑运河西路15号2号楼
国省代码: 广东;44
 
摘要:
本申请提供了一种输送带用的同步带,包括同步带主体、主动轮和从动轮,主动轮和从动轮内分别固定设有主动轴和从动轴,同步带主体的一侧设置有连接板,且主动轴的一端与连接板主动连接,连接板一侧的底部设置有用于驱动主动轴运作的传动部,连接板的顶部设置有用于上下移动从动轮的移位机构,移位机构与连接板之间设置有限位部,限位部用于限位传动部。本申请通过设置的移位机构,可以使得从动轴带动传动轮上下移动,进而使得同步带主体松动,从而可以便捷的更换皮带轮,并且移位机构可以驱动限位部运作,在限位部的作用下,可以固定驱动部,进而实现了驱动部电机的快速拆装,从而便于驱动部的更换和维修,提高了实用性。
 
主权项:
1.一种输送带用的同步带,其特征在于,包括同步带主体(1)、主动轮(2)和从动轮(3),所述主动轮(2)和从动轮(3)内分别固定设有主动轴(4)和从动轴(5),所述同步带主体(1)的一侧设置有连接板(6),且主动轴(4)的一端与连接板(6)主动连接,所述连接板(6)一侧的底部设置有用于驱动主动轴(4)运作的传动部(7),所述连接板(6)的顶部设置有用于上下移动从动轮(3)的移位机构(8),所述移位机构(8)与连接板(6)之间设置有限位部(9),所述限位部(9)用于限位传动部(7)。
\1.一种输送带用的同步带,其特征在于,包括同步带主体(1)、主动轮(2)和从动轮(3),所述主动轮(2)和从动轮(3)内分别固定设有主动轴(4)和从动轴(5),所述同步带主体(1)的一侧设置有连接板(6),且主动轴(4)的一端与连接板(6)主动连接,所述连接板(6)一侧的底部设置有用于驱动主动轴(4)运作的传动部(7),所述连接板(6)的顶部设置有用于上下移动从动轮(3)的移位机构(8),所述移位机构(8)与连接板(6)之间设置有限位部(9),所述限位部(9)用于限位传动部(7)。
 
2.根据权利要求1所述的一种输送带用的同步带,其特征在于,所述传动部(7)由电机(701)和矩形块(702)组成。
 
3.根据权利要求2所述的一种输送带用的同步带,其特征在于,所述电机(701)设置在连接板(6)上,所述矩形块(702)的一侧与电机(701)的输出轴固定连接,且矩形块(702)的另一侧穿入连接板(6)并与主动轴(4)穿插连接。
 
4.根据权利要求3所述的一种输送带用的同步带,其特征在于,所述移位机构(8)由第一移位部和第二移位部组成。
 
5.根据权利要求4所述的一种输送带用的同步带,其特征在于,所述第一移位部包括螺纹杆(801),所述连接板(6)另一侧的顶部开设有开槽,且螺纹杆(801)主动连接在开槽内,所述螺纹杆(801)穿出连接板(6)的顶端固定设有摇杆(802)。
 
6.根据权利要求5所述的一种输送带用的同步带,其特征在于,所述第二移位部包括滑杆(803),所述滑杆(803)与螺纹杆(801)螺纹连接,所述开槽的一侧开设有与滑杆(803)一端滑动连接的滑槽,所述滑杆(803)的另一端固定设有定位圆块(804),且从动轴(5)的一端与定位圆块(804)转动连接。
 
7.根据权利要求6所述的一种输送带用的同步带,其特征在于,所述限位部(9)由卡合件(901)、L形板(902)和限位板(903)组成。
 
8.根据权利要求7所述的一种输送带用的同步带,其特征在于,所述卡合件(901)设置在连接板(6)一侧的底部,且电机(701)卡接在卡合件(901)内,所述L形板(902)的顶端与滑杆(803)的一端固定连接,且L形板(902)的底端与卡合件(901)的一侧固定连接,所述限位板(903)位于电机(701)的顶端,且限位板(903)固定安装在连接板(6)上。
 
9.根据权利要求8所述的一种输送带用的同步带,其特征在于,所述连接板(6)的顶部还设置有加强部(10)。
 
10.根据权利要求9所述的一种输送带用的同步带,其特征在于,所述加强部(10)包括螺栓(1001),所述螺栓(1001)的一端依次穿过连接板(6)和螺纹杆(801)的顶部并螺纹连接有螺母(1002)。
一种输送带用的同步带
技术领域
 
本实用新型涉及同步带技术领域,具体而言,涉及一种输送带用的同步带。
 
背景技术
 
目前,同步带采用轴承座配合螺栓来进行传动轮的安装,虽然实现了传动轮的安装,但是若是更换同步带时,需要将轴承座拆下更换,更换完毕后再进行组装,较为耗时耗力,实用性较低。
 
中国实用新型专利(申请号:202220950629.2)所公开的“一种橡胶同步带,包括安装板,所述安装板的上表面左右两侧均安装有轴承座,所述轴承座的轴心部位安装有从轴,所述从轴的外壁上安装有从动传动轮,所述从动传动轮的下方设置有主动传动轮。该一种橡胶同步带,安装在传动带内壁上下部位的帆布条增加了抗拉伸强度,安装在传动带内壁的玻璃纤维条用于增加与从动传动轮和主动传动轮的耐磨性”;上述专利可以佐证现有技术存在的缺陷。
 
因此我们对此做出改进,提出一种输送带用的同步带。
 
发明内容
 
本实用新型的目的在于:针对目前存在的同步带采用轴承座配合螺栓来进行传动轮的安装,虽然实现了传动轮的安装,但是若是更换同步带时,需要将轴承座拆下更换,更换完毕后再进行组装,较为耗时耗力,实用性较低。
 
为了实现上述发明目的,本实用新型提供了输送带用的同步带,以改善上述问题。
 
本申请具体是这样的:
 
包括同步带主体、主动轮和从动轮,所述主动轮和从动轮内分别固定设有主动轴和从动轴,所述同步带主体的一侧设置有连接板,且主动轴的一端与连接板主动连接,所述连接板一侧的底部设置有用于驱动主动轴运作的传动部,所述连接板的顶部设置有用于上下移动从动轮的移位机构,所述移位机构与连接板之间设置有限位部,所述限位部用于限位传动部。
 
作为本申请优选的技术方案,所述传动部由电机和矩形块组成。
 
作为本申请优选的技术方案,所述电机设置在连接板上,所述矩形块的一侧与电机的输出轴固定连接,且矩形块的另一侧穿入连接板并与主动轴穿插连接。
 
作为本申请优选的技术方案,所述移位机构由第一移位部和第二移位部组成。
 
作为本申请优选的技术方案,所述第一移位部包括螺纹杆,所述连接板另一侧的顶部开设有开槽,且螺纹杆主动连接在开槽内,所述螺纹杆穿出连接板的顶端固定设有摇杆。
 
作为本申请优选的技术方案,所述第二移位部包括滑杆,所述滑杆与螺纹杆螺纹连接,所述开槽的一侧开设有与滑杆一端滑动连接的滑槽,所述滑杆的另一端固定设有定位圆块,且从动轴的一端与定位圆块转动连接。
 
作为本申请优选的技术方案,所述限位部由卡合件、L形板和限位板组成。
 
作为本申请优选的技术方案,所述卡合件设置在连接板一侧的底部,且电机卡接在卡合件内,所述L形板的顶端与滑杆的一端固定连接,且L形板的底端与卡合件的一侧固定连接,所述限位板位于电机的顶端,且限位板固定安装在连接板上。
 
作为本申请优选的技术方案,所述连接板的顶部还设置有加强部。
 
作为本申请优选的技术方案,所述加强部包括螺栓,所述螺栓的一端依次穿过连接板和螺纹杆的顶部并螺纹连接有螺母。
 
与现有技术相比,本实用新型的有益效果:
 
在本申请的方案中:
 
为了解决现有技术中同步带采用轴承座配合螺栓来进行传动轮的安装,虽然实现了传动轮的安装,但是若是更换同步带时,需要将轴承座拆下更换,更换完毕后再进行组装,较为耗时耗力,实用性较低的问题,本申请通过设置的移位机构,可以使得从动轴带动传动轮上下移动,进而使得同步带主体松动,从而可以便捷的更换皮带轮,并且移位机构可以驱动限位部运作,在限位部的作用下,可以固定驱动部,进而实现了驱动部电机的快速拆装,从而便于驱动部的更换和维修,提高了实用性。
 
附图说明
 
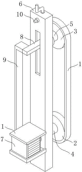
图1为本申请提供的输送带用的同步带的结构示意图;
 
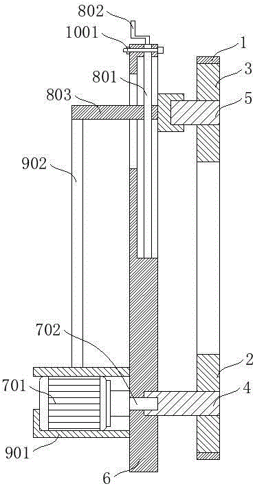
图2为本申请提供的输送带用的同步带的剖面结构示意图;
 
图3为本申请提供的输送带用的同步带的移位机构的剖面结构示意图;
 
图4为本申请提供的输送带用的同步带的限位部的剖面结构示意图。
 
图中标示:
 
1、同步带主体;
 
2、主动轮;
 
3、从动轮;
 
4、主动轴;
 
5、从动轴;
 
6、连接板;
 
7、传动部;701、电机;702、矩形块;
 
8、移位机构;801、螺纹杆;802、摇杆;803、滑杆;804、定位圆块;
 
9、限位部;901、卡合件;902、L形板;903、限位板;
 
10、加强部;1001、螺栓;1002、螺母。
 
具体实施方式
 
为了使本技术领域的人员更好地理解本实用新型方案,下面将结合本实用新型实施例中的附图,对本实用新型实施例中的技术方案进行清楚、完整地描述,显然,所描述的实施例仅仅是本实用新型一部分的实施例,而不是全部的实施例。基于本实用新型中的实施例,本领域普通技术人员在没有做出创造性劳动前提下所获得的所有其他实施例,都应当属于本实用新型保护的范围。
 
如背景技术所述的,同步带采用轴承座配合螺栓来进行传动轮的安装,虽然实现了传动轮的安装,但是若是更换同步带时,需要将轴承座拆下更换,更换完毕后再进行组装,较为耗时耗力,实用性较低。
 
为了解决此技术问题,本实用新型提供了一种输送带用的同步带。
 
具体地,请参考图1-4,输送带用的同步带具体包括:
 
同步带主体1、主动轮2和从动轮3,主动轮2和从动轮3内分别固定设有主动轴4和从动轴5,同步带主体1的一侧设置有连接板6,且主动轴4的一端与连接板6主动连接,连接板6一侧的底部设置有用于驱动主动轴4运作的传动部7,连接板6的顶部设置有用于上下移动从动轮3的移位机构8,移位机构8与连接板6之间设置有限位部9,限位部9用于限位传动部7。
 
本实用新型提供的输送带用的同步带,通过设置的移位机构,可以使得从动轴带动传动轮上下移动,进而使得同步带主体松动,从而可以便捷的更换皮带轮,并且移位机构可以驱动限位部运作,在限位部的作用下,可以固定驱动部,进而实现了驱动部电机的快速拆装,从而便于驱动部的更换和维修,提高了实用性。
 
为了使本技术领域的人员更好地理解本实用新型方案,下面将结合附图,对本实用新型实施例中的技术方案进行清楚、完整地描述。
 
需要说明的是,在不冲突的情况下,本实用新型中的实施例及实施例中的特征和技术方案可以相互组合。
 
应注意到:相似的标号和字母在下面的附图中表示类似项,因此,一旦某一项在一个附图中被定义,则在随后的附图中不需要对其进行进一步定义和解释。
 
实施例1,请参考图1、图2和图4,一种输送带用的同步带,其传动部7由电机701和矩形块702组成。
 
请参考图1、图2和图4,一种输送带用的同步带,其电机701设置在连接板6上,矩形块702的一侧与电机701的输出轴固定连接,且矩形块702的另一侧穿入连接板6并与主动轴4穿插连接。
 
实施例2,对实施例1提供的输送带用的同步带进一步优化,具体地,如图1-3所示,移位机构8由第一移位部和第二移位部组成。
 
进一步的,如图1-3所示,第一移位部包括螺纹杆801,连接板6另一侧的顶部开设有开槽,且螺纹杆801主动连接在开槽内,螺纹杆801穿出连接板6的顶端固定设有摇杆802。
 
实施例3,对实施例1或2提供的输送带用的同步带进一步优化,具体地,如图1-3所示,第二移位部包括滑杆803,滑杆803与螺纹杆801螺纹连接,开槽的一侧开设有与滑杆803一端滑动连接的滑槽,滑杆803的另一端固定设有定位圆块804,且从动轴5的一端与定位圆块804转动连接。
 
进一步的,如图1-4所示,限位部9由卡合件901、L形板902和限位板903组成。
 
进一步的,如图1-4所示,卡合件901设置在连接板6一侧的底部,且电机701卡接在卡合件901内,L形板902的顶端与滑杆803的一端固定连接,且L形板902的底端与卡合件901的一侧固定连接,限位板903位于电机701的顶端,且限位板903固定安装在连接板6上。
 
实施例4,在上述各实施例提供的输送带用的同步带进一步优化,如图1-3所示,连接板6的顶部还设置有加强部10。
 
进一步的,如图1-3所示,加强部10包括螺栓1001,螺栓1001的一端依次穿过连接板6和螺纹杆801的顶部并螺纹连接有螺母1002,通过螺栓1001,配合螺栓1002,可以固定螺纹杆801,可以进一步的限位从动轴5。
 
本实用新型提供的输送带用的同步带的使用过程如下:
 
当需要更换同步带主体1或传动部7时,拧动螺母1002,将螺母1002从螺栓1001上取下,转动摇杆802,摇杆802带动螺纹杆801转动,使得滑杆803同时带动定位圆块804和L形板902向下移动,定位圆块804带动从动轴5向下移动,从动轴5带动从动轮3向下移动,使得同步带主体1松开,进而可以便捷的更换同步带主体1,L形板902带动卡合件901向下移动,卡合件901与电机701分开,进而可以直接更换和维修电机701。
 
在本实用新型中,除非另有明确的规定和限定,术语“安装”、“相连”、“连接”、“固定”等术语应做广义理解,例如,可以是固定连接,也可以是可拆卸连接,或成一体;可以是机械连接,也可以是电连接或彼此可通讯;可以是直接相连,也可以通过中间媒介间接相连,可以是两个元件内部的连通或两个元件的相互作用关系,除非另有明确的限定。对于本领域的普通技术人员而言,可以根据具体情况理解上述术语在本实用新型中的具体含义。
 
显然,以上所描述的实施例仅仅是本实用新型一部分实施例,而不是全部的实施例,附图中给出了本实用新型的较佳实施例,但并不限制本实用新型的专利范围。本实用新型可以以许多不同的形式来实现,相反地,提供这些实施例的目的是使对本实用新型的公开内容的理解更加透彻全面。尽管参照前述实施例对本实用新型进行了详细的说明,对于本领域的技术人员来而言,其依然可以对前述各具体实施方式所记载的技术方案进行修改,或者对其中部分技术特征进行等效替换。凡是利用本实用新型说明书及附图内容所做的等效结构,直接或间接运用在其他相关的技术领域,均同理在本实用新型专利保护范围之内。
Copyright © 宁波鄞州盖奇同步带轮有限公司 2007-2022 All Rights Reserved.
电话:4006-574-123/0574-27834692 传真:0574-27834691
地址:浙江省宁波市鄞州区姜山镇蔡郎桥村姜南路39-2 E-Mail:sales@belt-pulley.com  
浙ICP备09102982号 盖奇公司网络部提供技术支持 浙公网安备33021202003319号