当前位置:首页->一种可自动复位的同步带结构

 一种可自动复位的同步带结构

申请(专利)号: CN202323039541.9
申请日: 2023.11.10
授权公告号: CN220997929U
授权公告日: 2024.05.24
主分类号: B65G15/30(2006.01)
分类号: B65G15/30(2006.01); B65G43/08(2006.01); B65G47/22(2006.01);
申请权利人: 福建双延兴业传动科技股份有限公司;
发明设计人: 邓正坚; 罗益彪;
地址: 361000 福建省厦门市思明区禾祥东路172号源昌广场801室
国省代码: 福建;35
代理机构: 厦门原创专利事务所(普通合伙) 35101
代理人: 俞兰周
 
摘要:
本实用新型涉及同步带技术领域,尤其为一种可自动复位的同步带结构,包括传动托架,所述传动托架的内侧中部设有同步带本体,且传动托架的前后两端中部位置分别开设有方口,所述传动托架的内侧前后两端下方位置分别设有限定卡框,且限定卡框的内部一侧位置滑动连接有挤压板,本实用新型中,通过设置的挤压板、声光报警器、触发弹片、中心凸块、受力板和连杆,可组成一触发报警结构,这一结构会在中心凸块挤压触发弹片时,通过声光报警器发出警报声音和警报亮光,方便工作人员能够及时暂停整个同步带结构,继续进行产品输送,并且及时的报警处理,也加快工作人员快速更换受损弹簧构件的进度。
 
主权项:
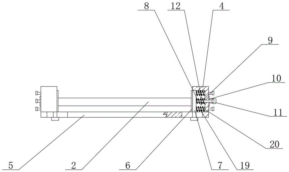
1.一种可自动复位的同步带结构,包括传动托架(1),其特征在于:所述传动托架(1)的内侧中部设有同步带本体(2),且传动托架(1)的前后两端中部位置分别开设有方口(3),所述传动托架(1)的内侧前后两端下方位置分别设有限定卡框(4),且限定卡框(4)的内部一侧位置滑动连接有挤压板(7),所述挤压板(7)的一侧中部位置固定连接有中心凸块(8),所述限定卡框(4)的内部另一侧位置卡装有限定套筒(9),且限定套筒(9)的一侧固定连接有限定套筒(9),所述限定套筒(9)远离限定卡框(4)的一侧中部固定连接有定位卡盘(10),且定位卡盘(10)的一侧中部设有声光报警器(11),所述限定套筒(9)的另一侧中部位置滑动连接有连杆(13),且连杆(13)远离限定套筒(9)的一侧位置固定连接有受力板(12)。
1.一种可自动复位的同步带结构,包括传动托架(1),其特征在于:所述传动托架(1)的内侧中部设有同步带本体(2),且传动托架(1)的前后两端中部位置分别开设有方口(3),所述传动托架(1)的内侧前后两端下方位置分别设有限定卡框(4),且限定卡框(4)的内部一侧位置滑动连接有挤压板(7),所述挤压板(7)的一侧中部位置固定连接有中心凸块(8),所述限定卡框(4)的内部另一侧位置卡装有限定套筒(9),且限定套筒(9)的一侧固定连接有限定套筒(9),所述限定套筒(9)远离限定卡框(4)的一侧中部固定连接有定位卡盘(10),且定位卡盘(10)的一侧中部设有声光报警器(11),所述限定套筒(9)的另一侧中部位置滑动连接有连杆(13),且连杆(13)远离限定套筒(9)的一侧位置固定连接有受力板(12)。
 
2.根据权利要求1所述的一种可自动复位的同步带结构,其特征在于:所述传动托架(1)的前端一侧位置固定安装有驱动电机(16),所述同步带本体(2)的内部两侧端均设有传动带轮(17),且传动带轮(17)通过短连轴构件和驱动电机(16)相连接,一组所述传动带轮(17)之间通过传动皮带(18)相连接。
 
3.根据权利要求1所述的一种可自动复位的同步带结构,其特征在于:所述方口(3)和限定卡框(4)之间前后位置相邻设置,一组所述限定卡框(4)之间通过托板(5)相连接,所述托板(5)内嵌安装于传动托架(1)的内侧底端中部,且托板(5)的前后两端开设有和挤压板(7)底部滑动支架滑动连接的滑槽。
 
4.根据权利要求1所述的一种可自动复位的同步带结构,其特征在于:所述挤压板(7)靠近同步带本体(2)的一侧端面黏合有橡胶隔垫(6),且挤压板(7)的一侧上下两端及前后两端分别固定连接有导杆(19),所述导杆(19)的外形呈“T”型结构设置,且导杆(19)和限定卡框(4)滑动连接,所述导杆(19)的外部套设有复位弹簧本体(20),且复位弹簧本体(20)的两侧端分别和挤压板(7)、限定卡框(4)固定连接。
 
5.根据权利要求4所述的一种可自动复位的同步带结构,其特征在于:所述限定套筒(9)设置于两组所述复位弹簧本体(20)之间,所述定位卡盘(10)和限定卡框(4)之间固定连接,所述限定套筒(9)的内部一侧位置固定安装有触发端子(14),且触发端子(14)的一侧位置设有触发弹片(15),所述触发弹片(15)和连杆(13)之间左右位置相邻设置,所述受力板(12)的一侧中部呈“V”型结构设置。
一种可自动复位的同步带结构
技术领域
 
本实用新型涉及同步带技术领域,具体为一种可自动复位的同步带结构。
 
背景技术
 
在各类传动系统中,同步带由于具有传动准确、平稳、效率高,维护保养方便等优点,使其能够广泛应用于大功率的机械传动作业中(如3C产品、锂电产业的传送);
 
经检索,在公开号为“CN218143813U”的现有专利中“公开了一种同步带防跑偏装置,涉及同步带技术领域,装置包括底座、机架、带轮和同步带,机架设置于底座顶部,带轮安装于机架上,同步带设置于带轮上,装置还包括两组固定板和两组弹性伸缩杆,两组固定板和两组弹性伸缩杆均关于同步带对称设置,两组固定板内侧均固定连接有弹性复位组件,两组弹性伸缩杆顶端固定连接有连接板,连接板底部设置有清洁组件,清洁组件底部与同步带相接触;通过在同步带的两侧设置弹性复位组件,当同步带发生跑偏时,弹性复位组件可对同步带起到复位的作用,避免同步带进一步跑偏……”记载得出现有的同步带结构,通过在两侧位置加装弹性复位弹簧,能够在发生偏移时,实现自动复位;
 
但由于同步带结构经常长时间运行,高频率的使用,会容易加大复位弹簧使用时,需要承受的机械负载,负载加重的复位弹簧在易发生老化变形,且影响同步带结构正常实现对产品的传送操作的问题的同时,同步带结构也会因未添加及时报警功能的现状,导致工作人员不能够及时暂停整条同步带,来防止产品继续输送,因此,针对上述问题提出一种可自动复位的同步带结构。
 
实用新型内容
 
本实用新型的目的在于提供一种可自动复位的同步带结构,以解决上述背景技术中提出发生老化变形且不及时报警的复位弹簧,会影响同步带结构继续精确进行传送操作的问题。
 
为实现上述目的,本实用新型提供如下技术方案:
 
一种可自动复位的同步带结构,包括传动托架,所述传动托架的内侧中部设有同步带本体,且传动托架的前后两端中部位置分别开设有方口,所述传动托架的内侧前后两端下方位置分别设有限定卡框,且限定卡框的内部一侧位置滑动连接有挤压板,所述挤压板的一侧中部位置固定连接有中心凸块,所述限定卡框的内部另一侧位置卡装有限定套筒,且限定套筒的一侧固定连接有限定套筒,所述限定套筒远离限定卡框的一侧中部固定连接有定位卡盘,且定位卡盘的一侧中部设有声光报警器,所述限定套筒的另一侧中部位置滑动连接有连杆,且连杆远离限定套筒的一侧位置固定连接有受力板。
 
优选的,所述传动托架的前端一侧位置固定安装有驱动电机,所述同步带本体的内部两侧端均设有传动带轮,且传动带轮通过短连轴构件和驱动电机相连接,一组所述传动带轮之间通过传动皮带相连接。
 
优选的,所述方口和限定卡框之间前后位置相邻设置,一组所述限定卡框之间通过托板相连接,所述托板内嵌安装于传动托架的内侧底端中部,且托板的前后两端开设有和挤压板底部滑动支架滑动连接的滑槽。
 
优选的,所述挤压板靠近同步带本体的一侧端面黏合有橡胶隔垫,且挤压板的一侧上下两端及前后两端分别固定连接有导杆,所述导杆的外形呈“T”型结构设置,且导杆和限定卡框滑动连接,所述导杆的外部套设有复位弹簧本体,且复位弹簧本体的两侧端分别和挤压板、限定卡框固定连接。
 
优选的,所述限定套筒设置于两组所述复位弹簧本体之间,所述定位卡盘和限定卡框之间固定连接,所述限定套筒的内部一侧位置固定安装有触发端子,且触发端子的一侧位置设有触发弹片,所述触发弹片和连杆之间左右位置相邻设置,所述受力板的一侧中部呈“V”型结构设置。
 
与现有技术相比,本实用新型的有益效果是:
 
本实用新型在组装整个同步带结构时,一组挤压板会通过一组橡胶隔垫,与同步带本体的两侧边实现接触,在整个同步带结构运行的过程中,出现位置偏移,且挤压橡胶隔垫时,一组挤压板会利用两组复位弹簧本体,受挤压发生形变后产生的回弹作用力,来对转动时发生偏移的同步带进行纠偏,使其能够实现自动复位。
 
通过设置的挤压板、声光报警器、触发弹片、中心凸块、受力板和连杆,可组成一触发报警结构,这一结构会在中心凸块挤压触发弹片时,通过声光报警器发出警报声音和警报亮光,从而方便工作人员能够及时暂停整个同步带结构,继续进行产品输送,通过能够在复位弹簧发生形变时,及时进行触发报警,在避免不能及时复位的同步带结构,易造成产品传送偏移的现象的同时,及时的报警处理也加快工作人员快速更换受损弹簧构件的进度,方便本实用新型能够通过在图3和图4中设计出的技术方案,来解决在上述背景技术中提出的技术问题。
 
附图说明
 
图1为本实用新型整体结构示意图;
 
图2为本实用新型托板安装结构示意图;
 
图3为本实用新型限定卡框内部剖开结构示意图;
 
图4为本实用新型限定套筒内部剖开结构示意图。
 
图中:1、传动托架;2、同步带本体;3、方口;4、限定卡框;5、托板;6、橡胶隔垫;7、挤压板;8、中心凸块;9、限定套筒;10、定位卡盘;11、声光报警器;12、受力板;13、连杆;14、触发端子;15、触发弹片;16、驱动电机;17、传动带轮;18、传动皮带;19、导杆;20、复位弹簧本体。
 
具体实施方式
 
下面将结合本实用新型实施例中的附图,对本实用新型实施例中的技术方案进行清楚、完整地描述,显然,所描述的实施例仅仅是本实用新型一部分实施例,而不是全部的实施例。基于本实用新型中的实施例,本领域普通技术人员在没有做出创造性劳动前提下所获得的所有其他实施例,都属于本实用新型保护的范围。
 
请参阅图1-4,本实用新型提供一种技术方案:
 
一种可自动复位的同步带结构,包括传动托架1,传动托架1的内侧中部设有同步带本体2,且传动托架1的前后两端中部位置分别开设有方口3,传动托架1的内侧前后两端下方位置分别设有限定卡框4,且限定卡框4的内部一侧位置滑动连接有挤压板7,挤压板7的一侧中部位置固定连接有中心凸块8,限定卡框4的内部另一侧位置卡装有限定套筒9,且限定套筒9的一侧固定连接有限定套筒9,限定套筒9远离限定卡框4的一侧中部固定连接有定位卡盘10,且定位卡盘10的一侧中部设有声光报警器11,限定套筒9的另一侧中部位置滑动连接有连杆13,且连杆13远离限定套筒9的一侧位置固定连接有受力板12。
 
如图1所示,传动托架1的前端一侧位置固定安装有驱动电机16,同步带本体2的内部两侧端均设有传动带轮17,且传动带轮17通过短连轴构件和驱动电机16相连接,一组传动带轮17之间通过传动皮带18相连接,在组装整个同步带结构时,左右一组传动带轮17之间可通过传动皮带18,连接在一起,后续在传动皮带18的传动作用下,一组传动带轮17会同时实现回旋转动,以便整个同步带结构,实现传送操作;方口3和限定卡框4之间前后位置相邻设置,一组限定卡框4之间通过托板5相连接,托板5内嵌安装于传动托架1的内侧底端中部,且托板5的前后两端开设有和挤压板7底部滑动支架滑动连接的滑槽,在安装形变报警结构时,方口3的中空设置,会方便工作人员后期能够透过方口3,及时观察到声光报警器11,是否发出报警时的亮光。
 
如图2、图3和图4所示,挤压板7靠近同步带本体2的一侧端面黏合有橡胶隔垫6,且挤压板7的一侧上下两端及前后两端分别固定连接有导杆19,导杆19的外形呈“T”型结构设置,且导杆19和限定卡框4滑动连接,导杆19的外部套设有复位弹簧本体20,且复位弹簧本体20的两侧端分别和挤压板7、限定卡框4固定连接,由于在组装整个同步带结构时,一组挤压板7会通过一组橡胶隔垫6,与同步带本体2的两侧边实现接触,在整个同步带结构运行的过程中,出现位置偏移,且挤压橡胶隔垫6时,一组挤压板7会利用两组复位弹簧本体20,受挤压发生形变后产生的回弹作用力,来对转动时发生偏移的同步带进行纠偏,使其能够实现自动复位;限定套筒9设置于两组复位弹簧本体20之间,定位卡盘10和限定卡框4之间固定连接,限定套筒9的内部一侧位置固定安装有触发端子14,且触发端子14的一侧位置设有触发弹片15,触发弹片15和连杆13之间左右位置相邻设置,受力板12的一侧中部呈“V”型结构设置,在传送时发生位置的偏移的同步带挤压触发弹片15时,声光报警器11会发出警报声音和警报亮光,从而达到及时提醒工作人员的目的。
 
工作流程:在整个可自动复位的同步带结构运行时,随着驱动电机16通过传动皮带18,同时带动一组传动带轮17旋转转动,同步带本体2会带着上方预先放置的产品,从左往右实现传送操作;
 
同时由于同步带结构长时间的持续运动,会使复位弹簧经常受到挤压压缩,当复位弹簧因使用频率高发生变形的现象,且同步带继续挤压一组挤压板7时,一组挤压板7侧端设有的中心凸块8,会通过受力板12和连杆13,挤压触发弹片15,接着触发端子14会在与电源导通连接后,通过声光报警器11发出警报声音和警报亮光,从而方便工作人员能够及时暂停整个同步带结构,继续进行产品输送。
 
尽管已经示出和描述了本实用新型的实施例,对于本领域的普通技术人员而言,可以理解在不脱离本实用新型的原理和精神的情况下可以对这些实施例进行多种变化、修改、替换和变型,本实用新型的范围由所附权利要求及其等同物限定。
Copyright © 宁波鄞州盖奇同步带轮有限公司 2007-2022 All Rights Reserved.
电话:4006-574-123/0574-27834692 传真:0574-27834691
地址:浙江省宁波市鄞州区姜山镇蔡郎桥村姜南路39-2 E-Mail:sales@belt-pulley.com  
浙ICP备09102982号 盖奇公司网络部提供技术支持 浙公网安备33021202003319号