当前位置:首页->一种高强度同步带

 一种高强度同步带

申请(专利)号: CN202423038416.0
申请日: 2024.12.10
授权公告号: CN223344578U
授权公告日: 2025.09.16
主分类号: F16G1/28(2006.01)
分类号: F16G1/28(2006.01); F16G1/21(2006.01); F16F15/08(2006.01); F16H57/04(2010.01); B32B27/34(2006.01); B32B27/40(2006.01); B32B25/08(2006.01); B32B17/02(2006.01); B32B17/06(2006.01); B32B3/30(2006.01); B32B3/08(2006.01);
申请权利人: 深圳市恒达传动机械有限公司;
发明设计人: 何作为; 李美; 姚实成; 朱宴文;
地址: 518000 广东省韶关市光明区马田街道石家社区后底坑同富工业区15号502
国省代码: 广东;44
代理机构: 北京鼎泰华创专利代理有限公司 12252
代理人: 黄军
 
摘要:
本实用新型公开了一种高强度同步带,涉及高强度同步带技术领域,所述同步带的表面安装有辅助机构,所述同步带包括带体,所述带体安装在辅助机构的表面,所述带体的内侧固定连接有带齿,所述带体的内部安装有加强筋。本实用新型通过带体的内部设有加强筋,该加强筋有利于提高带体的强度,提高使用寿命,缓冲层、耐磨层、抗拉层与防静电层为一体成型结构,有利于提高各部件之间连接的稳定性,便于生产,缓冲层的材料为减震橡胶组合物,可有效吸收震动,在受到外力冲击或者同步带运行情况较差时,缓冲层具有减缓震动的作用,保护了整个系统的有效、平稳运行,从而使得整体的同步带运行效果更佳。
 
主权项:
1.一种高强度同步带,包括同步带(1),其特征在于:所述同步带(1)的表面安装有辅助机构(2);所述同步带(1)包括带体(10),所述带体(10)安装在辅助机构(2)的表面,所述带体(10)的内侧固定连接有带齿(11),所述带体(10)的内部安装有加强筋(12)。
1.一种高强度同步带,包括同步带(1),其特征在于:所述同步带(1)的表面安装有辅助机构(2);
 
所述同步带(1)包括带体(10),所述带体(10)安装在辅助机构(2)的表面,所述带体(10)的内侧固定连接有带齿(11),所述带体(10)的内部安装有加强筋(12)。
 
2.根据权利要求1所述的一种高强度同步带,其特征在于:所述带体(10)包括耐磨层(101),所述耐磨层(101)安装在带体(10)的内部,所述耐磨层材质由尼龙布层、聚氨酯层组成,所述耐磨层(101)聚氨酯层表面硬度为65°。
 
3.根据权利要求2所述的一种高强度同步带,其特征在于:所述耐磨层(101)的一侧固定连接有缓冲层(102),所述缓冲层(102)的材质为橡胶材质。
 
4.根据权利要求3所述的一种高强度同步带,其特征在于:所述缓冲层(102)的表面固定连接有抗拉层(103),所述抗拉层(103)的一侧固定连接有防静电层(104)。
 
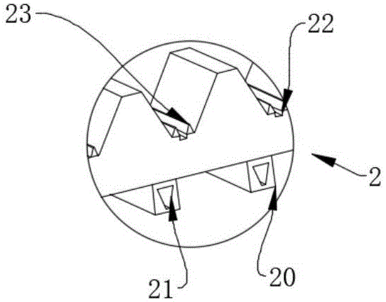
5.根据权利要求1所述的一种高强度同步带,其特征在于:所述辅助机构(2)包括散热块(20)、加强块(23)和槽口(22),所述散热块(20)固定连接在带体(10)的外侧,所述散热块(20)的材质为金属材质,所述槽口(22)开设在带体(10)的内侧。
 
6.根据权利要求5所述的一种高强度同步带,其特征在于:所述散热块(20)的表面开设有散热孔(21),所述加强块(23)固定连接在带齿(11)的表面。
 
7.根据权利要求3所述的一种高强度同步带,其特征在于:所述缓冲层(102)、耐磨层(101)、抗拉层(103)与防静电层(104)为一体成型结构。
一种高强度同步带
技术领域
 
本实用新型涉及高强度同步带技术领域,具体涉及一种高强度同步带。
 
背景技术
 
同步带是以钢丝绳或玻璃纤维为强力层,外覆以聚氨酯或氯丁橡胶的环形带,带的内周制成齿状,使其与齿形带轮啮合,同步带也称齿形带,同步带是一种传送带,它综合了带传动、链传动和齿轮传动各自的优点,传动时通过同步带齿和同步带轮的齿槽相啮合来传递动力,不需要润滑,无污染,是一种较为理想的传送带;
 
目前公告号CN202531736U公开了一种新型同步带,包括同步带本体和设置于同步带本体内侧的同步带齿,其中,所述的同步带齿包括梯形限位齿和圆弧形带齿,且所述的梯形限位齿位于圆弧形带齿的正中央位置;所述的同步带本体包括耐磨层和加固层;所述的加固层等距设有若干根钢丝。其目的是:改进同步带的结构,以解决现有同步带出现的同步带齿折断及磨损、带边异常磨损以及同步带跑偏的问题;
 
为了解决同步带运用的问题,现有技术是采用通过梯形限位齿以及设置加固层与耐磨层的方式进行处理,但是还会出现同步带不能良好平稳运行以及同步带散热效果不佳的情况,进而导致同步带运行效果不佳以及同步带使用寿命不高的问题。
 
实用新型内容
 
本实用新型的目的在于提供一种高强度同步带,以解决上述背景技术中提出的问题。
 
为解决上述技术问题,本实用新型所采用的技术方案是:
 
一种高强度同步带包括同步带,所述同步带的表面安装有辅助机构;
 
所述同步带包括带体,所述带体安装在辅助机构的表面,所述带体的内侧固定连接有带齿,所述带体的内部安装有加强筋。
 
本实用新型技术方案的进一步改进在于:所述带体包括耐磨层,所述耐磨层安装在带体的内部,所述耐磨层材质由尼龙布层、聚氨酯层组成,所述耐磨层聚氨酯层表面硬度为65°,耐磨层运用尼龙布层、聚氨酯层使得对同步带在运行时,进行有效的防护,防止同步带过度磨损。
 
本实用新型技术方案的进一步改进在于:所述耐磨层的一侧固定连接有缓冲层,所述缓冲层的材质为橡胶材质,橡胶材质可有效吸收震动,在受到外力冲击或者同步带运行情况较差时,缓冲层具有减缓震动的作用,保护了整个系统的有效、平稳运行。
 
本实用新型技术方案的进一步改进在于:所述缓冲层的表面固定连接有抗拉层,所述抗拉层的一侧固定连接有防静电层,防静电层有利于提高同步带的防静电效果,防止灰尘粘附在同步带上,增加同步带的磨损。
 
本实用新型技术方案的进一步改进在于:所述辅助机构包括散热块、加强块和槽口,所述散热块固定连接在带体的外侧,所述散热块的材质为金属材质,所述槽口开设在带体的内侧,带体带动散热块转动的时候,散热孔的锥形结构使得风可以形成一定的冲击力,吹在下一个散热块上,提高了散热块的散热效果。
 
本实用新型技术方案的进一步改进在于:所述散热块的表面开设有散热孔,所述加强块固定连接在带齿的表面,散热孔设置为锥形结构,且每两组散热块上的散热孔相交错设置。
 
本实用新型技术方案的进一步改进在于:所述缓冲层、耐磨层、抗拉层与防静电层为一体成型结构,缓冲层、耐磨层、抗拉层与防静电层为一体成型结构,有利于提高各部件之间连接的稳定性,便于生产。
 
由于采用了上述技术方案,本实用新型相对现有技术来说,取得的技术进步是:
 
1、本实用新型提供一种高强度同步带,带体的内部设有加强筋,该加强筋有利于提高带体的强度,提高使用寿命,缓冲层、耐磨层、抗拉层与防静电层为一体成型结构,有利于提高各部件之间连接的稳定性,便于生产,缓冲层的材料为减震橡胶组合物,可有效吸收震动,在受到外力冲击或者同步带运行情况较差时,缓冲层具有减缓震动的作用,保护了整个系统的有效、平稳运行,从而使得整体的同步带运行效果更佳。
 
2、本实用新型提供一种高强度同步带,在带体转动的同时,热量传递到散热块上,散热块有利于提高带体与空气的接触面积,在带体带动散热块转动的时候,散热孔的锥形结构使得风可以形成一定的冲击力,吹在下一个散热块上,提高了带体的散热效果以及同步带的使用寿命。
 
附图说明
 
图1为本实用新型的结构示意图;
 
图2为本实用新型同步带的结构示意图;
 
图3为本实用新型带体的结构示意图;
 
图4为本实用新型辅助机构的结构示意图。
 
图中:1、同步带;10、带体;101、耐磨层;102、缓冲层;103、抗拉层;104、防静电层;11、带齿;12、加强筋;2、辅助机构;20、散热块;21、散热孔;22、槽口;23、加强块。
 
具体实施方式
 
下面结合实施例对本实用新型做进一步详细说明:
 
实施例1
 
如图1-4所示,本实用新型提供了一种高强度同步带,包括同步带1,同步带1的表面安装有辅助机构2,同步带1包括带体10,带体10安装在辅助机构2的表面,带体10的内侧固定连接有带齿11,带体10的内部安装有加强筋12,带体10包括耐磨层101,耐磨层101安装在带体10的内部,耐磨层101材质由尼龙布层、聚氨酯层组成,耐磨层101聚氨酯层表面硬度为65°,耐磨层101的一侧固定连接有缓冲层102,缓冲层102的材质为橡胶材质,缓冲层102的表面固定连接有抗拉层103,抗拉层103的一侧固定连接有防静电层104,缓冲层102、耐磨层101、抗拉层103与防静电层104为一体成型结构,缓冲层102、耐磨层101、抗拉层103与防静电层104为一体成型结构,有利于提高各部件之间连接的稳定性,便于生产;
 
具体的,带体10的内部设有加强筋12,该加强筋12有利于提高带体10的强度,提高使用寿命,缓冲层102、耐磨层101、抗拉层103与防静电层104为一体成型结构,有利于提高各部件之间连接的稳定性,便于生产,缓冲层102的材料为减震橡胶组合物,可有效吸收震动,在受到外力冲击或者同步带1运行情况较差时,缓冲层102具有减缓震动的作用,保护了整个系统的有效、平稳运行;本实施例的抗拉层103采用的材料为玻璃纤维材质,玻璃纤维材质兼有强度高、重量轻和伸长极小的诸种特点,进一步提高了同步带1性能,防静电层104有利于提高同步带1的防静电效果,防止灰尘粘附在同步带1上,增加同步带1的磨损。
 
实施例2
 
如图1-4所示,在实施例1的基础上,本实用新型提供一种技术方案:优选的,辅助机构2包括散热块20、加强块23和槽口22,散热块20固定连接在带体10的外侧,散热块20的材质为金属材质,槽口22开设在带体10的内侧,散热块20的表面开设有散热孔21,加强块23固定连接在带齿11的表面,散热孔21设置为锥形结构,且每两组散热块20上的散热孔21相交错设置;
 
具体的,散热孔21设置为锥形结构,且每两组散热块20上的散热孔21相交错设置,在带体10带动散热块20转动的时候,散热孔21的锥形结构使得风可以形成一定的冲击力,吹在下一个散热块20上,提高了散热块20的散热效果。
 
下面具体说一下该高强度同步带的工作原理。
 
如图1-4所示,在带体10转动的同时,热量传递到散热块20上,散热块20有利于提高带体10与空气的接触面积,在带体10带动散热块20转动的时候,散热孔21的锥形结构使得风可以形成一定的冲击力,吹在下一个散热块20上,提高了带体10的散热效果,带体10的内部设有加强筋12,该加强筋12有利于提高带体10的强度,提高使用寿命,缓冲层102、耐磨层101、抗拉层103与防静电层104为一体成型结构,有利于提高各部件之间连接的稳定性,便于生产,缓冲层102的材料为减震橡胶组合物,可有效吸收震动,在受到外力冲击或者同步带1运行情况较差时,缓冲层102具有减缓震动的作用,保护了整个系统的有效、平稳运行;本实施例的抗拉层103采用的材料为玻璃纤维材质,玻璃纤维材质兼有强度高、重量轻和伸长极小的诸种特点,进一步提高了同步带1性能,防静电层104有利于提高同步带1的防静电效果,防止灰尘粘附在同步带1上,增加同步带1的磨损。
 
上文一般性的对本实用新型做了详尽的描述,但在本实用新型基础上,可以对之做一些修改或改进,这对于技术领域的一般技术人员是显而易见的。因此,在不脱离本实用新型思想精神的修改或改进,均在本实用新型的保护范围之内。
Copyright © 宁波鄞州盖奇同步带轮有限公司 2007-2022 All Rights Reserved.
电话:4006-574-123/0574-27834692 传真:0574-27834691
地址:浙江省宁波市鄞州区姜山镇蔡郎桥村姜南路39-2 E-Mail:sales@belt-pulley.com  
浙ICP备09102982号 盖奇公司网络部提供技术支持 浙公网安备33021202003319号