当前位置:首页->一种耐热聚氨酯同步带

 一种耐热聚氨酯同步带

 
 
摘要:
本实用新型公开了一种耐热聚氨酯同步带,涉及同步带领域,为解决现有技术中的由于聚氨酯同步带长时间使用时会产生较高的温度,现有的聚氨酯同步带上均未设置散热结构,在长时间较高温度下使用聚氨酯同步带时,会影响聚氨酯同步带的使用寿命的问题。所述内抗拉层内部固定设置有第一抗拉加强层,所述内抗拉层外侧端面连接有外散热层,所述外散热层内部固定设置有第二抗拉加强层,所述外散热层内部等间距阵列设置有多个条形散热腔,每个所述条形散热腔上端均等间距连接有三个导气孔,所述外散热层外侧端面设置有外散热面,所述外散热面上等间距阵列设置有多个扰风条。
 
主权项:
1.一种耐热聚氨酯同步带,包括内抗拉层(1)和外散热层(2),其特征在于:所述内抗拉层(1)内部固定设置有第一抗拉加强层(102),所述内抗拉层(1)外侧端面连接有外散热层(2),所述外散热层(2)内部固定设置有第二抗拉加强层(202),所述外散热层(2)内部等间距阵列设置有多个条形散热腔(3),每个所述条形散热腔(3)上端均等间距连接有三个导气孔(301),所述外散热层(2)外侧端面设置有外散热面(201),所述外散热面(201)上等间距阵列设置有多个扰风条(302)。
1.一种耐热聚氨酯同步带,包括内抗拉层(1)和外散热层(2),其特征在于:所述内抗拉层(1)内部固定设置有第一抗拉加强层(102),所述内抗拉层(1)外侧端面连接有外散热层(2),所述外散热层(2)内部固定设置有第二抗拉加强层(202),所述外散热层(2)内部等间距阵列设置有多个条形散热腔(3),每个所述条形散热腔(3)上端均等间距连接有三个导气孔(301),所述外散热层(2)外侧端面设置有外散热面(201),所述外散热面(201)上等间距阵列设置有多个扰风条(302)。
 
2.根据权利要求1所述的一种耐热聚氨酯同步带,其特征在于:每个所述导气孔(301)下端均与条形散热腔(3)内部连通,每个所述导气孔(301)上端穿过外散热层(2)与外部空气连通。
 
3.根据权利要求1所述的一种耐热聚氨酯同步带,其特征在于:所述内抗拉层(1)内侧端面上设置有内齿面(101),所述内抗拉层(1)和外散热层(2)均采用聚氨酯材料,所述内抗拉层(1)外侧端面与和外散热层(2)内侧端面之间固定连接。
 
4.根据权利要求1所述的一种耐热聚氨酯同步带,其特征在于:所述第一抗拉加强层(102)采用抗拉钢丝制成。
 
5.根据权利要求1所述的一种耐热聚氨酯同步带,其特征在于:所述第二抗拉加强层(202)采用玻璃纤维制成。
 
6.根据权利要求1所述的一种耐热聚氨酯同步带,其特征在于:所述扰风条(302)与外散热层(2)之间一体成型。
 
7.根据权利要求1所述的一种耐热聚氨酯同步带,其特征在于:所述内抗拉层(1)和外散热层(2)两侧共同设置有回转部(4)。
一种耐热聚氨酯同步带
技术领域
 
本实用新型涉及同步带领域,具体为一种耐热聚氨酯同步带。
 
背景技术
 
同步带是一种先进的传动装置,具有高效、精确和稳定的特点。它主要由强力层和覆盖层组成,其中强力层通常采用钢丝绳或玻璃纤维,确保了同步带的承载能力和使用寿命。覆盖层则一般使用聚氨酯或氯丁橡胶等材料,为同步带提供了良好的耐磨性、抗老化性和耐腐蚀性。同步带通过其独特的齿形设计,能够实现与带轮之间的无滑差传动,从而确保了传动的精确性和稳定性。同时,同步带还具有噪音低、维护简便等优点,被广泛应用于各种机械传动系统中,如纺织机械、汽车制造、食品加工等领域。总之,同步带是现代机械传动系统中不可或缺的重要部件。
 
例如授权公告号,CN217081263U,公开了一种耐磨型聚氨酯同步带,包括带体以及设置在带体内侧面的啮合齿,带体上可拆卸连接有耐磨组件,耐磨组件包括若干扣合在啮合齿上的耐磨盖以及若干位于带体外侧的防滑条,耐磨盖内腔、外壁的纵截面均和啮合齿的纵截面形状一致,耐磨盖和防滑条一一对应,耐磨盖的两端、防滑条的两端均固定有连接块,连接块分别伸出带体的两侧,防滑条、耐磨盖上的连接块可拆卸连接。采用本实用新型的方案,可以解决啮合齿产生磨损后导致传动不稳定的问题。
 
由于聚氨酯同步带长时间使用时会产生较高的温度,现有的聚氨酯同步带上均未设置散热结构,在长时间较高温度下使用聚氨酯同步带时,会影响聚氨酯同步带的使用寿命;因此市场急需研制一种耐热聚氨酯同步带来帮助人们解决现有的问题。
 
实用新型内容
 
本实用新型的目的在于提供一种耐热聚氨酯同步带,以解决上述背景技术中提出的由于聚氨酯同步带长时间使用时会产生较高的温度,现有的聚氨酯同步带上均未设置散热结构,在长时间较高温度下使用聚氨酯同步带时,会影响聚氨酯同步带的使用寿命的问题。
 
为实现上述目的,本实用新型提供如下技术方案:一种耐热聚氨酯同步带,包括内抗拉层和外散热层,所述内抗拉层内部固定设置有第一抗拉加强层,所述内抗拉层外侧端面连接有外散热层,所述外散热层内部固定设置有第二抗拉加强层,所述外散热层内部等间距阵列设置有多个条形散热腔,每个所述条形散热腔上端均等间距连接有三个导气孔,所述外散热层外侧端面设置有外散热面,所述外散热面上等间距阵列设置有多个扰风条。
 
优选的,每个所述导气孔下端均与条形散热腔内部连通,每个所述导气孔上端穿过外散热层与外部空气连通。
 
优选的,所述内抗拉层内侧端面上设置有内齿面,所述内抗拉层和外散热层均采用聚氨酯材料,所述内抗拉层外侧端面与和外散热层内侧端面之间固定连接。
 
优选的,所述第一抗拉加强层采用抗拉钢丝制成。
 
优选的,所述第二抗拉加强层采用玻璃纤维制成。
 
优选的,所述扰风条与外散热层之间一体成型。
 
优选的,所述内抗拉层和外散热层两侧共同设置有回转部。
 
与现有技术相比,本实用新型的有益效果是:
 
1、该实用新型中,通过条形散热腔的设置,当整个聚氨酯同步带进行转动工作时,会带动每个外散热层内部的多个条形散热腔逐一经过回转部,当外散热层经过回转部时会发生形变弯曲,外散热层发生形变弯曲时会压缩条形散热腔,使条形散热腔收缩时将内部空气经三个导气孔向外排出,通过空气排出进而带走外散热层内部的部分热量,同时形变后的条形散热腔在转出回转部后进行复原,进而使条形散热腔通过导气孔吸取外部较冷的空气,实现散热,虽然每个条形散热腔经过回转部发生形变后排出的热气有限,但整个聚氨酯同步带工作时,旋转速度较快,进而使每个条形散热腔经导气孔向外排出热气的频率较快,进而使整个聚氨酯同步带实现工作时被动散热,同时整个聚氨酯同步带的散热效率,会随着聚氨酯同步带的转动速度增大而逐步增大。
 
2、该实用新型中,通过扰风条的设置,外散热层外侧端面设置有外散热面,外散热面上等间距阵列设置有多个扰风条,扰风条与外散热层之间一体成型,通过扰风条随外散热层旋转时带动外散热面外部的空气流动,防止经导气孔排出的热气在外散热面停留,通过空气流动将热气向外部输送,进而使外部较冷的空气流动至外散热面进行散热,同时使导气孔在吸气时可以吸取较冷的空气,进而提高整个聚氨酯同步带的散热效率。
 
3、该实用新型中,通过第一抗拉加强层和第二抗拉加强层的设置,第一抗拉加强层采用抗拉钢丝制成,通过第一抗拉加强层增强内抗拉层的抗拉强度,第二抗拉加强层采用玻璃纤维制成,通过第二抗拉加强层增强外散热层的结构强度和耐热性能。
 
附图说明
 
图1为本实用新型的一种耐热聚氨酯同步带的主视图;
 
图2为本实用新型的主剖视图;
 
图3为本实用新型的侧剖视图;
 
图4为本实用新型的A细部放大图。
 
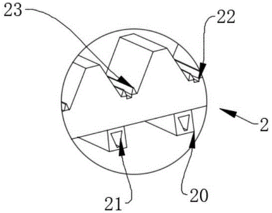
图中:1、内抗拉层;101、内齿面;102、第一抗拉加强层;2、外散热层;201、外散热面;202、第二抗拉加强层;3、条形散热腔;301、导气孔;302、扰风条;4、回转部。
 
具体实施方式
 
下面将结合本实用新型实施例中的附图,对本实用新型实施例中的技术方案进行清楚、完整地描述,显然,所描述的实施例仅仅是本实用新型一部分实施例,而不是全部的实施例。
 
请参阅图1-4,本实用新型提供的一种实施例:一种耐热聚氨酯同步带,包括内抗拉层1和外散热层2,内抗拉层1内部固定设置有第一抗拉加强层102,内抗拉层1外侧端面连接有外散热层2,外散热层2内部固定设置有第二抗拉加强层202,外散热层2内部等间距阵列设置有多个条形散热腔3,每个条形散热腔3上端均等间距连接有三个导气孔301,每个导气孔301下端均与条形散热腔3内部连通,每个导气孔301上端穿过外散热层2与外部空气连通,内抗拉层1和外散热层2两侧共同设置有回转部4,当整个聚氨酯同步带进行转动工作时,会带动每个外散热层2内部的多个条形散热腔3逐一经过回转部4,当外散热层2经过回转部4时会发生形变弯曲,外散热层发生形变弯曲时会压缩条形散热腔3,使条形散热腔3收缩时将内部空气经三个导气孔301向外排出,通过空气排出进而带走外散热层2内部的部分热量,同时形变后的条形散热腔3在转出回转部4后进行复原,进而使条形散热腔3通过导气孔301吸取外部较冷的空气,实现散热,虽然每个条形散热腔3经过回转部4发生形变后排出的热气有限,但整个聚氨酯同步带工作时,旋转速度较快,进而使每个条形散热腔3经导气孔301向外排出热气的频率较快,进而使整个聚氨酯同步带实现工作时被动散热,同时整个聚氨酯同步带的散热效率,会随着聚氨酯同步带的转动速度增大而逐步增大。
 
请参阅图1-3,外散热层2外侧端面设置有外散热面201,外散热面201上等间距阵列设置有多个扰风条302,扰风条302与外散热层2之间一体成型,通过扰风条302随外散热层2旋转时带动外散热面201外部的空气流动,防止经导气孔301排出的热气在外散热面201停留,通过空气流动将热气向外部输送,进而使外部较冷的空气流动至外散热面201进行散热,同时使导气孔301在吸气时可以吸取较冷的空气,进而提高整个聚氨酯同步带的散热效率。
 
请参阅图2-4,内抗拉层1内侧端面上设置有内齿面101,内抗拉层1和外散热层2均采用聚氨酯材料,内抗拉层1外侧端面与和外散热层2内侧端面之间固定连接,第一抗拉加强层102采用抗拉钢丝制成,通过第一抗拉加强层102增强内抗拉层1的抗拉强度,第二抗拉加强层202采用玻璃纤维制成,通过第二抗拉加强层202增强外散热层2的结构强度和耐热性能。
 
工作原理:使用时,内抗拉层1通过内齿面101与带轮实现无滑差传动,同时,随着同步带的转动,外散热层2及其内部的条形散热腔3逐一经过回转部4。在回转部4处,外散热层2因受到挤压而发生形变,进而压缩条形散热腔3。这一过程中,条形散热腔3内的空气被压缩并通过导气孔301排出至外部,有效带走了外散热层2内部的热量。当条形散热腔3转出回转部4后,逐渐恢复原状,并通过导气孔301从外部吸入较冷的空气,实现了持续的散热循环。此外,外散热层2外侧的扰风条302随着同步带的旋转而带动空气流动,不仅加速了热气的排出,还促进了外部冷空气的吸入,进一步提高了散热效率。通过这种方式,该耐热聚氨酯同步带能够在长时间高负荷运转下保持较低的工作温度,从而延长了使用寿命。
 
对于本领域技术人员而言,显然本实用新型不限于上述示范性实施例的细节,而且在不背离本实用新型的精神或基本特征的情况下,能够以其他的具体形式实现本实用新型。因此,无论从哪一点来看,均应将实施例看作是示范性的,而且是非限制性的,本实用新型的范围由所附权利要求而不是上述说明限定,因此旨在将落在权利要求的等同要件的含义和范围内的所有变化囊括在本实用新型内。不应将权利要求中的任何附图标记视为限制所涉及的权利要求。
Copyright © 宁波鄞州盖奇同步带轮有限公司 2007-2022 All Rights Reserved.
电话:4006-574-123/0574-27834692 传真:0574-27834691
地址:浙江省宁波市鄞州区姜山镇蔡郎桥村姜南路39-2 E-Mail:sales@belt-pulley.com  
浙ICP备09102982号 盖奇公司网络部提供技术支持 浙公网安备33021202003319号