当前位置:首页->制袋机同步带张力调节机构

 制袋机同步带张力调节机构

 
申请(专利)号: CN202422913519.0
申请日: 2024.11.28
授权公告号: CN223384053U
授权公告日: 2025.09.26
主分类号: B31B70/74(2017.01)
分类号: B31B70/74(2017.01); F16H7/08(2006.01);
申请权利人: 无锡市铁民机械有限公司;
发明设计人: 肖铁民; 李伟;
地址: 214000 江苏省无锡市滨湖区胡埭镇苏铁路26号
国省代码: 江苏;32
代理机构: 无锡恒烁专利代理事务所(普通合伙) 32876
代理人: 赵红霞
 
摘要:
本实用新型公开一种制袋机同步带张力调节机构,制袋机同步带张力调节机构,包括一组平行设立的竖直安装板,一组安装板中间设有第一调节轴,第一调节轴上设有带轮,带轮通过轴承与第一调节轴连接,第一调节轴上设有齿轮,安装板上设有与齿轮配合的齿条,通过转动第一调节轴,使得第一调节轴沿着齿条长度方向运动,同步带与带轮相配合,第一调节轴上还设有锁紧块,通过转动调节把手,实现将第一调节轴在水平方向上进行移动,第一调节轴中部设有带轮,同步带安装在带轮上,实现调节同步带张力的目的,当调节完成后,拧紧锁紧块限制第一调节轴转动,也就达到的固定的效果,同时配合第二调节轴的位置调节,实现更大的行程调节目的。
 
主权项:
1.制袋机同步带张力调节机构,其特征在于:包括一组平行设立的竖直安装板(1),一组安装板(1)中间设有第一调节轴(2),所述第一调节轴(2)上设有带轮(3),带轮(3)通过轴承与所述第一调节轴(2)连接,所述第一调节轴(2)上设有齿轮(4),所述安装板(1)上设有与齿轮(4)配合的齿条(5),通过转动第一调节轴(2),使得第一调节轴(2)沿着齿条(5)长度方向运动,同步带(6)与带轮(3)相配合,所述第一调节轴(2)上还设有锁紧块(7);所述锁紧块(7)包括导向部(7a)、锁紧部(7b)和连接部(7c),所述导向部(7a)和所述锁紧部(7b)通过连接部(7c)相连接,所述安装板(1)上设有水平槽,所述第一调节轴(2)贯穿所述水平槽,所述导向部(7a)一侧设有凸块(7d),所述凸块(7d)与水平槽相对应,所述导向部(7a)和所述锁紧部(7b)上均设有通孔,所述第一调节轴(2)贯穿该通孔,所述锁紧部(7b)的通孔一侧设有缝隙,所述锁紧部(7b)上设有锁紧螺栓(7e)。
1.制袋机同步带张力调节机构,其特征在于:包括一组平行设立的竖直安装板(1),一组安装板(1)中间设有第一调节轴(2),所述第一调节轴(2)上设有带轮(3),带轮(3)通过轴承与所述第一调节轴(2)连接,所述第一调节轴(2)上设有齿轮(4),所述安装板(1)上设有与齿轮(4)配合的齿条(5),通过转动第一调节轴(2),使得第一调节轴(2)沿着齿条(5)长度方向运动,同步带(6)与带轮(3)相配合,所述第一调节轴(2)上还设有锁紧块(7);
 
所述锁紧块(7)包括导向部(7a)、锁紧部(7b)和连接部(7c),所述导向部(7a)和所述锁紧部(7b)通过连接部(7c)相连接,所述安装板(1)上设有水平槽,所述第一调节轴(2)贯穿所述水平槽,所述导向部(7a)一侧设有凸块(7d),所述凸块(7d)与水平槽相对应,所述导向部(7a)和所述锁紧部(7b)上均设有通孔,所述第一调节轴(2)贯穿该通孔,所述锁紧部(7b)的通孔一侧设有缝隙,所述锁紧部(7b)上设有锁紧螺栓(7e)。
 
2.根据权利要求1所述的制袋机同步带张力调节机构,其特征在于:所述第一调节轴(2)两端均设有所述锁紧块(7)。
 
3.根据权利要求1所述的制袋机同步带张力调节机构,其特征在于:所述第一调节轴(2)两端还设有调节把手(8)。
 
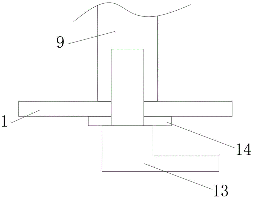
4.根据权利要求1所述的制袋机同步带张力调节机构,其特征在于:还包括第二调节轴(9),所述第二调节轴(9)上设有导向轮(10),导向轮(10)与所述第二调节轴(9)通过轴承连接,所述安装板(1)上设有调节槽(11),所述调节槽(11)上设有若干限位槽(12),所述限位槽(12)与所述第二调节轴(9)对应,所述第二调节轴(9)两端设有锁紧手柄(13)。
 
5.根据权利要求4所述的制袋机同步带张力调节机构,其特征在于:所述第二调节轴(9)两端设有螺孔,与所述锁紧手柄(13)相对应,所述锁紧手柄(13)靠近所述安装板(1)一侧设有垫片(14)。
 
6.根据权利要求5所述的制袋机同步带张力调节机构,其特征在于:还包括若干固定轴(15),所述固定轴(15)上也设有导向轮(10)。
制袋机同步带张力调节机构
技术领域
 
本实用新型涉及制袋机技术领域,具体为制袋机同步带张力调节机构。
 
背景技术
 
塑料袋制袋机是将塑料膜切割、粘合成型的自动化机械设备,现阶段高品质的制袋机已经完全实现自动化和模块化,在一端放入料卷,经过一系列翻折和热封,即可在出料端得到塑料袋产品,而在整个制袋机设备中,同步带传动是最重要的机械零件之一。
 
同步带传动一般指的是电机驱动带轮转动,同步带安装于同步带轮上,需要进行位移的零件再固定在同步带上,通过配合各类电机实现零件的精准位移,在制袋机中,通过同步带可以使得热封以及对位等工作的精准实现,在实际生产中,模块化的设备需要进行组装,而组装后的设备会存在些许误差,这就导致安装在不同模块上的带轮需要通过同步带连接时,之间的距离需要进行调节,以适配长度固定的同步带,传统的调节机构的适用性和简便性不能满足上述的要求。
 
实用新型内容
 
(一)技术方案
 
为了解决上述技术问题,本实用新型提供制袋机同步带张力调节机构。
 
具体的技术方案为:
 
制袋机同步带张力调节机构,包括一组平行设立的竖直安装板,一组安装板中间设有第一调节轴,所述第一调节轴上设有带轮,带轮通过轴承与所述第一调节轴连接,所述第一调节轴上设有齿轮,所述安装板上设有与齿轮配合的齿条,通过转动第一调节轴,使得第一调节轴沿着齿条长度方向运动,同步带与带轮相配合,所述第一调节轴上还设有锁紧块;
 
所述锁紧块包括导向部、锁紧部和连接部,所述导向部和所述锁紧部通过连接部相连接,所述安装板上设有水平槽,所述第一调节轴贯穿所述水平槽,所述导向部一侧设有凸块,所述凸块与水平槽相对应,所述导向部和所述锁紧部上均设有通孔,所述第一调节轴贯穿该通孔,所述锁紧部的通孔一侧设有缝隙,所述锁紧部上设有锁紧螺栓。
 
所述第一调节轴两端均设有所述锁紧块。
 
所述第一调节轴两端还设有调节把手。
 
还包括第二调节轴,所述第二调节轴上设有导向轮,导向轮与所述第二调节轴通过轴承连接,所述安装板上设有调节槽,所述调节槽上设有若干限位槽,所述限位槽与所述第二调节轴对应,所述第二调节轴两端设有锁紧手柄。
 
所述第二调节轴两端设有螺孔,与所述锁紧手柄相对应,所述锁紧手柄靠近所述安装板一侧设有垫片。
 
还包括若干固定轴,所述固定轴上也设有导向轮。
 
(二)有益效果
 
与现有技术相比,本实用新型提出技术方案通过转动调节把手,实现将第一调节轴在水平方向上进行移动,第一调节轴中部设有带轮,同步带安装在带轮上,实现调节同步带张力的目的,当调节完成后,拧紧锁紧块限制第一调节轴转动,也就达到的固定的效果,同时配合第二调节轴的位置调节,实现更大的行程调节目的。
 
附图说明
 
为了更清楚地说明本实用新型实施例中的技术方案,下面将对实施例或现有技术描述中所需要使用的附图作简单的介绍,显而易见地,下面描述中的附图仅仅是本实用新型的一些实施例,对于本领域普通技术人员来讲,在不付出创造性劳动性的前提下,还可以根据这些附图获得其他的附图。
 
图1为本实用新型结构示意图。
 
图2为锁紧块结构示意图。
 
图3为第二调节轴固定示意图。
 
具体实施方式
 
下面将结合实用新型实施例中的附图,对本实用新型实施例中的技术方案进行清楚、完整地描述,所描述的实施例仅仅是实用新型一部分实施例,而不是全部的实施例。基于实用新型中的实施例,本领域普通技术人员在没有做出创造性劳动前提下所获得的所有其他实施例,都属于实用新型保护的范围。
 
相关的现有技术中,一般带有侧边的塑料袋是由正反两面主料以及侧边对应的辅料热封形成,而对应的制袋机就需要具有将辅料运送到主料的输送线内,并且完成主料和辅料预先定位的功能,而现阶段的制袋机大多只含有主料输送线,而如何将辅料输送到指定位置,并且将主料和辅料完成烫接是现阶段需要解决的主要问题。
 
为解决相关现有技术存在的问题,本实用新型提出制袋机同步带张力调节机构,下面结合附图以及实施例对本实用新型提出原理及结构进行详细说明。
 
请参阅图1至图3,本实用新型提出一种制袋机同步带张力调节机构,包括一组平行设立的竖直安装板1,安装板1上还安装有制袋机其他零件,一组安装板1中间设有第一调节轴2,第一调节轴2上设有带轮3,带轮3通过轴承与第一调节轴2连接,第一调节轴2上设有齿轮4,安装板1上设有与齿轮4配合的齿条5,通过转动第一调节轴2,使得第一调节轴2沿着齿条5长度方向运动,同步带6与带轮3相配合,第一调节轴2上还设有锁紧块7;这样当有两个模块内均设有带轮3且需要同步带6进行连接时,由于同步带的长度固定,而为了保证两个模块上带轮3上安装的同步带6具有标准张力,传统方式只能通过调节两个模块之间的距离,这样调节明显较为麻烦,而通过上述步骤,只需要转动第一调节轴2,通过齿轮4齿条5相配合,就可以实现第一调节轴2的水平移动,进而实现调节距离的目的,这样即可调节安装在带轮3上的同步带6的张力,然后通过锁紧块7进行锁紧固定。
 
具体的,锁紧块7包括导向部7a、锁紧部7b和连接部7c,导向部7a和锁紧部7b通过连接部7c相连接,安装板1上设有水平槽,水平槽与齿条5相对应,当齿轮4和齿条5相啮合时,第一调节轴2贯穿水平槽,导向部7a一侧设有凸块7d,凸块7d与水平槽相对应,凸块7d尺寸与水平槽相对应,当第一调节轴2在水平方向运动时,凸块7d在水平槽内滑动,导向部7a和锁紧部7b上均设有通孔,第一调节轴2贯穿该通孔,锁紧部7b的通孔一侧设有缝隙,锁紧部7b上设有锁紧螺栓7e,当锁紧螺栓7e松开时,第一调节轴2在导向部7a和锁紧部7b的通孔内转动,当锁紧螺栓7e拧紧时,锁紧部7b将第一调节轴2紧固,而凸块7d在水平槽内部,这样就导致第一调节轴2无法转动,达到限位固定的目的。
 
具体的,在第一调节轴2两端均设有锁紧块7并且第一调节轴2两端还设有调节把手8,一方面保证两端同时固定,提高稳定性,同时两侧设有调节把手8可以提高调节时的便捷性。
 
请参阅图1和图3,还包括第二调节轴9,第二调节轴9上设有导向轮10,导向轮10与第二调节轴9通过轴承连接,安装板1上设有调节槽11,调节槽11上设有若干限位槽12,限位槽12与第二调节轴9对应,第二调节轴9两端设有锁紧手柄13。
 
通过第一调节轴2和第二调节轴9相互配合,第二调节轴9可以在调节槽11内滑动,并且通过锁紧手柄固定在任一限位槽12内部,同步带6通过带轮3和导向轮10,相互配合,这样可以加大张力调节的效果,即使错位更大也能通过改变第一调节轴2和第二调节轴9的位置,保证同步带6的张力。同时还包括若干固定轴15,固定轴15上也设有导向轮10。提高整体的适配性。
 
具体的,第二调节轴9两端设有螺孔,与锁紧手柄13相对应,锁紧手柄13靠近安装板1一侧设有垫片14,通过拧紧锁紧手柄13,压迫垫片14与安装板1实现第二调节轴9的固定,当需要调整第二调节轴9的位置则松开锁紧手柄13。
 
上述调节方式快速便捷,仅需要调节锁紧螺栓7e、调节扳手8和锁紧手柄13,就可实现调节同步带张力的目的。
 
以上仅为本实用新型的优选实施例而已,并不用于限制本实用新型,对于本领域的技术人员来说,本实用新型可以有各种更改和变化。凡在本实用新型的精神和原则之内,所做的任何修改、等同替换、改进等,均应包含在本实用新型的保护范围之内。
Copyright © 宁波鄞州盖奇同步带轮有限公司 2007-2022 All Rights Reserved.
电话:4006-574-123/0574-27834692 传真:0574-27834691
地址:浙江省宁波市鄞州区姜山镇蔡郎桥村姜南路39-2 E-Mail:sales@belt-pulley.com  
浙ICP备09102982号 盖奇公司网络部提供技术支持 浙公网安备33021202003319号