当前位置:首页->一种同步带轮张紧器

 一种同步带轮张紧器

申请(专利)号: CN202520183966.7
申请日: 2025.02.06
授权公告号: CN223662478U
授权公告日: 2025.12.12
主分类号: F16H7/08(2006.01)
分类号: F16H7/08(2006.01);
申请权利人: 成都集源智控科技有限公司;
发明设计人: 唐浩倬; 钟骁; 曾学兵; 罗存益; 孙建章; 杜菊红;
地址: 610000 四川省成都市高新区科园南路88号4栋5楼503号
国省代码: 四川;51
代理机构: 成都为知盾专利代理事务所(特殊普通合伙) 51267
代理人: 闻腾飞
 
摘要:
本实用新型公开了一种同步带轮张紧器,包括固定座和连接组件,所述固定座上设置有安装槽,所述连接组件设置在安装槽内,所述连接组件与固定座通过调节螺栓连接,所述连接组件用于连接传动带,所述调节螺栓用于调节连接组件的拉力;本实用新型中,在固定座上设置安装槽,连接组件与安装槽之间通过调节螺栓连接,能够快速调节连接组件对传动带的拉力,从而调节皮带传动的张紧力,固定座以及连接组件的轴座结构简单,制造成本低,结构小巧,能够节省安装空间,便于在狭小的空间安装。
 
主权项:
1.一种同步带轮张紧器,其特征在于,包括固定座和连接组件,所述固定座上设置有安装槽,所述连接组件设置在安装槽内,所述连接组件与固定座通过调节螺栓连接,所述连接组件用于连接同步带,所述调节螺栓用于调节连接组件的拉力;所述连接组件包括轴座、轴杆和连接轮,所述轴座上设置有让位槽,所述连接轮设置在让位槽中,所述轴杆与轴座插接配合用于固定连接轮,所述连接轮设置在轴杆上并与轴杆转动连接。
1.一种同步带轮张紧器,其特征在于,包括固定座和连接组件,所述固定座上设置有安装槽,所述连接组件设置在安装槽内,所述连接组件与固定座通过调节螺栓连接,所述连接组件用于连接同步带,所述调节螺栓用于调节连接组件的拉力;所述连接组件包括轴座、轴杆和连接轮,所述轴座上设置有让位槽,所述连接轮设置在让位槽中,所述轴杆与轴座插接配合用于固定连接轮,所述连接轮设置在轴杆上并与轴杆转动连接。
 
2.如权利要求1所述的同步带轮张紧器,其特征在于,所述轴杆与连接轮之间设置有轴承。
 
3.如权利要求1所述的同步带轮张紧器,其特征在于,所述固定座上位于安装槽底部设置有让位口,所述让位口用于对连接轮让位。
 
4.如权利要求1所述的同步带轮张紧器,其特征在于,所述固定座上位于安装槽的左右侧壁上设置有限位凸缘,所述限位凸缘用于对轴座限位。
 
5.如权利要求1所述的同步带轮张紧器,其特征在于,所述轴座底部设置有凹槽,所述调节螺栓穿过轴座和固定座并通过螺母固定,所述调节螺栓的顶端位于凹槽中。
 
6.如权利要求1所述的同步带轮张紧器,其特征在于,所述固定座的左右两侧均设置有支耳,所述支耳上设置有腰型孔。
一种同步带轮张紧器
技术领域
 
本实用新型属于张紧器技术领域,具体涉及一种同步带轮张紧器。
 
背景技术
 
肺功能仪的准确性高度依赖于定期且精准的校准,当前市面上的一些校准装置存在诸多问题,比如传统的校准装置其动力传输方式通过普通的皮带传动,普通皮带传动易出现打滑现象,导致气体流量等校准参数传输不稳定,严重影响校准精度,并且经长期使用后,传动部件磨损加剧,无法维持稳定的张力,使得校准装置的可靠性大打折扣。
 
实用新型内容
 
本实用新型的目的在于提供一种同步带轮张紧器,在固定座上设置安装槽,连接组件与安装槽之间通过调节螺栓连接,能够快速调节连接组件对传动带的拉力,从而调节皮带传动的张紧力。
 
本实用新型通过下述技术方案实现:
 
一种同步带轮张紧器,包括固定座和连接组件,所述固定座上设置有安装槽,所述连接组件设置在安装槽内,所述连接组件与固定座通过调节螺栓连接,所述连接组件用于连接传动带,所述调节螺栓用于调节连接组件的拉力。
 
进一步地,所述连接组件包括轴座、轴杆和连接轮,所述轴座上设置有让位槽,所述连接轮设置在让位槽中,所述轴杆与轴座插接配合用于固定连接轮,所述连接轮设置在轴杆上并与轴杆转动连接。
 
进一步地,所述轴杆与连接轮之间设置有轴承。
 
进一步地,所述固定座上位于安装槽底部设置有让位口,所述让位口用于对连接轮让位。
 
进一步地,所述固定座上位于安装槽的左右侧壁上设置有限位凸缘,所述限位凸缘用于对轴座限位。
 
进一步地,所述轴座底部设置有凹槽,所述调节螺栓穿过轴座和固定座并通过螺母固定,所述调节螺栓的顶端位于凹槽中。
 
进一步地,所述固定座的左右两侧均设置有支耳,所述支耳上设置有腰型孔。
 
本实用新型与现有技术相比,具有以下优点及有益效果:
 
本实用新型中,在固定座上设置安装槽,连接组件与安装槽之间通过调节螺栓连接,能够快速调节连接组件对传动带的拉力,从而调节皮带传动的张紧力,固定座以及连接组件的轴座结构简单,制造成本低,结构小巧,能够节省安装空间,便于在狭小的空间安装。
 
附图说明
 
为了更清楚地说明本实用新型实施例的技术方案,下面将对实施例中的附图作简单地介绍,应当理解,以下附图仅示出了本实用新型的某些实施例,因此不应被看作是对范围的限定,对于本领域普通技术人员来讲,在不付出创造性劳动的前提下,还可以根据这些附图获得其他相关的附图。
 
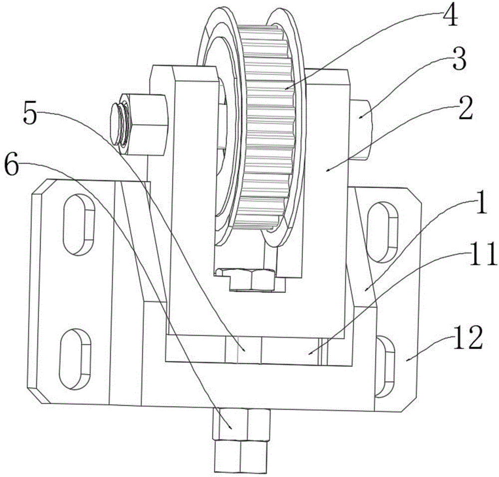
图1为本实用新型同步带轮张紧器的结构示意图。
 
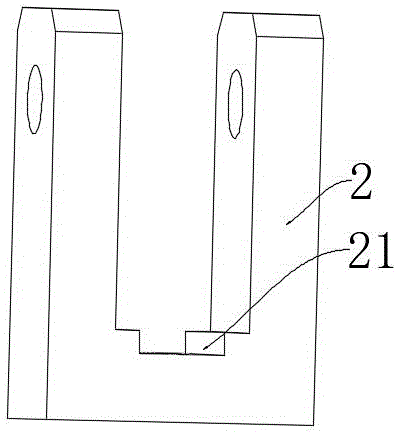
图2为本实用新型同步带轮张紧器中固定座的结构示意图。
 
图3为本实用新型同步带轮张紧器中轴座的结构示意图。
 
其中:1-固定座,11-安装槽,12-支耳,13-限位凸缘,14-让位口,2-轴座,21-凹槽,3-轴杆,4-连接轮,5-调节螺栓,6-螺母。
 
具体实施方式
 
为使本实用新型实施例的目的、技术方案和优点更加清楚,下面将结合本实用新型实施例中的附图,对本实用新型实施例中的技术方案进行清楚、完整地描述,显然,所描述的实施例是本实用新型一部分实施例,而不是全部的实施例。
 
实施例1:
 
一种同步带轮张紧器,如图1、图2和图3所示,包括固定座1和连接组件,固定座1用于与外部设置连接,固定座1上设置有安装槽11,连接组件设置在安装槽11内,安装槽11用于对连接组件限位,连接组件与固定座1通过调节螺栓5连接,安装槽11可避免连接组件左右位移;连接组件用于连接同步带,调节螺栓5用于调节连接组件的拉力,从而调节同步带的张紧力;连接组件包括轴座2、轴杆3和连接轮4,轴座2为U型结构件,轴座2上设置有让位槽,连接轮4设置在让位槽中,轴杆3穿过轴座2两端,轴杆3端部设置有螺帽,螺帽用于紧固轴杆3;轴杆3与轴座2插接配合用于固定连接轮4,连接轮4设置在轴杆3上并与轴杆3转动连接;连接轮4表面设置有若干齿凸,连接轮4表面用于与同步带相配合,避免同步带打滑,轴杆3与连接轮4之间设置有轴承,连接轮4能够在轴杆3上转动;固定座1上位于安装槽11底部设置有让位口14,让位口14用于对连接轮4让位,避免与连接轮4侧面发生干涉,同时可减小张紧器的整体体积。
 
实施例2:
 
本实施例在上述实施例的基础上,进一步限定固定座1和轴座2,固定座1上位于安装槽11的左右侧壁上设置有限位凸缘13,限位凸缘13位于安装槽11左右两侧,限位凸缘13用于对轴座2限位,轴座2插入限位凸缘13之间,可防止轴座2左右晃动;同时,在轴座2底部设置有凹槽21,调节螺栓5穿过轴座2底部和固定座1后通过螺母6固定,调节螺栓5的顶端位于凹槽21中,旋动螺母6可调节固定座1与轴座2之间的间隙,从而调节传动带的松紧;固定座1的左右两侧均设置有支耳12,支耳12上设置有腰型孔,固定座1通过螺钉或铆钉穿过腰型孔与外部设备固定。本实施例的其他部分与上述实施例相同,这里不再赘述。
 
在本实用新型的描述中,需要说明的是,所采用的术语“中心”、“上”、“下”、“左”、“右”、“竖直”、“水平”、“内”、“外”等指示的方位或位置关系为基于附图所示的方位或位置关系,或者是该实用新型产品使用时惯常摆放的方位或位置关系,仅是为了便于描述本实用新型和简化描述,而不是指示或暗示所指的装置或元件必须具有特定的方位、以特定的方位构造和操作,因此不能理解为对本实用新型的限制。
 
此外,本实用新型的描述中若出现“水平”、“竖直”等术语并不表示要求部件绝对水平或悬垂,而是可以稍微倾斜。如“水平”仅仅是指其方向相对“竖直”而言更加水平,并不是表示该结构一定要完全水平,而是可以稍微倾斜。
 
在本实用新型的描述中,还需要说明的是,除非另有明确的规定和限定,若出现术语“设置”、“安装”、“相连”、“连接”应做广义理解,例如,可以是固定连接,也可以是可拆卸连接,或一体地连接;可以是机械连接,也可以是电连接;可以是直接相连,也可以通过中间媒介间接相连,可以是两个元件内部的连通。对于本领域的普通技术人员而言,可以具体情况理解上述术语在本实用新型中的具体含义。
 
以上所述,仅是本实用新型的较佳实施例,并非对本实用新型做任何形式上的限制,凡是依据本实用新型的技术实质对以上实施例所作的任何简单修改、等同变化,均落入本实用新型的保护范围之内。
Copyright © 宁波鄞州盖奇同步带轮有限公司 2007-2022 All Rights Reserved.
电话:4006-574-123/0574-27834692 传真:0574-27834691
地址:浙江省宁波市鄞州区姜山镇蔡郎桥村姜南路39-2 E-Mail:sales@belt-pulley.com  
浙ICP备09102982号 盖奇公司网络部提供技术支持 浙公网安备33021202003319号