当前位置:首页->手自一体双侧同步带传动遮阳帘

 手自一体双侧同步带传动遮阳帘

 
申请(专利)号: CN202423152922.2
申请日: 2024.12.20
授权公告号: CN223549195U
授权公告日: 2025.11.14
主分类号: E06B9/40(2006.01)
分类号: E06B9/40(2006.01); E06B9/74(2006.01); E06B9/70(2006.01); E06B9/60(2006.01); E06B9/42(2006.01); E06B9/44(2006.01); E06B9/68(2006.01);
申请权利人: 青岛鸿裕吉轨道交通装备有限公司; 青岛丰佰利遮阳科技有限公司;
发明设计人: 邓少云; 王树义; 马鑫华; 秦思远; 臧文龙;
地址: 266000 山东省青岛市崂山区北宅街道沟崖社区南南王路北青岛皮鞋厂1号楼
国省代码: 山东;37
代理机构: 青岛发思特专利商标代理有限公司 37212
代理人: 宫兆俭
 
摘要:
本实用新型涉及传动控制技术领域,具体涉及一种手自一体双侧同步带传动遮阳帘。本实用新型包括卷筒、拉杆和同步带;卷筒两侧设右支撑和左支撑,拉杆底部装有从动轮;右支撑包括驱动电机、齿轮组和同步轮,驱动电机通过齿轮组与同步轮咬合;齿轮组上装有位置传感器;左支撑装有同步轮,两侧同步轮连接卷筒;从动轮包括支架、滑轮、预紧轮,同步带经滑轮、预紧轮、拉杆连接至同步轮上;同步带上装有限位传感器。本实用新型通过改进右支撑、左支撑和从动轮的结构,配合原有的卷筒、拉杆和同步带,实现手动和自动两种控制模式,也实现对遮阳帘运动位置的精确控制。
 
主权项:
1.一种手自一体双侧同步带传动遮阳帘,其特征在于,包括卷筒(3)、拉杆(4)和同步带(7);卷筒(3)两侧设右支撑(1)和左支撑(2),拉杆(4)底部装有从动轮(5);右支撑(1)包括驱动电机、齿轮组(13)和同步轮(12),驱动电机通过齿轮组(13)与同步轮(12)咬合;齿轮组(13)上装有位置传感器(115);左支撑(2)装有同步轮(12),两侧同步轮(12)连接卷筒(3);从动轮(5)包括支架(51)、滑轮(52)、预紧轮(53),同步带(7)经滑轮(52)、预紧轮(53)、拉杆(4)连接至同步轮(12)上;同步带(7)上装有限位传感器(6)。
1.一种手自一体双侧同步带传动遮阳帘,其特征在于,包括卷筒(3)、拉杆(4)和同步带(7);卷筒(3)两侧设右支撑(1)和左支撑(2),拉杆(4)底部装有从动轮(5);右支撑(1)包括驱动电机、齿轮组(13)和同步轮(12),驱动电机通过齿轮组(13)与同步轮(12)咬合;齿轮组(13)上装有位置传感器(115);左支撑(2)装有同步轮(12),两侧同步轮(12)连接卷筒(3);从动轮(5)包括支架(51)、滑轮(52)、预紧轮(53),同步带(7)经滑轮(52)、预紧轮(53)、拉杆(4)连接至同步轮(12)上;同步带(7)上装有限位传感器(6)。
 
2.如权利要求1所述的手自一体双侧同步带传动遮阳帘,其特征在于,所述卷筒(3)还包括芯轴(31)、堵头(32)、卷簧(34)和支撑块(33),芯轴(31)的两端通过堵头(32)安装于右支撑(1)和左支撑(2),且芯轴(31)的末端与同步轮(12)相连;芯轴(31)的中部套接卷簧(34),并通过支撑块(33)对卷筒(3)施加弹力。
 
3.如权利要求2所述的手自一体双侧同步带传动遮阳帘,其特征在于,所述右支撑(1)还包括安装座(15)、限位块(112)、电磁离合器(113)和轴承座(114),安装座(15)上安装有驱动电机和轴承座(114),驱动电机的输出端通过限位块(112)与电磁离合器(113)相连,电磁离合器(113)的输出端连接至轴承座(114),轴承座(114)的输出端连接至齿轮组(13)。
 
4.如权利要求3所述的手自一体双侧同步带传动遮阳帘,其特征在于,所述齿轮组(13)包括壳体,以及安装于壳体内的齿轮Ⅰ(121)、齿轮Ⅱ(123)和齿轮Ⅲ(122);齿轮Ⅰ(121)与轴承座(114)的输出端相连,齿轮Ⅱ(123)与芯轴(31)的右侧末端相连,齿轮Ⅲ(122)分别与齿轮Ⅰ(121)和齿轮Ⅱ(123)相互啮合;位置传感器(115)位于齿轮Ⅰ(121)和壳体之间。
 
5.如权利要求1所述的手自一体双侧同步带传动遮阳帘,其特征在于,所述右支撑(1)还包括导向轮(14),导向轮(14)位于右侧同步轮(12)的下方,同步带(7)经由同步轮(12)并通过导向轮(14)连接至拉杆(4)。
 
6.如权利要求1所述的手自一体双侧同步带传动遮阳帘,其特征在于,所述从动轮(5)还包括调整螺钉,调整螺钉位于预紧轮(53)与支架(51)之间,通过调节预紧轮(53)与滑轮(52)之间距离,调节同步带(7)的张紧程度。
 
7.如权利要求1所述的手自一体双侧同步带传动遮阳帘,其特征在于,所述限位传感器(6)包括位于同步带(7)上的限位片,以及位于从动轮(5)处的光电传感器;限位片随同步带(7)运动至光电传感器处,触发限位信号则同步带(7)停止动作。
 
8.如权利要求1所述的手自一体双侧同步带传动遮阳帘,其特征在于,所述卷筒(3)与拉杆(4)之间设置有遮阳帘布,遮阳帘布下拉的极限位置与光电传感器的安装位置一致。
 
9.如权利要求1所述的手自一体双侧同步带传动遮阳帘,其特征在于,还包括控制器(8),控制器(8)的输入端分别与位置传感器(115)、限位传感器(6)相连;控制器(8)的输出端分别与驱动电机相连;控制器(8)内置有通信模块,控制器(8)通过通信模块与总控机相连。
 
10.如权利要求9所述的手自一体双侧同步带传动遮阳帘,其特征在于,所述控制器(8)、右支撑(1)、左支撑(2)、从动轮(5)均安装于墙体上。
手自一体双侧同步带传动遮阳帘
技术领域
 
本实用新型涉及传动控制技术领域,具体涉及一种手自一体双侧同步带传动遮阳帘。
 
背景技术
 
传统遮阳帘的传动方式常显单一,手动操作不便,自动控制则在位置精度上有所欠缺。为解决这些问题,技术人员进行积极探索。例如,中国专利CN221322242U提出一种创新设计,通过驱动件两侧相同设置,实现绕线轮件收放高度同步,并简化内部结构,采用单边传动。然而,当前电动卷帘虽具备自动化控制,却常因单侧动力传输导致传动不稳、效率低下,且改造时难以保留原有结构,成本高昂。
 
实用新型内容
 
本实用新型要解决的技术问题是:克服现有技术的不足,提供一种手自一体双侧同步带传动遮阳帘。
 
本实用新型采用的技术方案如下:
 
一种手自一体双侧同步带传动遮阳帘,包括卷筒、拉杆和同步带;卷筒两侧设右支撑和左支撑,拉杆底部装有从动轮;右支撑包括驱动电机、齿轮组和同步轮,驱动电机通过齿轮组与同步轮咬合;齿轮组上装有位置传感器;左支撑装有同步轮,两侧同步轮连接卷筒;从动轮包括支架、滑轮、预紧轮,同步带经滑轮、预紧轮、拉杆连接至同步轮上;同步带上装有限位传感器。
 
本技术方案通过改进右支撑、左支撑和从动轮的结构,配合原有的卷筒、拉杆和同步带,实现手动和自动两种控制模式,也实现对遮阳帘运动位置的精确控制。具体地,卷筒与拉杆组件通过拉杆的上下移动与遮阳帘布相连,而双侧支撑则固定并支撑这些结构;驱动系统位于右支撑内,通过齿轮组和电磁离合器将动力传递至芯轴,进而驱动同步轮旋转;双侧同步带则连接两侧的同步轮,将动力转化为拉杆的上下移动;传感器系统包括位置传感器和限位传感器,分别监控拉杆的位置和遮阳帘布的极限位置,控制驱动电机和电磁离合器的运行,并向总控机传递遮阳帘布的状态信息。
 
另外,根据本实用新型上述提出手自一体双侧同步带传动遮阳帘还具有如下附加技术特征:
 
根据本实用新型的一个实施例,所述卷筒还包括芯轴、堵头、卷簧和支撑块,芯轴的两端通过堵头安装于右支撑和左支撑,且芯轴的末端与同步轮相连;芯轴的中部套接卷簧,并通过支撑块对卷筒施加弹力。
 
本技术方案中,芯轴不仅支撑整个卷筒,还通过其末端的连接与同步轮实现动力的传递;堵头确保芯轴能够稳固地安装于左右支撑上,防止其松动或脱落;卷簧与支撑块共同作用,为卷筒提供必要的弹力,使得遮阳帘布在卷收和展开过程中能够保持平稳和有序。
 
根据本实用新型的一个实施例,所述右支撑还包括安装座、限位块、电磁离合器和轴承座,安装座上安装有驱动电机和轴承座,驱动电机的输出端通过限位块与电磁离合器相连,电磁离合器的输出端连接至轴承座,轴承座的输出端连接至齿轮组。
 
本技术方案中,限位块确保驱动电机的输出端与电磁离合器的输入端之间保持适当的间隙和连接状态,防止因连接过紧或过松而导致的故障;电磁离合器通过控制电流的通断来控制离合器的吸合与分离;当电流通过时,离合器吸合,将驱动电机的动力传递给轴承座;当电流切断时,离合器分离,切断动力的传递;电磁离合器还通过调节电流的大小来控制传递的扭矩大小;轴承座内部安装有轴承,轴承通过滚动或滑动的方式减少旋转部件之间的摩擦和磨损;通过调整齿轮组的齿数和模数,实现不同的传动比和扭矩传递能力。
 
根据本实用新型的一个实施例,所述齿轮组包括壳体,以及安装于壳体内的齿轮Ⅰ、齿轮Ⅱ和齿轮Ⅲ;齿轮Ⅰ与轴承座的输出端相连,齿轮Ⅱ与芯轴的右侧末端相连,齿轮Ⅲ分别与齿轮Ⅰ和齿轮Ⅱ相互啮合;位置传感器位于齿轮Ⅰ和壳体之间。
 
本技术方案中,壳体防止灰尘、水分等杂质进入,同时支撑齿轮组之间的相对位置;齿轮Ⅰ与轴承座的输出端相连,将旋转动力传递给齿轮Ⅲ;齿轮Ⅲ与齿轮Ⅱ,将旋转动力传递给齿轮Ⅱ;齿轮Ⅱ与芯轴的右侧末端相连,将旋转动力传递给芯轴;芯轴上有同步轮,同步轮将动力传递给同步带。位置传感器通常为电磁感应传感器、光电传感器,实时监测齿轮Ⅰ的旋转状态,并将监测到的信号转换为电信号,传递给控制器。
 
根据本实用新型的一个实施例,所述右支撑还包括导向轮,导向轮位于右侧同步轮的下方,同步带经由同步轮并通过导向轮连接至拉杆。
 
本技术方案中,导向轮用于确保同步带能够平稳地绕过同步轮并传递到拉杆,从而实现动力或运动的传递;通过调整导向轮的位置和角度,确保同步带在运行过程中不会偏离预定的路径,从而保持与同步轮的同步运行。
 
根据本实用新型的一个实施例,所述从动轮还包括调整螺钉,调整螺钉位于预紧轮与支架之间,通过调节预紧轮与滑轮之间距离,调节同步带的张紧程度。
 
本技术方案中,在长期使用过程中,由于磨损或变形等原因,同步带的张紧程度会发生变化,通过旋转调整螺钉即可轻松实现对同步带张紧程度的调节;旋转调整螺钉时,其轴向位置会发生变化,从而推动或拉动预紧轮,改变预紧轮与滑轮之间的距离,进而调节同步带的张紧程度。
 
根据本实用新型的一个实施例,所述限位传感器包括位于同步带上的限位片,以及位于从动轮处的光电传感器;限位片随同步带运动至光电传感器处,触发限位信号则同步带停止动作。
 
本技术方案中,光电传感器由发射器和接收器,发射器发出光束,接收器则检测反射回来的光束或穿过物体的光束;当限位片经过传感器时,会改变光束的路径,从而被接收器检测到。
 
根据本实用新型的一个实施例,所述卷筒与拉杆之间设置有遮阳帘布,遮阳帘布下拉的极限位置与光电传感器的安装位置一致。
 
本技术方案通过将光电传感器安装在遮阳帘布下拉的极限位置,实现对遮阳帘布位置的精确检测。一旦遮阳帘布到达这个位置,光电传感器就会触发一个控制信号,用于停止卷筒的旋转或反转,从而防止遮阳帘布过度下拉或损坏。
 
根据本实用新型的一个实施例,本实用新型还包括控制器,控制器的输入端分别与位置传感器、限位传感器相连;控制器的输出端分别与驱动电机相连;控制器内置有通信模块,控制器通过通信模块与总控机相连。
 
本技术方案通过将位置传感器和限位传感器的输出信号作为控制器的输入,将驱动电机的输入信号作为控制器的输出,形成一个闭环控制系统;通信模块采用RS-485、CAN总线或Wi-Fi、蓝牙、Zigbee模块与总控机之间进行通信。
 
根据本实用新型的一个实施例,所述控制器、右支撑、左支撑、从动轮均安装于墙体上。
 
本技术方案中,右支撑与左支撑保持固定状态,与从动轮一同构成稳定的支撑结构,支撑结构不仅支撑位于其内侧的卷筒和拉杆,还确保同步带能够顺利进行相对卷收动作。
 
本实用新型与现有技术相比,具有以下有益效果:
 
通过改进右支撑、左支撑和从动轮的结构,配合原有的卷筒、拉杆和同步带,实现手动和自动两种控制模式,也实现对遮阳帘运动位置的精确控制。
 
附图说明
 
图1是本实用新型的结构示意图。
 
图2是右支撑的结构示意图。
 
图3是右支撑的结构示意图。
 
图4是控制器与卷轴的结构示意图。
 
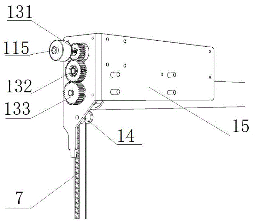
图中:1、右支撑;11、驱动系统;111、直线电机;112、限位块;113、电磁离合器;114、轴承座;115、位置传感器;12、同步轮;13、齿轮组;121、齿轮Ⅰ;122、齿轮Ⅲ;123、齿轮Ⅱ;14、导向轮;15、安装座;2、左支撑;3、卷筒;31、芯轴;32、堵头;33、支撑块;34、卷簧;4、拉杆;5、从动轮;51、支架;52、滑轮;53、预紧轮;6、限位传感器;7、同步带;8、控制器。
 
具体实施方式
 
下面将结合本实用新型实施例中的附图,对本实用新型实施例中的技术方案进行清楚、完整地描述,显然,所描述的实施例是本实用新型一部分实施例,而不是全部的实施例。基于本实用新型中的实施例,本领域普通技术人员在没有做出创造性劳动前提下所获得的所有其他实施例,都属于本实用新型保护的范围。
 
实施例1
 
如图1至图4所示,本实施例提供一种手自一体双侧同步带传动遮阳帘,包括卷筒3、拉杆4和同步带7;卷筒3两侧设右支撑1和左支撑2,拉杆4底部装有从动轮5;右支撑1包括驱动电机、齿轮组13和同步轮12,驱动电机通过齿轮组13与同步轮12咬合;齿轮组13上装有位置传感器115;左支撑2装有同步轮12,两侧同步轮12连接卷筒3;从动轮5包括支架51、滑轮52、预紧轮53,同步带7经滑轮52、预紧轮53、拉杆4连接至同步轮12上;同步带7上装有限位传感器6。
 
如图1至图4所示,本技术方案通过改进支撑、左支撑2和从动轮5的结构,配合原有的卷筒3、拉杆4和同步带7,实现手动和自动两种控制模式,也实现对遮阳帘运动位置的精确控制。具体地,卷筒3与拉杆4组件通过拉杆4的上下移动与遮阳帘布相连,而双侧支撑则固定并支撑这些结构;驱动系统11位于右支撑1内,通过齿轮组13和电磁离合器113将动力传递至芯轴31,进而驱动同步轮12旋转;双侧同步带7则连接两侧的同步轮12,将动力转化为拉杆4的上下移动;传感器系统包括位置传感器115和限位传感器6,分别监控拉杆4的位置和遮阳帘布的极限位置,控制驱动电机和电磁离合器113的运行,并向总控机传递遮阳帘布的状态信息。
 
另外,根据本实用新型上述提出手自一体双侧同步带传动遮阳帘还具有如下附加技术特征:
 
根据本实用新型的一个实施例,所述卷筒3还包括芯轴31、堵头32、卷簧34和支撑块33,芯轴31的两端通过堵头32安装于右支撑1和左支撑2,且芯轴31的末端与同步轮12相连;芯轴31的中部套接卷簧34,并通过支撑块33对卷筒3施加弹力。
 
本技术方案中,芯轴31不仅支撑整个卷筒3,还通过其末端的连接与同步轮12实现动力的传递;堵头32确保芯轴31能够稳固地安装于左右支撑1上,防止其松动或脱落;卷簧34与支撑块33共同作用,为卷筒3提供必要的弹力,使得遮阳帘布在卷收和展开过程中能够保持平稳和有序。
 
根据本实用新型的一个实施例,所述右支撑1还包括安装座15、限位块112、电磁离合器113和轴承座114,安装座15上安装有驱动电机和轴承座114,驱动电机的输出端通过限位块112与电磁离合器113相连,电磁离合器113的输出端连接至轴承座114,轴承座114的输出端连接至齿轮组13。
 
本技术方案中,限位块112确保驱动电机的输出端与电磁离合器113的输入端之间保持适当的间隙和连接状态,防止因连接过紧或过松而导致的故障;电磁离合器113通过控制电流的通断来控制离合器的吸合与分离;当电流通过时,离合器吸合,将驱动电机的动力传递给轴承座114;当电流切断时,离合器分离,切断动力的传递;电磁离合器113还通过调节电流的大小来控制传递的扭矩大小;轴承座114内部安装有轴承,轴承通过滚动或滑动的方式减少旋转部件之间的摩擦和磨损;通过调整齿轮组13的齿数和模数,实现不同的传动比和扭矩传递能力。
 
根据本实用新型的一个实施例,所述齿轮组13包括壳体,以及安装于壳体内的齿轮Ⅰ121、齿轮Ⅱ123和齿轮Ⅲ122;齿轮Ⅰ121与轴承座114的输出端相连,齿轮Ⅱ123与芯轴31的右侧末端相连,齿轮Ⅲ122分别与齿轮Ⅰ121和齿轮Ⅱ123相互啮合;位置传感器115位于齿轮Ⅰ121和壳体之间。
 
本技术方案中,壳体防止灰尘、水分等杂质进入,同时支撑齿轮组13之间的相对位置;齿轮Ⅰ121与轴承座114的输出端相连,将旋转动力传递给齿轮Ⅲ122;齿轮Ⅲ122与齿轮Ⅱ123,将旋转动力传递给齿轮Ⅱ123;齿轮Ⅱ123与芯轴31的右侧末端相连,将旋转动力传递给芯轴31;芯轴31上有同步轮12,同步轮12将动力传递给同步带7。位置传感器115通常为电磁感应传感器、光电传感器,实时监测齿轮Ⅰ121的旋转状态,并将监测到的信号转换为电信号,传递给控制器8。
 
根据本实用新型的一个实施例,所述右支撑1还包括导向轮14,导向轮14位于右侧同步轮12的下方,同步带7经由同步轮12并通过导向轮14连接至拉杆4。
 
本技术方案中,导向轮14用于确保同步带7能够平稳地绕过同步轮12并传递到拉杆4,从而实现动力或运动的传递;通过调整导向轮14的位置和角度,确保同步带7在运行过程中不会偏离预定的路径,从而保持与同步轮12的同步运行。
 
根据本实用新型的一个实施例,所述从动轮5还包括调整螺钉,调整螺钉位于预紧轮53与支架51之间,通过调节预紧轮53与滑轮52之间距离,调节同步带7的张紧程度。
 
本技术方案中,在长期使用过程中,由于磨损或变形等原因,同步带7的张紧程度会发生变化,通过旋转调整螺钉即可轻松实现对同步带7张紧程度的调节;旋转调整螺钉时,其轴向位置会发生变化,从而推动或拉动预紧轮53,改变预紧轮53与滑轮52之间的距离,进而调节同步带7的张紧程度。
 
根据本实用新型的一个实施例,所述限位传感器6包括位于同步带7上的限位片,以及位于从动轮5处的光电传感器;限位片随同步带7运动至光电传感器处,触发限位信号则同步带7停止动作。
 
本技术方案中,光电传感器由发射器和接收器,发射器发出光束,接收器则检测反射回来的光束或穿过物体的光束;当限位片经过传感器时,会改变光束的路径,从而被接收器检测到。
 
根据本实用新型的一个实施例,所述卷筒3与拉杆4之间设置有遮阳帘布,遮阳帘布下拉的极限位置与光电传感器的安装位置一致。
 
本技术方案通过将光电传感器安装在遮阳帘布下拉的极限位置,实现对遮阳帘布位置的精确检测。一旦遮阳帘布到达这个位置,光电传感器就会触发一个控制信号,用于停止卷筒3的旋转或反转,从而防止遮阳帘布过度下拉或损坏。
 
根据本实用新型的一个实施例,本实用新型还包括控制器8,控制器8的输入端分别与位置传感器115、限位传感器6相连;控制器8的输出端分别与驱动电机相连;控制器8内置有通信模块,控制器8通过通信模块与总控机相连。
 
本技术方案通过将位置传感器115和限位传感器6的输出信号作为控制器8的输入,将驱动电机的输入信号作为控制器8的输出,形成一个闭环控制系统;通信模块采用RS-485、CAN总线或Wi-Fi、蓝牙、Zigbee模块与总控机之间进行通信。
 
根据本实用新型的一个实施例,所述控制器8、右支撑1、左支撑2、从动轮5均安装于墙体上。
 
本技术方案中,右支撑1与左支撑2保持固定状态,与从动轮5一同构成稳定的支撑结构,支撑结构不仅支撑位于其内侧的卷筒3和拉杆4,还确保同步带7能够顺利进行相对卷收动作。
 
上述实施例的使用过程如下:
 
如图1至图4所示,在手动模式下,用户通过上下拉动拉杆4来驱动遮阳帘布的展开与卷收;拉杆4的移动会带动从动轮5及其上的滑轮52和预紧轮53,进而拉动或释放同步带7;同步带7在双侧同步轮12的引导下,将拉杆4的直线运动转化为卷筒3的旋转运动;此时,驱动电机和电磁离合器113处于非工作状态,齿轮组13和同步轮12之间的动力传递被切断;位置传感器115和限位传感器6持续监控拉杆4和遮阳帘布的位置;
 
如图1至图4所示,在电动模式下,用户通过控制总控机向控制器8发送信息;控制器8接收到信息后,通过电磁离合器113将驱动电机的动力传递给齿轮组13;齿轮组13的旋转会带动芯轴31及其上的同步轮12,进而驱动同步带7进行移动;同步带7的移动又通过从动轮5和拉杆4转化为遮阳帘布的展开或卷收;在这个过程中,位置传感器115实时监测齿轮组13的旋转状态,并将信号反馈给控制器8;当遮阳帘布到达预设位置或极限位置时,限位传感器6会触发控制信号,控制器8根据信号控制驱动电机停止工作或反转,从而实现遮阳帘布的精确控制。
 
需要说明的是:本实用新型仅改进硬件结构,并为对软件进行任何改进,属于实用新型保护客体。
 
尽管通过参考附图并结合优选实施例的方式对本实用新型进行详细描述,但本实用新型并不限于此。在不脱离本实用新型的精神和实质的前提下,本领域普通技术人员对本实用新型的实施例进行各种等效的修改或替换,而这些修改或替换都应在本实用新型的涵盖范围内/任何熟悉本技术领域的技术人员在本实用新型揭露的技术范围内,可轻易想到变化或替换,都应涵盖在本实用新型的保护范围之内。因此,本实用新型的保护范围应以所述权利要求的保护范围为准。
Copyright © 宁波鄞州盖奇同步带轮有限公司 2007-2022 All Rights Reserved.
电话:4006-574-123/0574-27834692 传真:0574-27834691
地址:浙江省宁波市鄞州区姜山镇蔡郎桥村姜南路39-2 E-Mail:sales@belt-pulley.com  
浙ICP备09102982号 盖奇公司网络部提供技术支持 浙公网安备33021202003319号