当前位置:首页->吸风传送箱的同步带传动装置

 吸风传送箱的同步带传动装置

申请(专利)号: CN200710026983.6
申请日: 2007.02.15
申请公布号: CN101015964A
公开公告日: 2007.08.15
主分类号: B31B1/12(2006.01)
分类号: B31B1/12(2006.01); F16H7/02(2006.01);
申请权利人: 李明康;
发明设计人: 卢湘桂;
地址: 528252广东省佛山市南海区平洲南桥工业区南台实业有限公司
国省代码: 广东;44
代理机构: 佛山市南海智维专利代理有限公司
代理人: 梁国杰
 
摘要:
本发明属于一种吸风传送箱的同步带传动装置。包括有主轴、圆弧齿同步大带轮、圆弧齿同步带、调整螺钉、圆弧齿同步小带轮、滚轮传动轴、张紧轮、张紧轮、张紧轮座、吸风箱带轮轴承板、吸风箱带轮固定支板、左右侧封板、传送轮,圆弧齿同步大带轮装在主轴上,圆弧齿同步小带轮、传送轮装在滚轮传动轴上,张紧轮装在张紧轮座,张紧轮座与张紧轮装在吸风箱左右侧封板上,整个传动装置由吸风箱带轮轴承板和吸风箱左右侧封板支承,由吸风箱带轮固定支板固定,两组传动装置分布于吸风箱左右侧封板的外侧。本发明传动比准确、传动效率高、结构紧凑、安装维修方便的吸风传送箱同步带传动装置。
 
主权项:
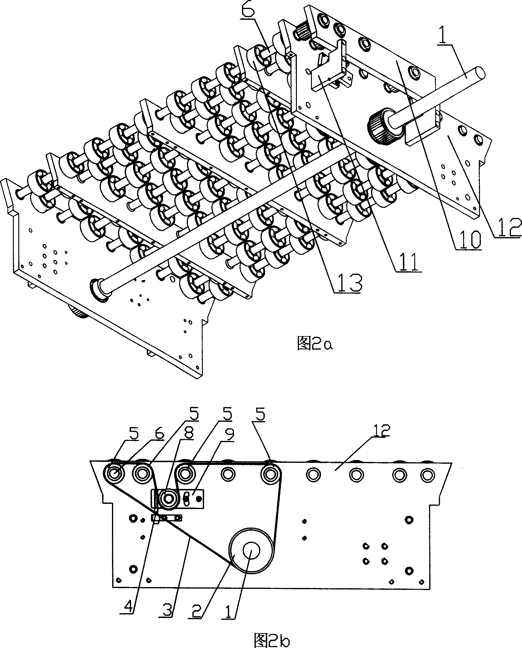
1、吸风传送箱的同步带传动装置,包括有主轴(1)、圆弧齿同步大带轮(2)、圆弧齿同步带(3)、调整螺钉(4)、圆弧齿同步小带轮(5)、滚轮传动轴(6)、张紧轮(7)、张紧轮(8)、张紧轮座(9)、吸风箱带轮轴承板(10)、吸风箱带轮固定支板(11)、左右侧封板(12)、传送轮(13),其特征在于:圆弧齿同步大带轮(2)装在主轴(1)上,圆弧齿同步小带轮(5)、传送轮(13)装在滚轮传动轴(6)上,张紧轮(8)装在张紧轮座(9),张紧轮座(9)与张紧轮(7)装在吸风箱左右侧封板(12)上,整个传动装置由吸风箱带轮轴承板(10)和吸风箱左右侧封板(12)支承,由吸风箱带轮固定支板(11)固定,两组传动装置分布于吸风箱左右侧封板(12)的外侧。
1、吸风传送箱的同步带传动装置,包括有主轴(1)、圆弧齿同 步大带轮(2)、圆弧齿同步带(3)、调整螺钉(4)、圆弧齿同步小带 轮(5)、滚轮传动轴(6)、张紧轮(7)、张紧轮(8)、张紧轮座(9)、 吸风箱带轮轴承板(10)、吸风箱带轮固定支板(11)、左右侧封板(12)、 传送轮(13),其特征在于:圆弧齿同步大带轮(2)装在主轴(1) 上,圆弧齿同步小带轮(5)、传送轮(13)装在滚轮传动轴(6)上, 张紧轮(8)装在张紧轮座(9),张紧轮座(9)与张紧轮(7)装在 吸风箱左右侧封板(12)上,整个传动装置由吸风箱带轮轴承板(10) 和吸风箱左右侧封板(12)支承,由吸风箱带轮固定支板(11)固定, 两组传动装置分布于吸风箱左右侧封板(12)的外侧。
吸风传送箱的同步带传动装置
技术领域
 
本发明涉及一种瓦楞纸箱机械配件技术领域的同步带传动,属于 一种吸风传送箱的同步带传动装置。
 
背景技术
 
吸风传送箱是瓦楞纸箱机械的纸板传送部件,瓦楞纸板由送纸部 送至吸风传送箱,然后在吸风传送箱的真空吸附下紧帖于吸风传送箱 的托纸封板上。同时,主传动经同步带传动装置传给滚轮传动轴,从 而驱动吸风传送轮按一定规律转动,利用吸风传送轮与纸板的摩擦作 用,带动纸板向前运动,完成纸板的传送过程。为保证纸板获得足够 的套印、成型精度,要求纸板严格按一定的速度运动,整个传送过程 应保持平稳可靠,因此,吸风传送箱的组传送轮(共9×10=90个) 必须按同一速度运动。由于吸风传送箱的安装位置处于设备的下部、 两机板的内侧,且每台设备须配置6-8个,所以,吸风传送箱的结 构必须紧凑、安装维修方便。
 
发明内容
 
本发明的目的是提供一种传动比准确、传动效率高、结构紧凑、 安装维修方便的吸风传送箱同步带传动装置。
 
本发明的目的是这样实现的:吸风传送箱的同步带传动装置,包 括有主轴、圆弧齿同步大带轮、圆弧齿同步带、调整螺钉、圆弧齿同 步小带轮、滚轮传动轴、张紧轮、张紧轮、张紧轮座、吸风箱带轮轴 承板、吸风箱带轮固定支板、左右侧封板、传送轮,圆弧齿同步大带 轮装在主轴上,圆弧齿同步小带轮、传送轮装在滚轮传动轴上,张紧 轮装在张紧轮座,张紧轮座与张紧轮装在吸风箱左右侧封板上,整个 传动装置由吸风箱带轮轴承板和吸风箱左右侧封板支承,由吸风箱带 轮固定支板固定,两组传动装置分布于吸风箱左右侧封板的外侧。
 
本发明靠齿啮合传动,传动比准确,传动效率高,初张紧力最小, 轴承承受压力最小,瞬时速度均匀,保证了各组传送轮的转速一致性; 耐冲击振动较好,使系统的传动更平稳;结构紧凑、安装维修简便。
 
附图说明
 
图1a图1b为本发明实施例左侧传动的结构示意图
 
图2a图1b为本发明实施例右侧传动的结构示意图
 
图3为本发明实施例的顶视图
 
具体实施方式
 
参照图1a、图1b、图2a、图2b、图3,本发明实施例的圆弧齿 同步大带轮2装在主轴1上,圆弧齿同步小带轮5、传送轮13装在 滚轮传动轴6上,张紧轮8装在张紧轮座9,张紧轮座9与张紧轮7 装在吸风箱左右侧封板12上,圆弧齿同步大带轮2通过圆弧齿同步 带3带动各个圆弧齿同步小带轮5转动,张紧轮8通过调整螺钉4与 张紧轮7调整圆弧齿同步带3的张力。整个传动装置由吸风箱带轮轴 承板10和吸风箱左右侧封板12支承,由吸风箱带轮固定支板11固 定,两组传动装置分布于吸风箱左右侧封板12的外侧,联合驱动9 组传送轮13同时转动。
Copyright © 宁波鄞州盖奇同步带轮有限公司 2007-2022 All Rights Reserved.
电话:4006-574-123/0574-27834692 传真:0574-27834691
地址:浙江省宁波市鄞州区姜山镇蔡郎桥村姜南路39-2 E-Mail:sales@belt-pulley.com  
浙ICP备09102982号 盖奇公司网络部提供技术支持 浙公网安备33021202003319号