当前位置:首页->一种同步带传动机械臂启停摆动抑制方法及系统

 一种同步带传动机械臂启停摆动抑制方法及系统

申请(专利)号: CN202511642638.X
申请日: 2025.11.11
申请公布号: CN121157003A
公开公告日: 2025.12.19
主分类号: B25J9/10(2006.01)
分类号: B25J9/10(2006.01); B25J9/16(2006.01); G06F30/17(2020.01); G06F30/27(2020.01); G06F18/2321(2023.01); G01M13/028(2019.01);
申请权利人: 成都思越智能装备股份有限公司;
发明设计人: 赵建普; 张进;
地址: 611731 四川省成都市高新区新航路18号104栋1单元1层1号
国省代码: 四川;51
代理机构: 北京中创博腾知识产权代理事务所(普通合伙) 11636
代理人: 金建星
 
摘要:
本发明提供了一种同步带传动机械臂启停摆动抑制方法及系统,涉及机械臂技术领域,同步带传动机械臂启停摆动抑制方法包括:获取所述同步带传动机械臂的实时振动数据;基于所述实时振动数据,获取第一摆动量与时间的对应关系;基于所述第一摆动量与时间的对应关系,获取第二摆动量与时间的对应关系;根据所述第一摆动量与时间的对应关系和所述第二摆动量与时间的对应关系,调整驱动轮的转动方式,以抑制所述同步带传动机械臂摆动。本发明的同步带传动机械臂启停摆动抑制方法及系统解决了相关技术中同步带传动机械臂在启动和停止时,因同步带的张力和拉伸量变化导致机械臂在启动和停止时的振动值较高的技术问题。
 
主权项:
1.一种同步带传动机械臂启停摆动抑制方法,其特征在于,包括:获取所述同步带传动机械臂的实时振动数据;基于所述实时振动数据,获取第一摆动量与时间的对应关系;基于所述第一摆动量与时间的对应关系,获取第二摆动量与时间的对应关系;根据所述第一摆动量与时间的对应关系和所述第二摆动量与时间的对应关系,调整驱动轮(3)的转动方式,以抑制所述同步带传动机械臂摆动。
1.一种同步带传动机械臂启停摆动抑制方法,其特征在于,包括:
 
获取所述同步带传动机械臂的实时振动数据;
 
基于所述实时振动数据,获取第一摆动量与时间的对应关系;
 
基于所述第一摆动量与时间的对应关系,获取第二摆动量与时间的对应关系;
 
根据所述第一摆动量与时间的对应关系和所述第二摆动量与时间的对应关系,调整驱动轮(3)的转动方式,以抑制所述同步带传动机械臂摆动。
 
2.根据权利要求1所述的同步带传动机械臂启停摆动抑制方法,其特征在于,所述同步带传动机械臂包括第一机械臂(1)和第二机械臂(2);
 
所述第一摆动量为所述第二机械臂(2)的摆动位移y;
 
所述第二摆动量为所述第二机械臂(2)的摆动角度θ。
 
3.根据权利要求1所述的同步带传动机械臂启停摆动抑制方法,其特征在于,所述获取第一摆动量与时间的对应关系的方法包括:
 
多次采集所述第二机械臂(2)在预设时间点的所述第一摆动量yij,得到第一摆动数据集Yi;
 
基于所述第一摆动数据集Yi,获取所述第二机械臂(2)的第一摆动代表量yi*;
 
基于所述第一摆动代表量yi*和与所述第一摆动代表量对应的预设时间点,获取所述第一摆动量yij与时间t的对应关系。
 
4.根据权利要求3所述的同步带传动机械臂启停摆动抑制方法,其特征在于,所述获取所述第二机械臂(2)的第一摆动代表量yi*的方法包括:
 
定义所述第一摆动数据集Yi中的每个所述第一摆动量yij对应的高斯核密度ρj;
 
计算每个所述高斯核密度ρj大于所述第一摆动量yij的点与所述第一摆动量yij之间的最小距离δj;
 
基于所述最小距离δj,获取每个所述第一摆动量yij对应的聚类中心度量γij,其中,所述聚类中心度量γij最大点对应的所述第一摆动量yij为第一摆动代表量yi*。
 
5.根据权利要求4所述的同步带传动机械臂启停摆动抑制方法,其特征在于,获取所述聚类中心度量γij的方法包括:
 
 
其中,γij为聚类中心度量,α为权重因子,α∈[0,1], ρij为局部密度,表示点yij周围点的密集程度,δij为相对距离,表示点yij与比它更密集的点的最小距离。
 
6.根据权利要求2所述的同步带传动机械臂启停摆动抑制方法,其特征在于,所述获取第二摆动量与时间的对应关系的方法包括:基于所述第一摆动量,计算所述第二摆动量;
 
计算所述第二摆动量的方法为θ=arcsiny/L,
 
其中,θ为第二摆动量,y为第二机械臂(2)的摆动位移y,L为第二机械臂(2)的长度。
 
7.根据权利要求6所述的同步带传动机械臂启停摆动抑制方法,其特征在于,所述调整驱动轮(3)的转动方式的方法包括:
 
基于驱动轮(3)与从动轮的同步轮齿数比获得输入摆动量θ1;
 
基于所述第二摆动量与时间的对应关系,获得所述输入摆动量与时间的对应关系;
 
将所述输入摆动量与时间的对应关系输入预设驱动程序,得到凸轮曲线。
 
8.根据权利要求7所述的同步带传动机械臂启停摆动抑制方法,其特征在于,所述获得输入摆动量θ1的方法具体为:
 
获取所述驱动轮(3)与所述从动轮的同步轮齿数比1:n;
 
所述输入摆动量θ1=θ/n=(arcsiny/L)/n。
 
9.一种同步带传动机械臂启停摆动抑制系统,其特征在于,所述同步带传动机械臂启停摆动抑制系统包括:
 
采集模块,所述采集模块用于获取所述同步带传动机械臂的实时振动数据;
 
第一计算模块,所述第一计算模块用于基于所述实时振动数据,获取第一摆动量与时间的对应关系;
 
第二计算模块,所述第二计算模块用于基于所述第一摆动量与时间的对应关系,获取第二摆动量与时间的对应关系;
 
抑制模块,所述抑制模块用于根据所述第一摆动量与时间的对应关系和所述第二摆动量与时间的对应关系,调整驱动轮(3)的转动方式,以抑制所述同步带传动机械臂摆动。
 
10.一种计算机可读存储介质,所述计算机可读存储介质上存储有计算机可读指令,其特征在于,所述计算机可读指令被处理器执行时实现如权利要求1-8中任一项所述同步带传动机械臂启停摆动抑制方法的各个步骤或权利要求9所述的同步带传动机械臂启停摆动抑制系统。
一种同步带传动机械臂启停摆动抑制方法及系统
技术领域
 
本发明涉及机械臂技术领域,具体涉及一种同步带传动机械臂启停摆动抑制方法及系统。
 
背景技术
 
机械臂作为自动化领域的关键装备,其发展始于20世纪中期工业机器人技术的兴起,早期多用于汽车制造等重复性作业场景。随着传感器技术、运动控制算法及人工智能的突破,现代机械臂已广泛应用于精密加工、医疗手术、物流分拣、危险环境作业等领域。同步带传动作为机械臂的主要传动方式,具有精度高、噪音低以及无需润滑等优点。但因为同步带具有弹性变形的特性,传动时,同步轮两侧的同步带张力和拉伸量不相同。
 
以机械臂停止为例,当机械臂运动时,驱动轮以逆时针方向旋转带动同步带转动,此时同步带上侧张力比同步带下侧大。当机械臂收到停止信号时,主动轮停止转动,从动轮因为机械臂的惯性会继续转动,此时同步带下侧的张力和拉伸量会逐渐变大,同步带上侧的张力和拉伸量会逐渐变小。当同步带下侧的张力逐渐变大到超过从动轮的惯性时,因弹性原理,同步带下侧的张力和拉伸量会逐渐变小,同步带上侧的张力和拉伸量会逐渐变大。持续以上过程,直到同步带的张力和惯性达到平衡。因同步带的拉伸量变化,当机械臂收到停止信号时,从动轮并不是立刻完全停止转动的,而是会随着同步带的拉伸量变化而进行往复旋转运动,往复角度逐渐变小直到停止。反馈到机械臂上的现象,就是机械臂收到停止信号后,手臂并不会立刻停止,而是会进行往复摆动运动,摆动角度逐渐变小直到停止。机械臂启动时与机械臂停止时情况类似,但因为机械臂启动时主动轮式处于匀加速运动。因此,从动轮不仅有往复摆动运动,还有匀加速运动。两种运动的运行情况,都会对机械臂的最终运行状态有影响。同步带传动机械臂在启动和停止时,因同步带的张力和拉伸量变化,从动轮和主动轮的转动并不是完全同步。这会导致机械臂在启动和停止时的运动状态,并不是匀加速或匀减速状态。这会导致机械臂启停时的振动值比匀加速和匀减速状态高,是整个机械臂运行过程中最高的时候。
 
因此,同步带传动机械臂在停止时,并不会立刻停止,而是会进行往复摆动运动,摆动角度逐渐变小直到停止,在启动时,并不是匀加速运动,而是匀加速以及往复摆动运动的叠加状态。在启动和停止时,并不是匀加速或匀减速状态,并且此时机械臂的振动值在整个运行过程中最高。在很多精密加工行业,对机械臂运行过程中的振动值有严格要求,降低机械臂在启停时的振动值相当于降低了机械臂在整个运行过程中的振动值。
 
现有技术中同步带传动机械臂常规的抑制启停摆动包括减小机械臂传输重量,或者选型规格更大的同步带,但是,这种方法传送相同重量的物品,会增加机械臂的体积以及制造成本。或者通过增大驱动电机的刚性参数来抑制启停摆动,这种方法传送相同重量的物品,需要选型更大的电机,增加制造成本。或者提高同步带的张紧力抑制摆动,但是,较高的同步带张紧力,会减小同步带的使用寿命。
 
因此,现有技术有待于进一步发展。
 
发明内容
 
本发明的目的在于克服上述技术不足,提供一种同步带传动机械臂启停摆动抑制方法及系统,以解决相关技术中同步带传动机械臂在启动和停止时,因同步带的张力和拉伸量变化导致机械臂在启动和停止时的振动值较高的技术问题。
 
为达到上述技术目的,本发明采取了以下技术方案:提供了一种同步带传动机械臂启停摆动抑制方法,包括:获取所述同步带传动机械臂的实时振动数据;基于所述实时振动数据,获取第一摆动量与时间的对应关系;基于所述第一摆动量与时间的对应关系,获取第二摆动量与时间的对应关系;根据所述第一摆动量与时间的对应关系和所述第二摆动量与时间的对应关系,调整驱动轮的转动方式,以抑制所述同步带传动机械臂摆动。
 
进一步地,所述同步带传动机械臂包括第一机械臂和第二机械臂;所述第一摆动量为所述第二机械臂的摆动位移y;所述第二摆动量为所述第二机械臂的摆动角度θ。
 
进一步地,所述获取第一摆动量与时间的对应关系的方法包括:多次采集所述第二机械臂在预设时间点的所述第一摆动量yij,得到第一摆动数据集Yi;基于所述第一摆动数据集Yi,获取所述第二机械臂的第一摆动代表量yi*;基于所述第一摆动代表量和与所述第一摆动代表量对应的预设时间点,获取所述第一摆动量与所述时间的对应关系。
 
进一步地,所述获取所述第二机械臂的第一摆动代表量yi*的方法包括:定义所述第一摆动数据集Yi中的每个所述第一摆动量yij的高斯核密度ρj;计算每个所述高斯核密度ρj大于所述第一摆动量yij的点与所述第一摆动量yij之间的最小距离δj;基于所述最小距离δj,获取每个所述第一摆动量yij对应的聚类中心度量γij;具有最大所述聚类中心度量γij的所述第一摆动量yij为第一摆动代表量yi*。
 
进一步地,获取所述聚类中心度量γij的方法包括:;
 
其中,γij为聚类中心度量,α为权重因子,α∈[0,1], ρij为局部密度,表示点yij周围点的密集程度,δij为相对距离,表示点yij与比它更密集的点的最小距离。
 
进一步地,所述获取第二摆动量与时间的对应关系的方法包括:基于所述第一摆动量,计算所述第二摆动量;计算所述第二摆动量的方法为θ=arcsiny/L,其中,θ为第二摆动量,y为第二机械臂的摆动位移y,L为第二机械臂的长度。
 
进一步地,所述调整驱动轮的转动方式的方法包括:基于驱动轮与从动轮的同步轮齿数比获得输入摆动量θ1;基于所述第二摆动量与时间的对应关系,获得所述输入摆动量与时间的对应关系;将所述输入摆动量与时间的对应关系输入预设驱动程序,得到凸轮曲线。
 
进一步地,所述获得输入摆动量θ1的方法具体为:获取所述驱动轮与所述从动轮的同步轮齿数比1:n;所述输入摆动量θ1=θ/n=(arcsiny/L)/n。
 
还提供了一种同步带传动机械臂启停摆动抑制系统,包括:采集模块,所述采集模块用于获取所述同步带传动机械臂的实时振动数据;第一计算模块,所述第一计算模块用于基于所述实时振动数据,获取第一摆动量与时间的对应关系;第二计算模块,所述第二计算模块用于基于所述第一摆动量与时间的对应关系,获取第二摆动量与时间的对应关系;抑制模块,所述抑制模块用于根据所述第一摆动量与时间的对应关系和所述第二摆动量与时间的对应关系,调整驱动轮的转动方式,以抑制所述同步带传动机械臂摆动。
 
还提供了一种计算机可读存储介质,所述计算机可读存储介质上存储有计算机可读指令,所述计算机可读指令被处理器执行时实现如上任一项所述同步带传动机械臂启停摆动抑制方法的各个步骤或同步带传动机械臂启停摆动抑制系统。
 
有益效果
 
1、本发明的同步带传动机械臂启停摆动抑制方法能够基于高精度的代表性位移数据预测摆动的趋势,并提前发出指令调整驱动轮,实现超前、精准的抑制,而非滞后、被动的响应,极大提升了抑振的效率和效果,显著减少了摆动收敛至稳定状态所需的时间,提高了机械臂的工作节拍和效率。
 
2、本发明的同步带传动机械臂启停摆动抑制方法通过基于精确的代表值曲线,控制系统可以规划出一条平滑的最优抑振轨迹,驱动轮的运动指令是连续、平滑变化的,其目的是让机械臂沿着理想的衰减曲线平稳地回归静止,而不是生硬地“刹停”,不需要机械臂将同步带的张紧力调到较高的状态进行工作,减少了对整个机械结构的冲击,有助于降低部件磨损、延长设备寿命、提高运动精度,同时运动过程也更安静、更柔顺。
 
3、本发明的同步带传动机械臂启停摆动抑制方法可使相同大小的机械臂提高其传输重量而不影响传输稳定性,也不增加传输振动;使传输相同重量的机械臂选型更小规格的同步带,缩小机械臂体积的同时不影响传输稳定性,不增加传输振动。
 
附图说明
 
图1是本发明实施例采用的同步带传动机械臂启停摆动抑制方法流程图;
 
图2是本发明实施例采用的同步带传动机械臂启停摆动抑制系统的结构示意图;
 
图3是本发明实施例采用的同步带传动机械臂的结构示意图;
 
图4是本发明实施例采用的同步带传动机械臂启停摆动抑制效果示意图。
 
其中,上述附图包括以下附图标记:
 
1、第一机械臂;2、第二机械臂;3、驱动轮;4、同步带;5、摆动测量点。
 
具体实施方式
 
为了使本技术领域的人员更好地理解本申请方案,下面将结合本申请实施例中的附图,对本申请实施例中的技术方案进行清楚、完整地描述,显然,所描述的实施例仅仅是本申请一部分的实施例,而不是全部的实施例。基于本申请中的实施例,本领域普通技术人员在没有做出创造性劳动前提下所获得的所有其他实施例,都应当属于本申请保护的范围。
 
根据本发明实施例,提供了一种同步带传动机械臂启停摆动抑制方法,请参阅图1至图4,包括:
 
S100获取所述同步带传动机械臂的实时振动数据;
 
具体地,所述同步带传动机械臂包括第一机械臂和第二机械臂;
 
获取同步带传动机械臂的实时振动数据的方法包括:
 
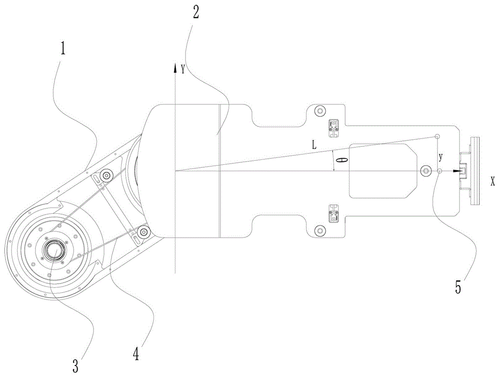
在本实施例中,参见图3,X轴是第二机械臂2自然状态下的位置,第二机械臂2上具有摆动测量点5,摆动测量点5摆动后与X轴的相对距离为y,摆动测量点5与第二机械臂2旋转点的距离为L。
 
在具体实践中,根据振动传感器检测到的第二机械臂2停止时摆动测量点5的摆动位移情况,即可得到摆动测量点5的摆动位移y随时间t的变化曲线,进而通过振动传感器输出y随时间t变化的对应关系表。
 
优选地,本实施例设置振动传感器的采样频率为每秒10次,则输出每隔0.1秒时,摆动位移y的值,机械臂作为大型、高惯量设备,其停止后的残余摆动通常是一种低频、衰减的振动,采用每秒10次的采样率能有效捕获机械臂停止后的典型摆动频率,确保不丢失关键运动信息,既保证了能完整地描述摆动过程,又避免了采样率过低导致的信息丢失。
 
S200基于所述实时振动数据,获取第一摆动量与时间的对应关系;
 
具体地,所述第一摆动量为所述第二机械臂的摆动位移y。
 
在本实施例中,采用密度峰值聚类算法DPC 对多次测量得到的摆动位移y随时间t变化的多组对应关系表进行数据处理,得到最终的第一摆动量与时间的对应关系表。
 
具体地,获取第一摆动量与时间的对应关系的方法包括:
 
多次采集所述第二机械臂在预设时间点的所述第一摆动量yij,得到第一摆动数据集Yi;
 
基于所述第一摆动数据集Yi,获取所述第二机械臂的第一摆动代表量yi*;
 
其中,所述获取所述第二机械臂的第一摆动代表量yi*的方法包括:
 
定义所述第一摆动数据集Yi中的每个所述第一摆动量yij的高斯核密度ρj;
 
计算每个所述高斯核密度ρj大于所述第一摆动量yij的点与所述第一摆动量yij之间的最小距离δj;
 
基于所述最小距离δj,获取每个所述第一摆动量yij对应的聚类中心度量γij;
 
其中,获取所述聚类中心度量的方法包括:
 
 ;
 
其中,γij为聚类中心度量,α为权重因子,α∈[0,1], ρij为局部密度,表示点yij周围点的密集程度,δij为相对距离,表示点yij与比它更密集的点的最小距离。
 
具体地,α为权重因子,用于控制密度和距离,α∈[0,1],当α=1,只看密度,等于“挑选最拥挤的点”, 当α=0,只看距离,等于“挑选最孤立的点”。局部密度和相对距离相乘表达意义为:只有同时密度高且离其他高密度点远的点,才会大,这样自动排除了“密度高但依附的点”和“孤立噪声点”,获得了类簇中心。
 
衡量“热闹/聚集程度”(周围有多少邻居),衡量“独立/显著性”(是否远离其他更高密度点,是否是独立峰),乘积的意义:同时满足两者,乘法(尤其是几何平均性质)会放大“二者都大”的点,而当任一指标很小时,乘积会被压低(即必须两者兼具才好),引入参数α是为了控制ρij和δij二者的权重,α越大,更强调密度(倾向选择“更拥挤”的点);α越小,更强调独立性(倾向选择“更孤立/更峰峰分明”的点);简言之只有同时具备“高密度”和“独立性”的点,γij才最大,从而被识别为聚类中心。
 
基于所述第一摆动代表量和与所述第一摆动代表量对应的预设时间点,获取所述第一摆动量与所述时间的对应关系。
 
采用上述设置,基于高精度的代表性位移数据预测摆动的趋势,通过为不同质量、不同可靠性的数据点分配不同的权重,使得聚类结果更倾向于信任高质量数据,从而得到更准确、更具代表性的聚类中心,加权后的聚类中心不再是简单的“几何中心”,而是“加权质心”,它更靠近高权重的、可信度高的数据点区域,使得最终的代表性位移值yi*的计算更加科学和精确。
 
进一步地,传统的聚类算法通过密度来排除异常值,但不够精细,本实施例引入权重因子α可以提供第二道防线,根据机械臂摆动规律设置权重规则,α=1表示只看密度,α=0表示只看距离,α=0.5表示同时考虑密度和距离,α灵活适应不同类型的分布和噪声,在后续迭代计算中的影响力将被大幅削弱通过对潜在异常值自动赋予极低的权重,从根本上抑制其对聚类结果的负面影响,提升算法的鲁棒性。
 
实施例
 
在本实施例中,总共设置m个时间点t1,t2,t3,...,tm,时间间隔设置为Δt=0.1s。
 
具体地,每个时间ti点采样了n次位移(即第一摆动量y),组成该时间点的数据集Yi={yi1,yi2,...yin},i=1,2,...,n。
 
需要说明的是,本实施例需要为每个时间ti点找到其对应的代表性的位移yi*,构成最终第一摆动量与时间对应关系表。
 
具体地,对于每个时间点对应的每个采样点yij∈Yi,定义其高斯核密度为ρj:
 
 
其中,k为同一时间点内采集的第k个位移量,yij为第ti个时间内采集的第j个位移量,yik为第ti个时间内采集的第k个位移量,dc表示截断距离(控制密度核的宽度,一般取为数据标准差的 10%-20%)。
 
进一步地,计算每个采样点yij到所有密度比它大的点之间的最小距离:
 
如果存在比当前点密度更大的点:找出所有密度更高的点;计算它们与当前点的距离;取最小值,这就是δij。如果当前点是密度最大的点:就令它的δij为全局最大距离。
 
需要说明的是,如果ρj不是最大密度点,那么δj等于离它最近的、密度比它更高的点的距离,用于衡量yij点与“更拥挤区域”中某点(yik)的最近距离;否则δj是最大密度点,那么δj等于与所有点的最大距离,因为没有比它更密的点了,所以把它的定义为全局最大值,确保它能作为候选聚类中心。
 
其中,δj表示点yij到更高密度点的最小距离。
 
需要说明的是,如果采样点yij是最高密度点,则δj设为该点到距离最远的点之间的距离。
 
进一步地,定义每个采样点的“聚类中心度量”γij:,聚类中心是密度高(靠近很多点)。其中,α为权重因子,且α∈[0,1],α=1表示只看密度,α=0表示只看距离,α=0.5表示同时考虑密度和距离。灵活适应不同类型的分布和噪声。
 
进一步地,通过聚类中心度量确定代表性的位移yi*。
 
具体地,取具有最大γj的点作为该时间点的代表值:yi*= yij*,
 
其中,yij*为在时间点内所有的位移量yij(1≤j≤n)中重要性指标γj最大的位移量,。
 
在具体实践中,对于每一个时间点ti,我们得到了一个聚类中心yi*作为代表值,参见表1。
 
表1:第一摆动量与时间对应关系表
 
 
 
S300基于所述第一摆动量与时间的对应关系,获取第二摆动量与时间的对应关系;
 
具体地,所述第二摆动量为所述第二机械臂的摆动角度θ。
 
在具体实践中,所述获取第二摆动量与时间的对应关系的方法包括:基于所述第一摆动量,计算所述第二摆动量;
 
计算所述第二摆动量的方法为θ=arcsiny/L,
 
其中,θ为第二摆动量,y为第二机械臂的摆动位移y,L为第二机械臂的长度。
 
实施例二:
 
参见图3,摆动位移y,第二机械臂2相对于X轴(即第二机械臂2自然状态下的位置)的摆动角度θ,根据图3可得出他们之间的关系为:
 
Sinθ=y/L,即θ=arcsiny/L;
 
由公式θ=arcsiny/L,以及第一摆动量与时间对应关系表,可以得出θ随时间t变化的对应关系表(即第二摆动量与时间的对应关系表)。
 
需要说明的是,由于机械臂的摆动本质上是一个刚体绕点的旋转运动,其动力学方程、振动模型和控制通常都是基于角度和角速度建立的,摆动角度θ相对于摆动位移y更能本质地描述机械臂的摆动状态,为后续生成高精度的摆动抑制控制指令提供了最直接的输入,避免了用近似线性关系代替非线性旋转关系带来的误差,从而显著提高了摆动抑制算法的计算准确性和最终的控制效果,控制驱动轮3时,指令可以直接对应到需要补偿的“角度差”,使摆动抑制更加精准。
 
S400根据所述第一摆动量与时间的对应关系和所述第二摆动量与时间的对应关系,调整驱动轮的转动方式,以抑制所述同步带传动机械臂摆动。
 
需要说明的是,所述调整驱动轮的转动方式的方法包括:
 
基于驱动轮与从动轮的同步轮齿数比获得输入摆动量θ1;
 
其中,所述获得输入摆动量θ1的方法具体为:
 
获取所述驱动轮与所述从动轮的同步轮齿数比1:n;
 
所述输入摆动量θ1=θ/n=(arcsiny/L)/n。
 
基于所述第二摆动量与时间的对应关系,获得所述输入摆动量与时间的对应关系;
 
将所述输入摆动量与时间的对应关系输入预设驱动程序,得到凸轮曲线。
 
需要说明的是,本实施例中生成的凸轮曲线为基于高精度的代表性位移数据预测的摆动趋势生成的能够指令驱动轮3提前做出与第二机械臂2摆动相反的、精准的补偿运动曲线,以实现超前、精准的抑制,而非滞后、被动的响应。
 
具体地,传统的机械臂摆动方法是在检测到振动后,控制器才开始计算如何响应,存在固有延迟,本实施例生成的凸轮曲线则是基于聚类算法提取出的、能代表机械臂真实摆动衰减规律的运动曲线,通过高精度的代表性位移数据反向推导出驱动轮3需要执行的、能恰好抵消该摆动的运动规律,从而极大地提升了抑振的效率和效果,显著缩短了摆动收敛时间,提高了机械臂的工作效率。
 
实施例三:
 
在本实施例中,参见图3,当驱动轮3逆时针旋转使机械臂停止运动时,第二机械臂2因惯性逆时针摆动,左侧同步带受到的张力和拉伸量会逐渐变小,右侧同步带受到的张力和拉伸量会逐渐变大。此时控制驱动轮3向着同步带张力和拉伸量逐渐变大的方向转动,可使左右两侧同步带更快达到平衡 ,进而使第二机械臂2的摆动幅度更小。
 
具体地,在驱动轮3的伺服驱动程序(即预设驱动程序)上导入特定的角度θ1与随时间t变化的对应关系表。采用主动轮抑制从动轮转动的方法,可减小第二机械臂2的自由摆动时间,以及摆动幅度。具体方法如下:
 
将时间t数据导入到输入轴,将第二种数据导入到输出轴,其中,第二种数据可以选择行程、速度、加速度振动;这样,通过预设驱动程序得到驱动轮3的凸轮曲线。
 
优选地,本实施例的第二种数据选择行程。
 
进一步地,将预设驱动程序中的伺服输入轴设置为轴1,输出轴设置为轴2,同时,轴2的凸轮曲线设置为凸轮号1,这样,设置完成后,程序中只需驱动轴1,轴2将会按照该凸轮曲线进行移动。
 
具体地,采用本实施例的同步带传动机械臂启停摆动抑制方法后,机械臂停止时的摆动位移情况参见图4,可以看出,采用主动抑制后,第二机械臂2的摆动位移明显改善。
 
在具体实践中,参见表2,对使用本方法前后的机械臂振动值进行监控及统计。
 
表2 同步带传动机械臂停止过程中机械臂振动值统计表
 
 
 
其中,G=9.8m/s²,由上表可知,采用本实施例的同步带传动机械臂启停摆动抑制方法,可有效减小机械臂的振动值,使得机械臂传输更稳定。
 
这样,基于真实摆动数据生成的凸轮曲线确保了驱动轮3的速度和加速度变化是平滑的,避免了采用急停、急启等简单抑振策略时产生的冲击和二次振动,运动过程更柔顺,减少了对机械结构的冲击,有助于降低磨损、延长设备寿命、提高定位精度,同时运行噪音也更小。
 
进一步地,本实施例的凸轮曲线不是固定的,机械臂负载不同,启停摆动特性(频率、衰减速率)也不同,从而聚类算法得到的第二摆动量与时间的对应关系不同,生成的凸轮曲线也不同,实现了定制化抑制摆动,彻底避免了为不同工况人工调试控制参数的繁琐过程,智能化水平极高,泛化能力极强。
 
在具体实践中,系统可以形成一个“生成曲线-执行摆动抑制-评估效果-反馈优化”的闭环。如果某次抑振后仍有微小残余振动,可以将该信息反馈回来,微调聚类权重或曲线生成算法,使得下一次生成的凸轮曲线效果更好,其抑振性能会随着使用时间的增加而不断自我完善和提升。
 
需要说明的是,本实施例的同步带传动机械臂启停摆动抑制方法不仅可以用在同步带传动机械臂的启停摆动抑制,还可用于链传动机械臂等类似结构的启停摆动抑制。
 
参见图2,本实施例还提供了一种同步带传动机械臂启停摆动抑制系统,包括:采集模块,所述采集模块用于获取所述同步带传动机械臂的实时振动数据;第一计算模块,所述第一计算模块用于基于所述实时振动数据,获取第一摆动量与时间的对应关系;第二计算模块,所述第二计算模块用于基于所述第一摆动量与时间的对应关系,获取第二摆动量与时间的对应关系;抑制模块,所述抑制模块用于根据所述第一摆动量与时间的对应关系和所述第二摆动量与时间的对应关系,调整驱动轮的转动方式,以抑制所述同步带传动机械臂摆动。
 
采用上述设置,使相同大小的机械臂提高其传输重量而不影响传输稳定性,也不增加传输振动;使传输相同重量的机械臂选型更小规格的同步带,缩小机械臂体积的同时不影响传输稳定性,不增加传输振动。
 
本实施例还提供了一种计算机可读存储介质,所述计算机可读存储介质上存储有计算机可读指令,所述计算机可读指令被处理器执行时实现如上任一项所述同步带传动机械臂启停摆动抑制方法的各个步骤或同步带传动机械臂启停摆动抑制系统。
 
本发明实施例可采用在一个或多个其中包含有程序代码的存储介质(包括但不限于磁盘存储器、CD-ROM、光学存储器等)上实施的计算机程序产品的形式。计算机可读存储介质包括永久性和非永久性、可移动和非可移动媒体,可以由任何方法或技术来实现信息存储。信息可以是计算机可读指令、数据结构、程序的模块或其他数据。计算机可读存储介质的例子包括但不限于:相变存储器/阻变存储器/磁存储器/铁电存储器(PRAM/RRAM/MRAM/FeRAM)等新型存储器、静态随机存取存储器(SRAM)、动态随机存取存储器(DRAM)、其他类型的随机存取存储器(RAM)、只读存储器(ROM)、电可擦除可编程只读存储器(EEPROM)、快闪记忆体或其他内存技术、只读光盘只读存储器(CD-ROM)、数字多功能光盘(DVD)或其他光学存储、磁盒式磁带,磁带磁盘存储或其他磁性存储设备或任何其他非传输介质,可用于存储可以被计算设备访问的信息。
 
需要说明的是,本申请的说明书和权利要求书及上述附图中的术语“第一”、“第二”等是用于区别类似的对象,而不必用于描述特定的顺序或先后次序。应该理解这样使用的数据在适当情况下可以互换,以便这里描述的本申请的实施例能够以除了在这里图示或描述的那些以外的顺序实施。此外,术语“包括”和“具有”以及他们的任何变形,意图在于覆盖不排他的包含,例如,包含了一系列步骤或单元的过程、方法、系统、产品或设备不必限于清楚地列出的那些步骤或单元,而是可包括没有清楚地列出的或对于这些过程、方法、产品或设备固有的其它步骤或单元。
 
可选地,本实施例中的具体示例可以参考上述实施例中所描述的示例,本实施例在此不再赘述。
 
上述本申请实施例序号仅仅为了描述,不代表实施例的优劣。
 
在本申请的上述实施例中,对各个实施例的描述都各有侧重,某个实施例中没有详述的部分,可以参见其他实施例的相关描述。
 
以上所述仅是本申请的优选实施方式,应当指出,对于本技术领域的普通技术人员来说,在不脱离本申请原理的前提下,还可以做出若干改进和润饰,这些改进和润饰也应视为本申请的保护范围。
Copyright © 宁波鄞州盖奇同步带轮有限公司 2007-2022 All Rights Reserved.
电话:4006-574-123/0574-27834692 传真:0574-27834691
地址:浙江省宁波市鄞州区姜山镇蔡郎桥村姜南路39-2 E-Mail:sales@belt-pulley.com  
浙ICP备09102982号 盖奇公司网络部提供技术支持 浙公网安备33021202003319号