当前位置:首页->同步带张紧机构

 同步带张紧机构

申请(专利)号: CN202423193023.7
申请日: 2024.12.23
授权公告号: CN223424557U
授权公告日: 2025.10.10
主分类号: F16H7/02(2006.01)
分类号: F16H7/02(2006.01); F16H7/08(2006.01);
申请权利人: 湖南旗滨电子玻璃股份有限公司;
发明设计人: 陈镑华;
地址: 412299 湖南省株洲市醴陵市经济开发区东富工业园
国省代码: 湖南;43
代理机构: 北京华夏泰和知识产权代理有限公司 11662
代理人: 陈治位
 
摘要:
本申请涉及一种同步带张紧机构,用于张紧传动轮上的同步带,包括:张紧轮,设置于传动轮的上方,可抵接于传动轮上的同步带表面;上下调节构件,与所述张紧轮连接,用于调节所述张紧轮在竖直方向的位置;固定构件,所述固定构件与所述上下调节构件连接,用于承载所述上下调节构件;其中,在需要张紧同步带时,调整所述上下调节构件,以使所述张紧轮抵接于同步带的表面。根据本申请提供的同步带张紧机构,该机构可在辊道同步带断裂后,可使用比原同步带长的同步带直接套在带轮上,再用张紧机构张紧同步带,实现辊道正常运转。
 
主权项:
1.一种同步带张紧机构,用于张紧传动轮上的同步带,其特征在于,包括:张紧轮,设置于传动轮的上方,可抵接于传动轮上的同步带表面;上下调节构件,与所述张紧轮连接,用于调节所述张紧轮在竖直方向的位置;固定构件,所述固定构件与所述上下调节构件连接,用于承载所述上下调节构件;其中,在需要张紧同步带时,调整所述上下调节构件,以使所述张紧轮抵接于同步带的表面。
1.一种同步带张紧机构,用于张紧传动轮上的同步带,其特征在于,包括:
 
张紧轮,设置于传动轮的上方,可抵接于传动轮上的同步带表面;
 
上下调节构件,与所述张紧轮连接,用于调节所述张紧轮在竖直方向的位置;
 
固定构件,所述固定构件与所述上下调节构件连接,用于承载所述上下调节构件;
 
其中,在需要张紧同步带时,调整所述上下调节构件,以使所述张紧轮抵接于同步带的表面。
 
2.根据权利要求1所述的同步带张紧机构,其特征在于,
 
所述张紧轮的轴向长度被设置为大于同步带的宽度。
 
3.根据权利要求1所述的同步带张紧机构,其特征在于,
 
所述上下调节构件包括第一螺帽,所述上下调节构件还包括与所述第一螺帽配合的第一螺杆,所述第一螺杆的底端与所述张紧轮连接,可通过旋转所述第一螺帽,以调整所述张紧轮在竖直方向的位置,且通过所述第一螺帽,以锁紧所述第一螺杆;
 
所述上下调节构件还包括设置于所述第一螺杆与所述张紧轮之间的连接板,所述连接板与所述第一螺杆一体设置。
 
4.根据权利要求3所述的同步带张紧机构,其特征在于,还包括水平调节构件,所述水平调节构件与所述张紧轮连接,用于调整所述张紧轮的水平度。
 
5.根据权利要求4所述的同步带张紧机构,其特征在于,
 
所述水平调节构件包括相对设置的两个第二螺杆,两个所述第二螺杆的底端分别与所述张紧轮连接,可通过旋转所述第二螺杆,以微调所述张紧轮的水平度。
 
6.根据权利要求5所述的同步带张紧机构,其特征在于,所述固定构件包括:
 
固定块;
 
固定板,设置于所述固定块上且向所述上下调节构件的方向延伸,以用于连接所述上下调节构件。
 
7.根据权利要求6所述的同步带张紧机构,其特征在于,所述固定板上开设有第一安装孔,所述第一螺杆、所述第二螺杆穿设于所述第一安装孔内安装于所述固定板上;其中,所述第一螺杆穿设于位于所述固定板中心的所述第一安装孔内,所述第二螺杆穿设于位于所述固定板两端的所述第一安装孔内;
 
所述连接板上设置有第二安装孔,所述第二螺杆的底端穿设于所述第二安装孔内。
 
8.根据权利要求1所述的同步带张紧机构,其特征在于,还包括:
 
导杆,所述导杆用于连接所述固定构件。
 
9.根据权利要求8所述的同步带张紧机构,其特征在于,
 
所述固定构件通过螺丝与所述导杆连接,所述导杆上设置有滑动槽;
 
其中,当锁紧所述螺丝时,所述固定构件固定在所述导杆上,当松开所述螺丝时,所述固定构件可在所述滑动槽内滑动至指定位置。
 
10.根据权利要求8所述的同步带张紧机构,其特征在于,还包括:
 
底座,所述底座与所述导杆连接,以支撑所述导杆。
同步带张紧机构
技术领域
 
本申请涉及传动轮技术领域,尤其涉及一种同步带张紧机构。
 
背景技术
 
电子玻璃是应用于电子、微电子、光电子领域的一类高技术产品,主要用于制作集成电路以及具有光电、热电、声光、磁光等功能元器件的玻璃材料,具有广阔的市场前景,它对玻璃本身的质量有着相当高的要求。玻璃盖板具备高硬度,高强度,耐划伤,高透过率及优异的抗冲击等性能,广泛应用于智能手机,平板电脑等领域,其应用前景十分广阔。
 
在电子玻璃生产线中,冷端工段至关重要,冷端玻璃输送机构大多数为辊道旋转传动,而辊道转动大多数又通过同步带传动、齿轮传动实现。在正常生产中,辊道长期不停歇运转,同步带可能会因为疲劳、磨损等发生断裂,辊子会停止转动,玻璃经过未转动辊子时形成滑动摩擦,对玻璃表面造成擦伤。而传动轮在正常生产时不能停止运转,无法在线更换同步带。目前对于辊道同步带断裂处理方法是先临时使用扎带传动辊道,待时机更换同步带。而扎带易断裂,且摩擦力不够,辊道易打滑,无法实现长期精密传动。
 
因此,本领域需要一种新的技术方案,来解决上述的技术问题。
 
实用新型内容
 
本申请的目的在于提供一种同步带张紧机构,此机构可在辊道同步带断裂后,可使用比原同步带长的同步带直接套在带轮上,再用张紧机构张紧同步带,实现辊道正常运转。
 
为此,本申请实施例提供了一种同步带张紧机构,用于张紧传动轮上的同步带,包括:
 
张紧轮,设置于传动轮的上方,可抵接于传动轮上的同步带表面;
 
上下调节构件,与所述张紧轮连接,用于调节所述张紧轮在竖直方向的位置;
 
固定构件,所述固定构件与所述上下调节构件连接,用于承载所述上下调节构件;
 
其中,在需要张紧同步带时,调整所述上下调节构件,以使所述张紧轮抵接于同步带的表面。
 
在一种可能的实现方式中,所述张紧轮的轴向长度被设置为大于同步带的宽度。
 
在一种可能的实现方式中,所述上下调节构件包括第一螺帽,所述上下调节构件还包括与所述第一螺帽配合的第一螺杆,所述第一螺杆的底端与所述张紧轮连接,可通过旋转所述第一螺帽,以调整所述张紧轮在竖直方向的位置,且通过所述第一螺帽,以锁紧所述第一螺杆;
 
所述上下调节构件还包括设置于所述第一螺杆与所述张紧轮之间的连接板,所述连接板与所述第一螺杆一体设置。
 
在一种可能的实现方式中,还包括水平调节构件,所述水平调节构件与所述张紧轮连接,用于调整所述张紧轮的水平度。
 
在一种可能的实现方式中,所述水平调节构件包括相对设置的两个第二螺杆,两个所述第二螺杆的底端分别与所述张紧轮连接,可通过旋转所述第二螺杆,以微调所述张紧轮的水平度。
 
在一种可能的实现方式中,所述固定构件包括:
 
固定块;
 
固定板,设置于所述固定块上且向所述上下调节构件的方向延伸,以用于连接所述上下调节构件。
 
在一种可能的实现方式中,所述固定板上开设有第一安装孔,所述第一螺杆、所述第二螺杆穿设于所述第一安装孔内安装于所述固定板上;其中,所述第一螺杆穿设于位于所述固定板中心的所述第一安装孔内,所述第二螺杆穿设于位于所述固定板两端的所述第一安装孔内;
 
所述连接板上设置有第二安装孔,所述第二螺杆的底端穿设于所述第二安装孔内。
 
在一种可能的实现方式中,还包括:
 
导杆,所述导杆用于连接所述固定构件。
 
在一种可能的实现方式中,所述固定构件通过螺丝与所述导杆连接,所述导杆上设置有滑动槽;
 
其中,当锁紧所述螺丝时,所述固定构件固定在所述导杆上,当松开所述螺丝时,所述固定构件可在所述滑动槽内滑动至指定位置。
 
在一种可能的实现方式中,还包括底座,所述底座与所述导杆连接,以支撑所述导杆。
 
根据本申请实施例提供的同步带张紧机构,在发生辊道同步带断裂的情况下,可以获取一条长度超过原始同步带的备用同步带,并将其直接套设在带轮之上。随后,通过使用张紧机构对这条新的同步带进行适当的张紧操作,从而确保辊道能够恢复到正常运转的状态。这种设计不仅简化了维修过程,而且提高了设备的可靠性,确保了生产过程的连续性和效率。
 
附图说明
 
为了更清楚地说明本申请实施例或现有技术中的技术方案,下面将对实施例或现有技术描述中所需要使用的附图作一简单地介绍,显而易见地,下面描述中的附图是本申请的一些实施例,对于本领域普通技术人员来讲,在不付出创造性劳动的前提下,还可以根据这些附图获得其他的附图。另外,在附图中,相同的部件使用相同的附图标记,且附图并未按照实际的比例绘制。
 
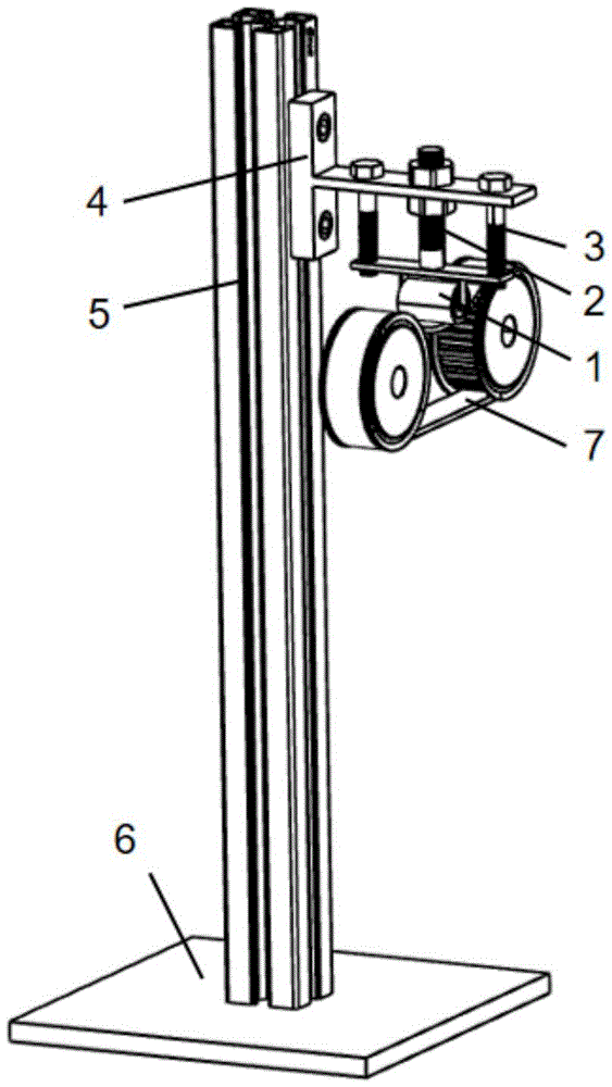
图1示出本申请实施例提供的同步带张紧机构的结构示意图;
 
图2示出本申请实施例提供的固定构件、上下调节构件、水平调节构件和张紧轮的装配图;
 
图3示出本申请实施例提供的导杆与固定构件的装配图。
 
附图标记说明:
 
1、张紧轮;
 
2、上下调节构件;21、第一螺帽;22、第一螺杆;23、连接板;231、第二安装孔;
 
3、水平调节构件;31、第二螺杆;
 
4、固定构件;41、固定块;42、固定板;421、第一安装孔;
 
5、导杆;51、滑动槽;
 
6、底座;
 
7、同步带。
 
具体实施方式
 
为使本申请实施例的目的、技术方案和优点更加清楚,下面将结合本申请实施例中的附图,对本申请实施例中的技术方案进行清楚、完整地描述,显然,所描述的实施例是本申请的一部分实施例,而不是全部的实施例。基于本申请中的实施例,本领域普通技术人员在没有做出创造性劳动的前提下所获得的所有其他实施例,都属于本申请保护的范围。
 
在电子玻璃制造的过程中,目前所使用的传动轮在正常生产运行期间是不允许停止运转的,这就导致了无法在生产线上直接更换同步带。针对辊道同步带发生断裂的问题,目前的处理方法是首先采取临时措施,使用扎带来传动辊道,等待一个合适的时机再进行同步带的更换。然而,使用扎带作为临时传动手段存在一些问题,比如扎带本身容易发生断裂,而且其提供的摩擦力不足,这使得辊道在传动过程中容易出现打滑现象,从而无法保证长期的精密传动。
 
为了至少能够解决上述技术问题之一,本申请的实施例提供了一种同步带张紧机构。这种张紧机构的设计目的是,在辊道同步带发生断裂的情况下,能够迅速采取措施。具体操作是,使用一条比原有同步带长度更长的新同步带,直接将其套在带轮上。随后,通过使用张紧机构对新同步带进行张紧,从而确保辊道能够恢复到正常运转的状态。这种设计不仅提高了设备的应急处理能力,而且在一定程度上减少了因同步带断裂而造成的生产停滞时间,提高了生产效率。
 
具体的,请参阅图1至图3,在本申请的实施例中,提出了一种同步带7张紧机构,该机构专门设计用于对传动轮上的同步带7进行有效的张紧操作。该机构包括几个关键组成部分:张紧轮1、上下调节构件2以及固定构件4。具体来说,张紧轮1被安置在传动轮的上方位置,它能够直接接触并施加压力于传动轮上同步带7的表面。为了实现对张紧轮1位置的精确调整,上下调节构件2与张紧轮1相连,使得用户可以根据需要在垂直方向上移动张紧轮1。此外,固定构件4与上下调节构件2相连接,其主要作用是支撑和固定上下调节构件2,确保整个张紧机构的稳定性和可靠性。当同步带7需要进行张紧操作时,用户可以通过调整上下调节构件2,从而使得张紧轮1能够更加紧密地抵接在同步带7的表面,确保传动效率和同步带7的使用寿命。
 
需要特别指出的是,通过应用上述所描述的同步带张紧机构,当遇到辊道同步带发生断裂的情况时,用户能够采取一种简便而有效的应对措施。具体而言,可以选用一条长度超过原有同步带的新同步带,直接将其套在带轮之上。随后,利用张紧机构对这条新的同步带进行适当的张紧操作,从而确保其能够紧密贴合带轮,保持必要的张力。这样一来,即便是在同步带发生意外断裂之后,也能够迅速恢复辊道的正常运转状态,保证生产线的连续性和效率。
 
在一种可能的实现方式中,所述张紧轮1的轴向长度被设置为大于同步带7的宽度。
 
具体的,张紧轮1的轴向长度被设置为大于同步带7的宽度。这种设计考虑是为了确保张紧轮1能够提供足够的接触面积,从而有效地对同步带7施加张力,保证传动系统的稳定性和可靠性。通过这种方式,可以避免因张紧轮1尺寸不足而导致的同步带7打滑或过早磨损,进而延长整个传动系统的使用寿命。
 
在一种可能的实现方式中,所述上下调节构件2包括第一螺帽21,上下调节构件2还包括与第一螺帽21配合的第一螺杆22,第一螺杆22的底端与张紧轮1连接,可通过旋转第一螺帽21,以调整张紧轮1在竖直方向的位置,且通过第一螺帽21,以锁紧第一螺杆22;上下调节构件2还包括设置于第一螺杆22与张紧轮1之间的连接板23,连接板23与第一螺杆22一体设置。
 
示例性的,第一螺帽21设计用于与第一螺杆22配合使用。第一螺杆22的底端与张紧轮1连接,使得用户可以通过旋转第一螺帽21,以调整张紧轮1在竖直方向的位置。此外,通过第一螺帽21,可以实现对第一螺杆22的锁紧功能,确保调节后的稳定性和可靠性。连接板23与第一螺杆22是一体设置的,进而其在第一螺杆22锁紧时,连接板23也不会转动,在下文介绍水平调节构件3的结构时候有必要联系,此处不再赘述。此外这样的设计简化了结构,增强了整体的强度和耐用性
 
在一种可能的实现方式中,本申请实施例提供的同步带张紧机构还包括水平调节构件3,该水平调节构件3与张紧轮1紧密连接,其主要作用是用于精确调整张紧轮1的水平度,确保同步带7在运行过程中的张力保持在理想状态。
 
进一步的,水平调节构件3包括相对设置的两个第二螺杆31,这两个第二螺杆31的底端分别与张紧轮1的两侧连接,通过旋转这两个第二螺杆31,可以实现对张紧轮1水平度的微调,从而达到精细控制同步带7张力的目的,使得同步带7的运行更加平稳,延长同步带7的使用寿命。
 
在一种可能的实现方式中,所述固定构件4包括固定块41和固定板42,固定板42设置于固定块41上且向上下调节构件2的方向延伸,以用于连接上下调节构件2。这种设计允许固定构件4在垂直方向上进行调节,从而适应不同高度的需求,使得整个结构更加灵活和实用。
 
进一步的,固定板42上开设有第一安装孔421,第一螺杆22、第二螺杆31穿设于第一安装孔421内安装于固定板42上;其中,第一螺杆22穿设于位于固定板42中心的第一安装孔421内,第二螺杆31穿设于位于固定板42两端的第一安装孔421内;此外,连接板23上设置有第二安装孔231,第二螺杆的底端穿设于第二安装孔231内。通过这种方式,第一螺杆22和第二螺杆31可以独立地或者协同地进行调节,以实现对张紧轮1的精确控制。这种调节机制不仅提高了装置的稳定性和可靠性,还简化了操作过程,使得用户可以轻松地根据需要调整张紧轮1的位置。
 
需要说明的是,由于第二螺杆31与连接板23连接,而连接板23又与第一螺杆22一体设置,所以第二螺杆31仅起到对第二连接板23的微调作用,因此第二螺杆31无需锁紧,其不会导致连接板23上的张紧轮1产生过大的水平偏移。
 
在一种可能的实现方式中,本申请实施例提供的同步带张紧机构还包括导杆5,导杆5的作用是连接固定构件4,从而确保整个同步带7张紧机构的稳定性和功能性。
 
进一步的,固定构件4通过螺丝与导杆5连接,这种连接方式既简单又可靠。导杆5上设置有滑动槽51,滑动槽51的设计使得固定构件4在导杆5上具有一定的活动范围。具体来说,当锁紧螺丝时,固定构件4被牢固地固定在导杆5上,确保了同步带7张紧机构在工作过程中的稳定性;而当需要调整同步带7张紧度时,通过松开螺丝,固定构件4就可以在滑动槽51内滑动至指定位置,从而实现对同步带7张紧度的精细调整。这种设计不仅提高了同步带7张紧机构的使用灵活性,还确保了调整过程的便捷性和准确性。
 
在一种可能的实现方式中,本申请实施例提供的同步带张紧机构还包括底座6,底座6与导杆5连接,以支撑导杆5。这种设计允许同步带7张紧机构在运行过程中保持稳定,从而确保同步带7的张紧状态得到良好的维持。底座6作为整个机构的基础部分,其设计和材料选择对于整个机构的性能和耐用性至关重要。通过与导杆5的连接,底座6不仅提供了必要的支撑,还能够帮助分散同步带7在运行时产生的力,减少磨损和延长同步带7的使用寿命。
 
在本申请的实施例中,所提出的同步带张紧机构能够在同步带发生断裂的紧急情况下发挥重要作用。具体而言,当检测到辊道同步带出现断裂时,可以迅速采取措施,获取一条长度大于原始同步带的备用同步带。这条备用同步带随后被直接套设在原有的带轮之上,取代了已经损坏的同步带。紧接着,通过操作张紧机构,对新安装的同步带进行精确的张紧处理,以确保其能够与带轮紧密配合,从而使得辊道能够迅速恢复到正常运转的状态。这种设计不仅极大地简化了维修过程,减少了停机时间,而且显著提高了设备的可靠性。通过这种方式,生产过程的连续性和效率得到了有效的保障,进而提升了整体的生产效率和经济效益。
 
应当指出,在说明书中提到的“一个实施例”、“实施例”、“示例性实施例”、“一些实施例”等表示所述的实施例可以包括特定特征、结构或特性,但未必每个实施例都包括该特定特征、结构或特性。此外,这样的短语未必是指同一实施例。此外,在结合实施例描述特定特征、结构或特性时,结合明确或未明确描述的其他实施例实现这样的特征、结构或特性处于本领域技术人员的知识范围之内。
 
应当容易地理解,应当按照最宽的方式解释本公开中的“在……上”、“在……以上”和“在……之上”,以使得“在……上”不仅意味着“直接处于某物上”,还包括“在某物上”且其间具有中间特征或层的含义,并且“在……以上”或者“在……之上”不仅包括“在某物以上”或“之上”的含义,还可以包括“在某物以上”或“之上”且其间没有中间特征或层(即,直接处于某物上)的含义。
 
此外,文中为了便于说明可以使用空间相对术语,例如,“下面”、“以下”、“下方”、“以上”、“上方”等,以描述一个元件或特征相对于其他元件或特征的如图所示的关系。空间相对术语意在包含除了附图所示的取向之外的处于使用或操作中的器件的不同取向。装置可以具有其他取向(旋转90度或者处于其他取向上),并且文中使用的空间相对描述词可以同样被相应地解释。
 
需要说明的是,在本文中,诸如“第一”和“第二”等之类的关系术语仅仅用来将一个实体或者操作与另一个实体或操作区分开来,而不一定要求或者暗示这些实体或操作之间存在任何这种实际的关系或者顺序。而且,术语“包括”、“包含”或者其任何其他变体意在涵盖非排他性的包含,从而使得包括一系列要素的过程、方法、物品或者设备不仅包括那些要素,而且还包括没有明确列出的其他要素,或者是还包括为这种过程、方法、物品或者设备所固有的要素。在没有更多限制的情况下,由语句“包括一个……”限定的要素,并不排除在包括所述要素的过程、方法、物品或者设备中还存在另外的相同要素。
 
最后应说明的是:以上各实施例仅用以说明本申请的技术方案,而非对其限制;尽管参照前述各实施例对本申请进行了详细的说明,本领域的普通技术人员应当理解:其依然可以对前述各实施例所记载的技术方案进行修改,或者对其中部分或者全部技术特征进行等同替换;而这些修改或者替换,并不使相应技术方案的本质脱离本申请各实施例技术方案的范围。
Copyright © 宁波鄞州盖奇同步带轮有限公司 2007-2022 All Rights Reserved.
电话:4006-574-123/0574-27834692 传真:0574-27834691
地址:浙江省宁波市鄞州区姜山镇蔡郎桥村姜南路39-2 E-Mail:sales@belt-pulley.com  
浙ICP备09102982号 盖奇公司网络部提供技术支持 浙公网安备33021202003319号