当前位置:首页->一种聚氨酯同步带的收卷架

 一种聚氨酯同步带的收卷架

申请(专利)号: CN202520025907.7
申请日: 2025.01.07
授权公告号: CN223752029U
授权公告日: 2026.01.02
主分类号: B65H18/02(2006.01)
分类号: B65H18/02(2006.01); B65H18/26(2006.01); B65H23/038(2006.01);
申请权利人: 苏州塔莱泰传动科技有限公司;
发明设计人: 凌道贵; 戴均鑫;
地址: 215000 江苏省苏州市高新区大同路25号联东U谷15栋301、302室
国省代码: 江苏;32
代理机构: 苏州铭浩知识产权代理事务所(普通合伙) 32246
代理人: 于浩江
 
摘要:
本实用新型公开了一种聚氨酯同步带的收卷架,涉及收卷架技术领域,为解决现有技术中的在聚氨酯同步带收卷过程中,易发生偏斜,影响聚氨酯同步带收卷的整齐性和稳定性的问题。所述收卷底板上方的前端固定安装有引导板,所述引导板的上方设置有引导槽,且引导板的引导槽内部的两侧分别对称设置有限位板,两个所述限位板的内侧均设置有辊槽,所述限位板的辊槽内部转动安装有辊筒一,所述辊筒一一侧的上方和下方分别对称设置有辊筒二,所述限位板的上方固定安装有固定板,处于上方所述辊筒二与固定板转动连接,处于下方所述辊筒二与限位板转动连接。
 
主权项:
1.一种聚氨酯同步带的收卷架,包括收卷底板(1),其特征在于:所述收卷底板(1)上方的前端固定安装有引导板(5),所述引导板(5)的上方设置有引导槽,且引导板(5)的引导槽内部的两侧分别对称设置有限位板(8),两个所述限位板(8)的内侧均设置有辊槽,所述限位板(8)的辊槽内部转动安装有辊筒一(9),所述辊筒一(9)一侧的上方和下方分别对称设置有辊筒二(10),所述限位板(8)的上方固定安装有固定板(11),处于上方所述辊筒二(10)与固定板(11)转动连接,处于下方所述辊筒二(10)与限位板(8)转动连接。
1.一种聚氨酯同步带的收卷架,包括收卷底板(1),其特征在于:所述收卷底板(1)上方的前端固定安装有引导板(5),所述引导板(5)的上方设置有引导槽,且引导板(5)的引导槽内部的两侧分别对称设置有限位板(8),两个所述限位板(8)的内侧均设置有辊槽,所述限位板(8)的辊槽内部转动安装有辊筒一(9),所述辊筒一(9)一侧的上方和下方分别对称设置有辊筒二(10),所述限位板(8)的上方固定安装有固定板(11),处于上方所述辊筒二(10)与固定板(11)转动连接,处于下方所述辊筒二(10)与限位板(8)转动连接。
 
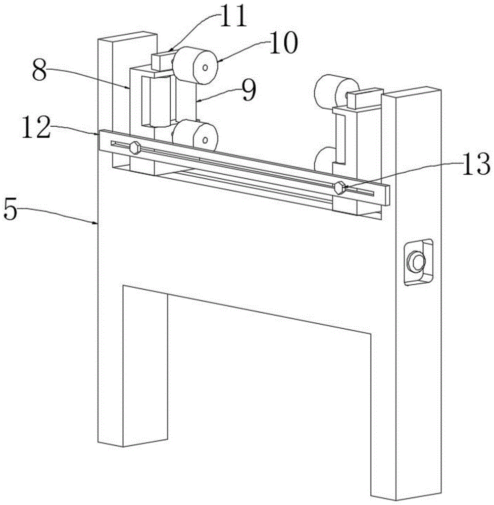
2.根据权利要求1所述的一种聚氨酯同步带的收卷架,其特征在于:所述引导板(5)的前端固定安装有长条板(12),所述长条板(12)的内部设置有长槽孔,所述长条板(12)前端的两侧分别对称设置有固定螺栓(13),两个所述固定螺栓(13)的螺杆端均通过长槽孔贯穿长条板(12)并分别与两个限位板(8)螺纹连接。
 
3.根据权利要求2所述的一种聚氨酯同步带的收卷架,其特征在于:所述引导板(5)的内部设置有丝杆腔,所述引导板(5)的丝杆腔内部转动安装有滚珠丝杆(14),所述滚珠丝杆(14)外侧两端的螺纹相反设置,所述滚珠丝杆(14)外侧的两端分别对称滑动安装有滑动块(15),所述滑动块(15)的上固定安装有传动板(16),所述传动板(16)的上端与限位板(8)固定连接,所述引导板(5)的一侧设置有手轮槽,所述引导板(5)的手轮槽内部设置有手轮(17),所述手轮(17)的一侧固定安装有连接杆,且连接杆与滚珠丝杆(14)固定连接。
 
4.根据权利要求1所述的一种聚氨酯同步带的收卷架,其特征在于:所述收卷底板(1)上方的一侧固定安装有设备箱(2),所述设备箱(2)的一侧转动安装有收卷轴(3),所述收卷轴(3)的一侧转动安装有侧柱(4),所述侧柱(4)的下方设置有支撑架(7),所述支撑架(7)包括底箱(701)、升降条板(702)和垫块(703)。
 
5.根据权利要求4所述的一种聚氨酯同步带的收卷架,其特征在于:所述底箱(701)与收卷底板(1)固定连接,所述升降条板(702)设置于底箱(701)的上方,且升降条板(702)的下端穿进底箱(701)的内部,所述垫块(703)固定安装于升降条板(702)的上方,所述垫块(703)的上端面上设置有弧形凹槽。
 
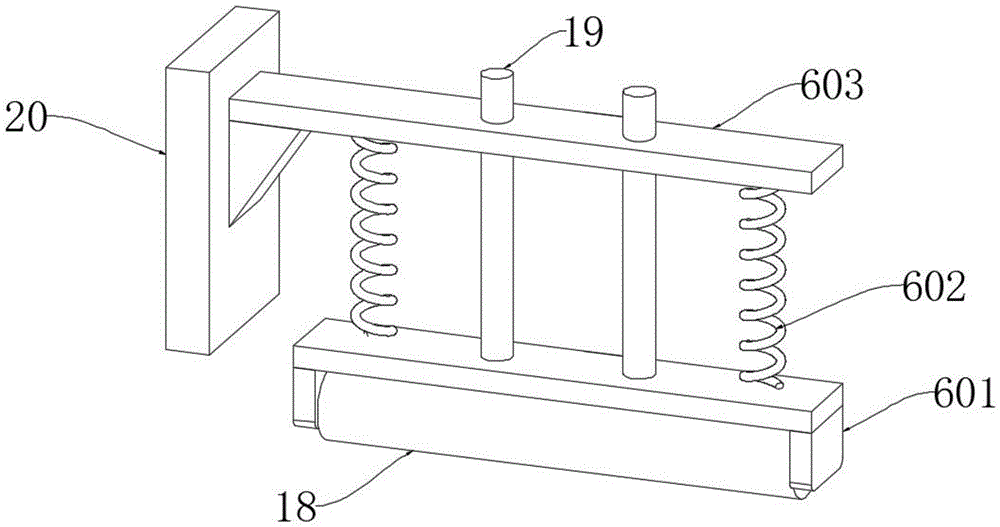
6.根据权利要求4所述的一种聚氨酯同步带的收卷架,其特征在于:所述收卷轴(3)的上方设置有压架(6),所述压架(6)包括辊架(601)、压缩弹簧(602)和顶板(603),所述压缩弹簧(602)设置有两个,且两个压缩弹簧(602)对称设置于辊架(601)和顶板(603)之间,所述顶板(603)的一侧固定安装有立板(20),所述立板(20)的下端与设备箱(2)固定连接。
 
7.根据权利要求6所述的一种聚氨酯同步带的收卷架,其特征在于:所述辊架(601)的内侧转动安装有压辊(18),所述辊架(601)的上方固定安装有导柱(19),所述导柱(19)的上端滑动贯穿顶板(603)。
一种聚氨酯同步带的收卷架
技术领域
 
本实用新型涉及收卷架技术领域,具体为一种聚氨酯同步带的收卷架。
 
背景技术
 
聚氨酯同步带是一种采用进口热塑聚氨酯材料制成的同步传动带,聚氨酯材料赋予同步带高强度和优异的耐磨性,能够在长时间的使用中保持良好的性能,减少了更换和维修的频率,在聚氨酯同步带生产完成后常通过收卷架对聚氨酯同步带进行收卷,以便后续的存放和转移;
 
例如公告号为CN217296518U的授权专利(一种聚氨酯同步带的收卷架):包括:机架主体,设有可同向转动的第一安装座和第二安装座,所述第一安装座和所述第二安装座相对布置,其间设有收卷轴;连接件,两个所述连接件分别位于所述收卷轴的两端,以将所述收卷轴可拆卸的固定于所述第一安装座和所述第二安装座上;
 
上述现有技术虽然方便提高安装或拆卸收卷轴效率较低,但是不具备限位机制,进而在聚氨酯同步带收卷过程中,易发生偏斜,影响聚氨酯同步带收卷的整齐性和稳定性;因此市场急需研制一种聚氨酯同步带的收卷架来帮助人们解决现有的问题。
 
实用新型内容
 
本实用新型的目的在于提供一种聚氨酯同步带的收卷架,以解决上述背景技术中提出的在聚氨酯同步带收卷过程中,易发生偏斜,影响聚氨酯同步带收卷的整齐性和稳定性的问题。
 
为实现上述目的,本实用新型提供如下技术方案:一种聚氨酯同步带的收卷架,包括收卷底板,所述收卷底板上方的前端固定安装有引导板,所述引导板的上方设置有引导槽,且引导板的引导槽内部的两侧分别对称设置有限位板,两个所述限位板的内侧均设置有辊槽,所述限位板的辊槽内部转动安装有辊筒一,所述辊筒一一侧的上方和下方分别对称设置有辊筒二,所述限位板的上方固定安装有固定板,处于上方所述辊筒二与固定板转动连接,处于下方所述辊筒二与限位板转动连接。
 
优选的,所述引导板的前端固定安装有长条板,所述长条板的内部设置有长槽孔,所述长条板前端的两侧分别对称设置有固定螺栓,两个所述固定螺栓的螺杆端均通过长槽孔贯穿长条板并分别与两个限位板螺纹连接。
 
优选的,所述引导板的内部设置有丝杆腔,所述引导板的丝杆腔内部转动安装有滚珠丝杆,所述滚珠丝杆外侧两端的螺纹相反设置,所述滚珠丝杆外侧的两端分别对称滑动安装有滑动块,所述滑动块的上固定安装有传动板,所述传动板的上端与限位板固定连接,所述引导板的一侧设置有手轮槽,所述引导板的手轮槽内部设置有手轮,所述手轮的一侧固定安装有连接杆,且连接杆与滚珠丝杆固定连接。
 
优选的,所述收卷底板上方的一侧固定安装有设备箱,所述设备箱的一侧转动安装有收卷轴,所述收卷轴的一侧转动安装有侧柱,所述侧柱的下方设置有支撑架,所述支撑架包括底箱、升降条板和垫块。
 
优选的,所述底箱与收卷底板固定连接,所述升降条板设置于底箱的上方,且升降条板的下端穿进底箱的内部,所述垫块固定安装于升降条板的上方,所述垫块的上端面上设置有弧形凹槽。
 
优选的,所述收卷轴的上方设置有压架,所述压架包括辊架、压缩弹簧和顶板,所述压缩弹簧设置有两个,且两个压缩弹簧对称设置于辊架和顶板之间,所述顶板的一侧固定安装有立板,所述立板的下端与设备箱固定连接。
 
优选的,所述辊架的内侧转动安装有压辊,所述辊架的上方固定安装有导柱,所述导柱的上端滑动贯穿顶板。
 
与现有技术相比,本实用新型的有益效果是:
 
1.该实用新型通过引导板上的引导槽及内部对称设置的限位板,能够对聚氨酯同步带进行限制引导,有效防止了同步带在收卷时发生偏斜,其中限位板内侧设置的辊筒一和上下对称的辊筒二,不仅降低了同步带与限位板之间的直接接触摩擦,还进一步增强了同步带的稳定性,使其稳定处于两个限位板之间,这样的设计显著提升了聚氨酯同步带收卷的整齐性和稳定性,确保了收卷质量。
 
2.该实用新型通过滚珠丝杆和滑动块的设置,方便调整两个限位板的位置,并通过长条板和固定螺栓的设置,方便两个限位板之间的距离调整后的固定,以适应不同宽度的聚氨酯同步带,提高了收卷架的适用性和灵活性,确保了同步带在收卷过程中能够受到均匀的引导和限制,从而有效防止偏斜。
 
3.该实用新型通过压架的设置,其中压架包括辊架、压缩弹簧和顶板,使得通过压缩弹簧的弹性作用,压辊能够始终对收卷的聚氨酯同步带施加一定的压力,从而确保其紧密、整齐地收卷在收卷筒上。
 
附图说明
 
图1为本实用新型的一种聚氨酯同步带的收卷架的示意图;
 
图2为本实用新型的引导板的结构示意图;
 
图3为本实用新型的引导板的局部剖视图;
 
图4为本实用新型的压架的结构示意图。
 
图中:1、收卷底板;2、设备箱;3、收卷轴;4、侧柱;5、引导板;6、压架;601、辊架;602、压缩弹簧;603、顶板;7、支撑架;701、底箱;702、升降条板;703、垫块;8、限位板;9、辊筒一;10、辊筒二;11、固定板;12、长条板;13、固定螺栓;14、滚珠丝杆;15、滑动块;16、传动板;17、手轮;18、压辊;19、导柱;20、立板。
 
具体实施方式
 
下面将结合本实用新型实施例中的附图,对本实用新型实施例中的技术方案进行清楚、完整地描述,显然,所描述的实施例仅仅是本实用新型一部分实施例,而不是全部的实施例。
 
请参阅图1-4,本实用新型提供的一种实施例:一种聚氨酯同步带的收卷架,包括收卷底板1,收卷底板1上方的前端固定安装有引导板5,引导板5的上方设置有引导槽,且引导板5的引导槽内部的两侧分别对称设置有限位板8,两个限位板8的内侧均设置有辊槽,限位板8的辊槽内部转动安装有辊筒一9,能够降低聚氨酯同步带在收卷过程中聚氨酯同步带与限位板8之间的接触摩擦,辊筒一9一侧的上方和下方分别对称设置有辊筒二10,限位板8的上方固定安装有固定板11,处于上方辊筒二10与固定板11转动连接,处于下方辊筒二10与限位板8转动连接。
 
使用时,在聚氨酯同步带收卷时,使聚氨酯同步带从引导板5的引导槽内的两个限位板8之间穿过,通过调节两个限位板8之间的距离与聚氨酯同步带宽度相匹配,能够对聚氨酯同步带的收卷进行限制引导,防止聚氨酯同步带收卷偏斜,并通过设置的两个辊筒二10使得能够限制聚氨酯同步带,使聚氨酯同步带稳定处于两个限位板8之间,能够对聚氨酯同步带进行限制引导,有效防止了同步带在收卷时发生偏斜。
 
请参阅图1和图2,引导板5的前端固定安装有长条板12,长条板12的内部设置有长槽孔,长条板12前端的两侧分别对称设置有固定螺栓13,两个固定螺栓13的螺杆端均通过长槽孔贯穿长条板12并分别与两个限位板8螺纹连接,使得通过拧紧固定螺栓13能够对限位板8进行位置固定。
 
通过长条板12和固定螺栓13的设置,通过简单地松开和拧紧固定螺栓13,方便两个限位板8之间的距离调整后的固定,以适应不同宽度的聚氨酯同步带,不仅提高了收卷架的适用性和灵活性,还确保了同步带在收卷过程中能够受到均匀的引导和限制,从而有效防止偏斜。
 
请参阅图2和图3,引导板5的内部设置有丝杆腔,引导板5的丝杆腔内部转动安装有滚珠丝杆14,滚珠丝杆14外侧两端的螺纹相反设置,滚珠丝杆14外侧的两端分别对称滑动安装有滑动块15,滑动块15的上固定安装有传动板16,传动板16的上端与限位板8固定连接,引导板5的一侧设置有手轮槽,引导板5的手轮槽内部设置有手轮17,手轮17的一侧固定安装有连接杆,且连接杆与滚珠丝杆14固定连接。
 
滚珠丝杆14和滑动块15的设置,通过转动手轮17,滚珠丝杆14能够驱动两个滑动块15以相反的方向同步移动,从而方便调整两个限位板8的位置,提高了调整的效率,确保了限位板8在调整过程中的稳定性和同步性。
 
请参阅图1,收卷底板1上方的一侧固定安装有设备箱2,设备箱2的一侧转动安装有收卷轴3,收卷轴3设置为气胀轴,用于聚氨酯同步带收卷筒的安放和固定,设备箱2的内部设置有收卷轴3的驱动电机,收卷轴3的一侧转动安装有侧柱4,侧柱4的下方设置有支撑架7,支撑架7包括底箱701、升降条板702和垫块703,底箱701与收卷底板1固定连接,升降条板702设置于底箱701的上方,且升降条板702的下端穿进底箱701的内部,底箱701的内部固定安装于用于驱动升降条板702升降移动的电动缸,垫块703固定安装于升降条板702的上方,垫块703的上端面上设置有弧形凹槽,有利于垫块703和侧柱4稳定接触。
 
支撑架7的设置,有利于收卷过程中的稳定性和安全性,通过电动缸驱动升降条板702升降移动,可以灵活地调整垫块703的高度,使得在聚氨酯同步带收卷时驱动垫块703上移对侧柱4进行支撑,增加收卷的稳定性,并在收卷完成后,可驱动垫块703下移,方便对收卷的聚氨酯同步带卷进行下料,增加了实用性。
 
请参阅图1和图4,收卷轴3的上方设置有压架6,压架6包括辊架601、压缩弹簧602和顶板603,压缩弹簧602设置有两个,且两个压缩弹簧602对称设置于辊架601和顶板603之间,顶板603的一侧固定安装有立板20,立板20的下端与设备箱2固定连接,辊架601的内侧转动安装有压辊18,压辊18用于弹性下压收卷的聚氨酯同步带,辊架601的上方固定安装有导柱19,导柱19的上端滑动贯穿顶板603。
 
压架6的设置,有利于聚氨酯同步带收卷的紧密度和整齐性,通过压缩弹簧602的弹性作用,压辊18能够始终对收卷的聚氨酯同步带施加一定的压力,从而确保其紧密、整齐地收卷在收卷筒上,同时,导柱19和顶板603的设置确保了辊架601在调整过程中的稳定性和可靠性。
 
工作原理:使用时,将用于聚氨酯同步带收卷的收卷筒套设固定在收卷轴3上,支撑架7通过电动缸驱动升降条板702移动,调整垫块703的高度来支撑侧柱4,然后通过设备箱2内的驱动电机提供动力进行收卷工作,在收卷过程中,聚氨酯同步带先被引导至引导板5的引导槽内,并通过两个限位板8之间的空间进行限制和引导,以防止其发生偏斜,并通过压架6中的压辊18通过压缩弹簧602的弹性作用,对收卷的同步带施加压力,确保其紧密、整齐地收卷在收卷筒上,另外,在收卷不同宽度的聚氨酯同步带时,转动手轮17可以驱动滚珠丝杆14旋转,进而使两个滑动块15以相反方向同步移动,调整限位板8的位置,并通过拧紧固定螺栓13,对限位板8进行位置固定,以适应不同宽度的同步带。
 
对于本领域技术人员而言,显然本实用新型不限于上述示范性实施例的细节,而且在不背离本实用新型的精神或基本特征的情况下,能够以其他的具体形式实现本实用新型。因此,无论从哪一点来看,均应将实施例看作是示范性的,而且是非限制性的,本实用新型的范围由所附权利要求而不是上述说明限定,因此旨在将落在权利要求的等同要件的含义和范围内的所有变化囊括在本实用新型内。不应将权利要求中的任何附图标记视为限制所涉及的权利要求。
Copyright © 宁波鄞州盖奇同步带轮有限公司 2007-2022 All Rights Reserved.
电话:4006-574-123/0574-27834692 传真:0574-27834691
地址:浙江省宁波市鄞州区姜山镇蔡郎桥村姜南路39-2 E-Mail:sales@belt-pulley.com  
浙ICP备09102982号 盖奇公司网络部提供技术支持 浙公网安备33021202003319号