当前位置:首页->一种自动组装电动座椅马达减速器同步带的设备

 一种自动组装电动座椅马达减速器同步带的设备

申请(专利)号: CN202511599292.X
申请日: 2025.11.04
申请公布号: CN121223478A
公开公告日: 2025.12.30
主分类号: B23P19/027(2006.01)
分类号: B23P19/027(2006.01);
申请权利人: 雄华机械(苏州)有限公司;
发明设计人: 陆辉; 李成金; 骆磊;
地址: 215000 江苏省苏州市高新区塘西路25号
国省代码: 江苏;32
代理机构: 北京众合诚成知识产权代理有限公司 11246
代理人: 王熙文
 
摘要:
本发明公开了一种自动组装电动座椅马达减速器同步带的设备,包括同步带限位板块、同步带定位轮、大小同步带轮轴顶升杆、大小同步带轮轴压杆。同步带定位轮位于同步带限位板块让位口上方,同步带定位轮能够升降。小同步带轮轴顶升杆活动配合有活动筒件。同步带定位轮的边缘设有豁口,活动筒件配合在所述豁口中。小同步带轮轴顶升杆及压杆匀设置在平移装置上。同步带放置在同步带定位轮外围,并落在同步带限位板块上。平移装置动作,活动筒件将同步带撑开。大小同步带轮同步下降,同步带同时套在大小同步带轮上。本发明为同步带轮上安装同步带提供一种自动化设备的结构,为同步带自动安装在一对同步带轮上提供硬件基础。
 
主权项:
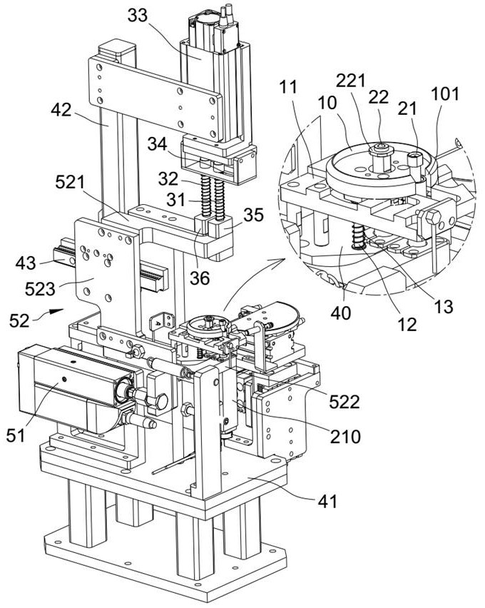
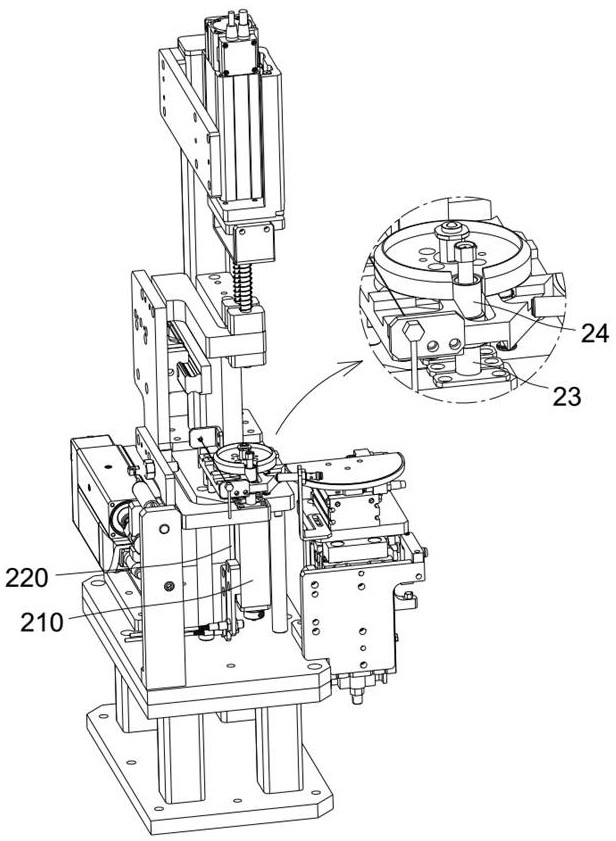
1.一种自动组装电动座椅马达减速器同步带的设备,包括同步带限位板块(11)、同步带定位轮(10)、小同步带轮轴顶升杆(21)、大同步带轮轴顶升杆(22)、小同步带轮轴压杆(31)、大同步带轮轴压杆(32);同步带限位板设有让位口,同步带定位轮位于同步带限位板块上方且与让位口上下对齐,同步带定位轮能够相对同步带限位板块下降;其特征在于:小同步带轮轴顶升杆(21)活动配合在固定筒件(23)中,固定筒件上套设有活动筒件(24),活动筒件与固定筒件之间设有弹性伸缩件;同步带定位轮的边缘设有豁口(101),活动筒件配合在所述豁口中,活动筒件的外径等于小同步带轮的外径,同步带定位轮(10)的外径等于大同步带轮的外径;小同步带轮轴顶升杆的顶升装置(210),以及,小同步带轮轴压杆(31)匀设置在平移装置上。
1.一种自动组装电动座椅马达减速器同步带的设备,包括同步带限位板块(11)、同步带定位轮(10)、小同步带轮轴顶升杆(21)、大同步带轮轴顶升杆(22)、小同步带轮轴压杆(31)、大同步带轮轴压杆(32);同步带限位板设有让位口,同步带定位轮位于同步带限位板块上方且与让位口上下对齐,同步带定位轮能够相对同步带限位板块下降;
 
其特征在于:小同步带轮轴顶升杆(21)活动配合在固定筒件(23)中,固定筒件上套设有活动筒件(24),活动筒件与固定筒件之间设有弹性伸缩件;
 
同步带定位轮的边缘设有豁口(101),活动筒件配合在所述豁口中,活动筒件的外径等于小同步带轮的外径,同步带定位轮(10)的外径等于大同步带轮的外径;
 
小同步带轮轴顶升杆的顶升装置(210),以及,小同步带轮轴压杆(31)匀设置在平移装置上。
 
2.如权利要求1所述的自动组装电动座椅马达减速器同步带的设备,其特征在于:同步带限位板块(11)固定设置在工作台(40)上,同步带定位轮(10)安装在立式导向杆(12)上,立式导向杆活动穿过工作台,立式导向杆上套设有复位弹簧(13),复位弹簧位于工作台与同步带限位板块之间。
 
3.如权利要求1所述的自动组装电动座椅马达减速器同步带的设备,其特征在于:大同步带轮轴顶升杆的顶升装置(220)安装在工作台(40)上,大同步带轮轴顶升杆(22)向上穿过同步带定位轮(10),大同步带轮轴顶升杆设有径向凸缘(221),径向凸缘能够下压同步带定位轮。
 
4.如权利要求1所述的自动组装电动座椅马达减速器同步带的设备,其特征在于:平移装置包括固定在设备底座(41)上的卧式气缸(51)、与卧式气缸连接的板块组合(52),板块组合的顶板(521)上设置小同步带轮轴压杆(31),板块组合的底板(522)上设置小同步带轮轴顶升杆的顶升装置(210),板块组合的中板(523)上设置滑块,工作台(40)上设置立座(42),立座上设置卧式滑轨(43),滑块与卧式滑轨配合。
 
5.如权利要求4所述的自动组装电动座椅马达减速器同步带的设备,其特征在于:立座(42)上安装下压装置(33),下压装置的下压座设有条形导向槽(34),小同步带轮轴压杆(31)的顶部活动配合在条形导向槽中,小同步带轮轴压杆的底部活动配合在小同步带轮轴压杆导向件(35)中;
 
大同步带轮轴压杆(32)的顶部固定在所述下压座上,大同步带轮轴压杆的底部活动配合在大同步带轮轴压杆导向件(36)中,大同步带轮轴压杆导向件与工作台(40)固定连接。
 
6.如权利要求4所述的自动组装电动座椅马达减速器同步带的设备,其特征在于:同步带限位板块(11)的旁侧设置同步带压轮(60),同步带压轮安装在旋转气缸(61)上,旋转气缸连接卧式平移气缸(62),卧式平移气缸连接立式升降气缸(63),立式升降气缸固定连接设备底座(41)。
一种自动组装电动座椅马达减速器同步带的设备
技术领域
 
本发明涉及汽车领域,具体涉及电动马达的减速器组装设备。
 
背景技术
 
汽车用的电动马达减速器,包括壳体、设置在壳体中的一对同步带轮与一对齿轮。一对同步带轮包括小同步带轮与大同步带轮、连接小同步带轮与大同步带轮的同步带。一对齿轮包括与大同步带轮同轴设置的小齿轮、与小齿轮啮合的大齿轮。小同步带轮所在轴为减速器输入轴,与电动马达连接,大齿轮所在轴为减速器的输出轴,与电动窗升降装置连接,或者与电动门驱动装置连接,用于驱动窗玻璃、车门或车锁的动作,实现自动化控制。
 
发明内容
 
本发明所解决的技术问题:为小同步带轮与大同步带轮上安装同步带提供一种自动化设备的结构,为同步带自动安装在一对同步带轮上提供硬件基础。
 
为解决上述技术问题,本发明提供如下技术方案:一种自动组装电动座椅马达减速器同步带的设备,包括同步带限位板块、同步带定位轮、小同步带轮轴顶升杆、大同步带轮轴顶升杆、小同步带轮轴压杆、大同步带轮轴压杆;同步带限位板设有让位口,同步带定位轮位于同步带限位板块上方且与让位口上下对齐,同步带定位轮能够相对同步带限位板块下降;
 
小同步带轮轴顶升杆活动配合在固定筒件中,固定筒件上套设有活动筒件,活动筒件与固定筒件之间设有弹性伸缩件;
 
同步带定位轮的边缘设有豁口,活动筒件配合在所述豁口中,活动筒件的外径等于小同步带轮的外径,同步带定位轮的外径等于大同步带轮的外径;
 
小同步带轮轴顶升杆的顶升装置,以及,小同步带轮轴压杆匀设置在平移装置上。
 
按上述技术方案,机械手将同步带放置在同步带定位轮外围,并落在所述同步带限位板块上。平移装置动作,驱动小同步带轮轴顶升杆平移,以及,固定筒件与活动筒件平移,活动筒件离开同步带定位轮的豁口,将同步带撑开。之后,机械手将大同步带轮轴放置在大同步带轮轴压杆下方,大同步带轮轴顶升杆由下而上抵压在大同步带轮轴的底端,大同步带轮轴的顶端与大同步带轮轴压杆相抵。机械手将小同步带轮轴放置在小同步带轮轴压杆下方,小同步带轮轴顶升杆由下而上抵压在小同步带轮轴的底端,小同步带轮轴的顶端与小同步带轮轴压杆相抵。之后,在下压装置的驱动下,大同步带轮轴压杆与小同步带轮轴压杆下降,在顶升装置的驱动下,大同步带轮轴顶升杆与小同步带轮轴顶升杆下降,大同步带轮与小同步带轮下降。
 
下降的大同步带轮接近同步带定位轮时,同步带定位轮下降,进入所述让位口,而同步带被同步带限位板块阻挡,并且,大同步带轮替代同步带定位轮的位置,如此,同步带套在大同步带轮上。
 
下降的小同步带轮作用于活动筒件,使活动筒件相对固定筒件下降,小同步带轮替代活动筒件的位置,同步带套在小同步带轮上。
 
大同步带轮与小同步带轮同步下降,同步带同时套在大同步带轮与小同步带轮上。
 
同步带限位板块固定设置在工作台上,同步带定位轮安装在立式导向杆上,立式导向杆活动穿过工作台,立式导向杆上套设有复位弹簧,复位弹簧位于工作台与同步带限位板块之间。同步带定位轮被压时,立式导向杆下降,复位弹簧被压缩。同步带定位轮被释放后,复位弹簧使同步带定位轮上升复位。
 
大同步带轮轴顶升杆的顶升装置安装在工作台上,大同步带轮轴顶升杆向上穿过同步带定位轮,大同步带轮轴顶升杆设有径向凸缘,径向凸缘能够下压同步带定位轮。在大同步带轮及大同步带轮轴顶升杆下降时,径向凸缘作用于同步带定位轮,下压同步带定位轮。
 
平移装置包括固定在设备底座上的卧式气缸、与卧式气缸连接的板块组合,板块组合的顶板上设置小同步带轮轴压杆,板块组合的底板上设置小同步带轮轴顶升杆的顶升装置,板块组合的中板上设置滑块,工作台上设置立座,立座上设置卧式滑轨,滑块与卧式滑轨配合。在卧式气缸的驱动下,板块组合沿卧式滑轨平移,小同步带轮轴压杆与小同步带轮轴顶升杆同步平移。如此,小同步带轮轴压杆与小同步带轮轴顶升杆保持上下对齐。
 
立座上安装下压装置,下压装置的下压座设有条形导向槽,小同步带轮轴压杆的顶部活动配合在条形导向槽中,小同步带轮轴压杆的底部活动配合在小同步带轮轴压杆导向件中。大同步带轮轴压杆的顶部固定在所述下压座上,大同步带轮轴压杆的底部活动配合在大同步带轮轴压杆导向件中,大同步带轮轴压杆导向件与工作台固定连接。板块组合平移时,小同步带轮轴压杆与小同步带轮轴顶升杆同步平移,其中,小同步带轮轴压杆的顶部沿条形导向槽平移。在下压装置的下压座下降时,下压座能够同时驱动大同步带轮轴压杆与小同步带轮轴压杆下降。
 
同步带限位板块的旁侧设置同步带压轮,同步带压轮安装在旋转气缸上,旋转气缸连接卧式平移气缸,卧式平移气缸连接立式升降气缸,立式升降气缸固定连接设备底座。在同步带套在大同步带轮与小同步带轮上后,在立式升降气缸与卧式平移气缸的驱动下,同步带压轮与同步带齐平,并且靠拢接触同步带,旋转气缸驱动同步带压轮转动,同步带压轮驱动同步带转动,如此,使同步带的齿与大同步带轮齿及小同步带轮齿啮合,同步带与大同步带轮及小同步带轮配合到位。
 
本发明为小同步带轮与大同步带轮上安装同步带提供一种自动化设备的结构,为同步带自动安装在一对同步带轮上提供硬件基础。
 
附图说明
 
下面结合附图对本发明做进一步的说明:
 
图1为自动组装电动座椅马达减速器同步带的设备的示意图;
 
图2为图1中从右侧观察自动组装电动座椅马达减速器同步带的设备的示意图;
 
图3为图2中从右侧观察自动组装电动座椅马达减速器同步带的设备的示意图;
 
图4为图1中自动组装电动座椅马达减速器同步带的设备的工作示意图。
 
图中符号说明:
 
10、同步带定位轮;101、豁口;11、同步带限位板块;12、立式导向杆;13、复位弹簧;
 
21、小同步带轮轴顶升杆;210、小同步带轮轴顶升杆的顶升装置;22、大同步带轮轴顶升杆;220、大同步带轮轴顶升杆的顶升装置;221、径向凸缘;23、固定筒件;24、活动筒件;
 
31、小同步带轮轴压杆;32、大同步带轮轴压杆;33、下压装置;34、条形导向槽;35、小同步带轮轴压杆导向件;36、大同步带轮轴压杆导向件;
 
40、工作台;41、设备底座;42、立座;43、卧式滑轨;
 
51、卧式气缸;52、板块组合;521、板块组合的顶板;522、板块组合的底板;523、板块组合的中板;
 
60、同步带压轮;61、旋转气缸;62、卧式平移气缸;63、立式升降气缸;
 
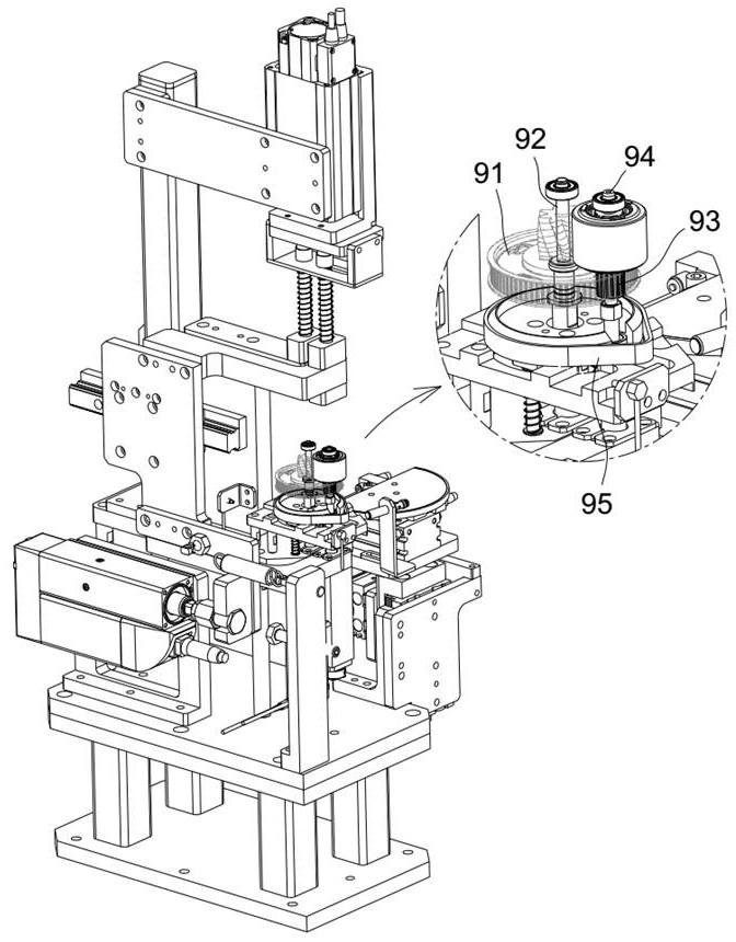
91、大同步带轮;92、大同步带轮轴;93、小同步带轮;94、小同步带轮轴;95、同步带。
 
具体实施方式
 
结合图1、图2、图4,一种自动组装电动座椅马达减速器同步带的设备,包括同步带限位板块11、同步带定位轮10、小同步带轮轴顶升杆21、大同步带轮轴顶升杆22、小同步带轮轴压杆31、大同步带轮轴压杆32;同步带限位板设有让位口,同步带定位轮位于同步带限位板块上方且与让位口上下对齐,同步带定位轮能够相对同步带限位板块下降。小同步带轮轴顶升杆21活动配合在固定筒件23中,固定筒件上套设有活动筒件24,活动筒件与固定筒件之间设有弹性伸缩件(如弹簧)。同步带定位轮的边缘设有豁口101,活动筒件配合在所述豁口中,活动筒件的外径等于小同步带轮的外径,同步带定位轮10的外径等于大同步带轮的外径。小同步带轮轴顶升杆的顶升装置210,以及,小同步带轮轴压杆31匀设置在平移装置上。
 
同步带限位板块11固定设置在工作台40上,同步带定位轮10安装在立式导向杆12上,立式导向杆活动穿过工作台,立式导向杆上套设有复位弹簧13,复位弹簧位于工作台与同步带限位板块之间。
 
大同步带轮轴顶升杆的顶升装置220安装在工作台40上,大同步带轮轴顶升杆22向上穿过同步带定位轮10,大同步带轮轴顶升杆设有径向凸缘221,径向凸缘能够下压同步带定位轮。
 
平移装置包括固定在设备底座41上的卧式气缸51、与卧式气缸连接的板块组合52,板块组合的顶板521上设置小同步带轮轴压杆31,板块组合的底板522上设置小同步带轮轴顶升杆的顶升装置210,板块组合的中板523上设置滑块,工作台40上设置立座42,立座上设置卧式滑轨43,滑块与卧式滑轨配合。
 
立座42上安装下压装置33,下压装置的下压座设有条形导向槽34,小同步带轮轴压杆31的顶部活动配合在条形导向槽中,小同步带轮轴压杆的底部活动配合在小同步带轮轴压杆导向件35中。大同步带轮轴压杆32的顶部固定在所述下压座上,大同步带轮轴压杆的底部活动配合在大同步带轮轴压杆导向件36中,大同步带轮轴压杆导向件与工作台40固定连接。
 
如图3,同步带限位板块11的旁侧设置同步带压轮60,同步带压轮安装在旋转气缸61上,旋转气缸连接卧式平移气缸62,卧式平移气缸连接立式升降气缸63,立式升降气缸固定连接设备底座41。
 
参考图4,机械手将同步带95放置在同步带定位轮10外围,并落在所述同步带限位板块11上。平移装置动作,驱动小同步带轮轴顶升杆21平移,以及,固定筒件23与活动筒件24平移,活动筒件离开同步带定位轮的豁口101,将同步带撑开。
 
之后,机械手将大同步带轮轴92放置在大同步带轮轴压杆32下方,大同步带轮轴顶升杆22由下而上抵压在大同步带轮轴的底端,大同步带轮轴的顶端与大同步带轮轴压杆相抵。机械手将小同步带轮轴94放置在小同步带轮轴压杆31下方,小同步带轮轴顶升杆21由下而上抵压在小同步带轮轴94的底端,小同步带轮轴的顶端与小同步带轮轴压杆相抵。
 
之后,在下压装置33的驱动下,大同步带轮轴压杆32与小同步带轮轴压杆31下降,在顶升装置的驱动下,大同步带轮轴顶升杆22与小同步带轮轴顶升杆21下降,大同步带轮91与小同步带轮93下降。
 
下降的大同步带轮91接近同步带定位轮10时,同步带定位轮下降,进入所述让位口,而同步带95被同步带限位板块11阻挡,并且,大同步带轮替代同步带定位轮的位置,如此,同步带套在大同步带轮上。
 
下降的小同步带轮93作用于活动筒件24,使活动筒件相对固定筒件23下降,小同步带轮替代活动筒件的位置,同步带95套在小同步带轮上。
 
大同步带轮91与小同步带轮93同步下降,同步带95同时套在大同步带轮与小同步带轮上。
 
大同步带轮91及大同步带轮轴顶升杆22下降时,径向凸缘221作用于同步带定位轮10,下压同步带定位轮。同步带定位轮被压时,立式导向杆12下降,复位弹簧13被压缩。同步带定位轮被释放后,复位弹簧使同步带定位轮上升复位。
 
在卧式气缸51的驱动下,板块组合52沿卧式滑轨43平移,小同步带轮轴压杆31与小同步带轮轴顶升杆21同步平移。如此,小同步带轮轴压杆与小同步带轮轴顶升杆保持上下对齐。
 
板块组合52平移时,小同步带轮轴压杆31与小同步带轮轴顶升杆21同步平移,其中,小同步带轮轴压杆的顶部沿条形导向槽34平移。在下压装置33的下压座下降时,下压座能够同时驱动大同步带轮轴压杆32与小同步带轮轴压杆31下降。
 
在同步带95套在大同步带轮91与小同步带轮93上后,在立式升降气缸63与卧式平移气缸62的驱动下,同步带压轮60与同步带95齐平,并且靠拢接触同步带,旋转气缸61驱动同步带压轮60转动,同步带压轮驱动同步带转动,如此,使同步带的齿与大同步带轮齿及小同步带轮齿啮合,同步带95与大同步带轮及小同步带轮配合到位。
 
以上内容仅为本发明的较佳实施方式,对于本领域的普通技术人员,依据本发明的思想,在具体实施方式及应用范围上均会有改变之处,本说明书内容不应理解为对本发明的限制。
Copyright © 宁波鄞州盖奇同步带轮有限公司 2007-2022 All Rights Reserved.
电话:4006-574-123/0574-27834692 传真:0574-27834691
地址:浙江省宁波市鄞州区姜山镇蔡郎桥村姜南路39-2 E-Mail:sales@belt-pulley.com  
浙ICP备09102982号 盖奇公司网络部提供技术支持 浙公网安备33021202003319号