当前位置:首页->一种新型同步带升降机

 一种新型同步带升降机

申请(专利)号: CN202520480039.1
申请日: 2025.03.19
授权公告号: CN223837023U
授权公告日: 2026.01.27
主分类号: B66F7/02(2006.01)
分类号: B66F7/02(2006.01); B66F7/28(2006.01);
申请权利人: 深圳市奥图机电设备有限公司;
发明设计人: 谭玉; 陆腾发; 熊义局;
地址: 518105 广东省深圳市宝安区松岗街道松岗社区东风工业区蓝盾厂厂房八201
国省代码: 广东;44
代理机构: 深圳泛航知识产权代理事务所(普通合伙) 44867
代理人: 张智轶
 
摘要:
本实用新型涉及同步带升降机技术领域,具体为一种新型同步带升降机,包括框架、防静电亚克力防护板与同步带升降机主体,所述同步带升降机主体包括导轨,所述导轨的下端安装有滑块,所述滑块的一侧设置有传动构件,所述传动构件的一侧安装有升降构件,所述升降构件的内部安装有同步带主体,所述同步带主体的上端设置有第一传动盘,所述同步带主体的下端设置有第二传动盘,所述第一传动盘与第二传动盘的外侧位置处均安装有壳体。本实用新型升降构件与同步带主体可拆分,有利于同步带主体的更换、维修效率,通过同步带主体带动升降构件升降,提高升降操作的稳定性,通过传动架对第一传动链条防护,提高操作过程的安全性。
 
主权项:
1.一种新型同步带升降机,包括框架(1)、防静电亚克力防护板(2)与同步带升降机主体(3),所述防静电亚克力防护板(2)位于框架(1)的外侧位置处,所述同步带升降机主体(3)位于框架(1)的内侧位置处,其特征在于,所述同步带升降机主体(3)包括导轨(4),所述导轨(4)的下端安装有滑块(5),所述滑块(5)的一侧设置有传动构件(6),所述传动构件(6)的一侧安装有升降构件(7),所述升降构件(7)的内部安装有同步带主体(8),所述同步带主体(8)的上端设置有第一传动盘(9),所述同步带主体(8)的下端设置有第二传动盘(10),所述第一传动盘(9)与第二传动盘(10)的外侧位置处均安装有壳体(11),所述壳体(11)的一侧对应第二传动盘(10)的位置处安装有第一传动电机(12),所述传动构件(6)包括安装杆(13),所述安装杆(13)的两侧位置处均设置有传动架(14),所述传动架(14)的一端设置有传动杆(15),所述传动杆(15)的两端位于传动架(14)的内部位置处均安装有第一传动链条(16),所述传动架(14)的内侧设置有传动箱(17),所述传动箱(17)的一侧安装有第二传动电机(18),所述传动箱(17)的内部位于传动杆(15)的一端位置处设置有第二传动链条(19)。
1.一种新型同步带升降机,包括框架(1)、防静电亚克力防护板(2)与同步带升降机主体(3),所述防静电亚克力防护板(2)位于框架(1)的外侧位置处,所述同步带升降机主体(3)位于框架(1)的内侧位置处,其特征在于,所述同步带升降机主体(3)包括导轨(4),所述导轨(4)的下端安装有滑块(5),所述滑块(5)的一侧设置有传动构件(6),所述传动构件(6)的一侧安装有升降构件(7),所述升降构件(7)的内部安装有同步带主体(8),所述同步带主体(8)的上端设置有第一传动盘(9),所述同步带主体(8)的下端设置有第二传动盘(10),所述第一传动盘(9)与第二传动盘(10)的外侧位置处均安装有壳体(11),所述壳体(11)的一侧对应第二传动盘(10)的位置处安装有第一传动电机(12),所述传动构件(6)包括安装杆(13),所述安装杆(13)的两侧位置处均设置有传动架(14),所述传动架(14)的一端设置有传动杆(15),所述传动杆(15)的两端位于传动架(14)的内部位置处均安装有第一传动链条(16),所述传动架(14)的内侧设置有传动箱(17),所述传动箱(17)的一侧安装有第二传动电机(18),所述传动箱(17)的内部位于传动杆(15)的一端位置处设置有第二传动链条(19)。
 
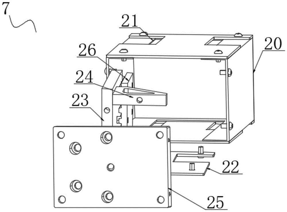
2.根据权利要求1所述的一种新型同步带升降机,其特征在于,所述升降构件(7)包括滑箱(20),所述滑箱(20)的两端位置处均开设有滑口(21),所述滑箱(20)的内侧设置有固定板(22),所述固定板(22)的上侧一端位置处设置有挡板(23),所述挡板(23)的一侧前端位置处设置有支撑块(24),所述挡板(23)的一侧后端位置处设置有压板(26),所述滑箱(20)的前侧设置有密封板(25)。
 
3.根据权利要求1所述的一种新型同步带升降机,其特征在于,所述升降构件(7)的一端固定于同步带主体(8)的外侧位置处,所述滑块(5)滑动于导轨(4)的外侧位置处,所述传动构件(6)通过滑块(5)滑动于导轨(4)的一侧位置处。
 
4.根据权利要求1所述的一种新型同步带升降机,其特征在于,所述传动杆(15)的外端转动于传动架(14)的内部位置处,所述第一传动链条(16)的位于传动杆(15)的外端位置处,所述第一传动链条(16)通过传动杆(15)转动于传动架(14)的内部位置处。
 
5.根据权利要求1所述的一种新型同步带升降机,其特征在于,所述第二传动链条(19)的下端位于第二传动电机(18)的一端位置处,所述第二传动链条(19)通过第二传动电机(18)转动于传动箱(17)的内部位置处,所述传动杆(15)通过第二传动链条(19)转动于传动架(14)的内侧位置处。
 
6.根据权利要求2所述的一种新型同步带升降机,其特征在于,所述同步带主体(8)滑动于滑口(21)的内部位置处,所述同步带主体(8)的一端通过压板(26)固定于挡板(23)的内侧位置处。
 
7.根据权利要求2所述的一种新型同步带升降机,其特征在于,所述支撑块(24)的前侧固定于密封板(25)的后侧位置处,所述密封板(25)的后侧固定于滑箱(20)的前侧位置处。
一种新型同步带升降机
技术领域
 
本实用新型涉及同步带升降机技术领域,具体是一种新型同步带升降机。
 
背景技术
 
同步带升降机是一种利用同步带来传递动力和运动,从而实现升降功能的设备,它结合了同步带传动的精准性和升降机的功能,在工业自动化、物流输送、舞台设备等众多领域有着广泛的应用。
 
但是,目前市场上的同步带升降机同步带与固定结构装配的便捷度较低,不利于同步带的更换、维修效率,且同步带与固定结构连接的牢固度较低,不利于升降操作的稳定性,输送结构的链条暴露在外,使用过程中容易卡夹物料,操作过程的安全性较低。因此,本领域技术人员提供了一种新型同步带升降机,以解决上述背景技术中提出的问题。
 
实用新型内容
 
本实用新型的目的在于提供一种新型同步带升降机,以解决上述背景技术中提出的问题。
 
为实现上述目的,本实用新型提供如下技术方案:
 
一种新型同步带升降机,包括框架、防静电亚克力防护板与同步带升降机主体,所述防静电亚克力防护板位于框架的外侧位置处,所述同步带升降机主体位于框架的内侧位置处,所述同步带升降机主体包括导轨,所述导轨的下端安装有滑块,所述滑块的一侧设置有传动构件,所述传动构件的一侧安装有升降构件,所述升降构件的内部安装有同步带主体,所述同步带主体的上端设置有第一传动盘,所述同步带主体的下端设置有第二传动盘,所述第一传动盘与第二传动盘的外侧位置处均安装有壳体,所述壳体的一侧对应第二传动盘的位置处安装有第一传动电机,所述传动构件包括安装杆,所述安装杆的两侧位置处均设置有传动架,所述传动架的一端设置有传动杆,所述传动杆的两端位于传动架的内部位置处均安装有第一传动链条,所述传动架的内侧设置有传动箱,所述传动箱的一侧安装有第二传动电机,所述传动箱的内部位于传动杆的一端位置处设置有第二传动链条。
 
作为本实用新型再进一步的方案:所述升降构件包括滑箱,所述滑箱的两端位置处均开设有滑口,所述滑箱的内侧设置有固定板,所述固定板的上侧一端位置处设置有挡板,所述挡板的一侧前端位置处设置有支撑块,所述挡板的一侧后端位置处设置有压板,所述滑箱的前侧设置有密封板。
 
作为本实用新型再进一步的方案:所述升降构件的一端固定于同步带主体的外侧位置处,所述滑块滑动于导轨的外侧位置处,所述传动构件通过滑块滑动于导轨的一侧位置处。
 
作为本实用新型再进一步的方案:所述传动杆的外端转动于传动架的内部位置处,所述第一传动链条的位于传动杆的外端位置处,所述第一传动链条通过传动杆转动于传动架的内部位置处。
 
作为本实用新型再进一步的方案:所述第二传动链条的下端位于第二传动电机的一端位置处,所述第二传动链条通过第二传动电机转动于传动箱的内部位置处,所述传动杆通过第二传动链条转动于传动架的内侧位置处。
 
作为本实用新型再进一步的方案:所述同步带主体滑动于滑口的内部位置处,所述同步带主体的一端通过压板固定于挡板的内侧位置处。
 
作为本实用新型再进一步的方案:所述支撑块的前侧固定于密封板的后侧位置处,所述密封板的后侧固定于滑箱的前侧位置处。
 
与现有技术相比,本实用新型的有益效果是:
 
1.本实用新型一种新型同步带升降机升降构件与同步带主体可拆分,提高升降构件与同步带主体装配的便捷度,有利于同步带主体的更换、维修效率,通过同步带主体带动升降构件升降,从而对传动构件升降,提高升降操作的稳定性;
 
2.通过传动架对第一传动链条防护,避免第一传动链条暴漏过多卡夹物料,提高操作过程的安全性。
 
附图说明
 
图1为一种新型同步带升降机的结构示意图;
 
图2为一种新型同步带升降机中同步带升降机主体的结构示意图;
 
图3为一种新型同步带升降机中传动构件的结构示意图;
 
图4为一种新型同步带升降机中升降构件的拆分图。
 
图中:1、框架;2、防静电亚克力防护板;3、同步带升降机主体;4、导轨;5、滑块;6、传动构件;7、升降构件;8、同步带主体;9、第一传动盘;10、第二传动盘;11、壳体;12、第一传动电机;13、安装杆;14、传动架;15、传动杆;16、第一传动链条;17、传动箱;18、第二传动电机;19、第二传动链条;20、滑箱;21、滑口;22、固定板;23、挡板;24、支撑块;25、密封板;26、压板。
 
具体实施方式
 
请参阅图1~4,本实用新型实施例中,一种新型同步带升降机,包括框架1、防静电亚克力防护板2与同步带升降机主体3,防静电亚克力防护板2位于框架1的外侧位置处,同步带升降机主体3位于框架1的内侧位置处,同步带升降机主体3包括导轨4,导轨4的下端安装有滑块5,滑块5的一侧设置有传动构件6,传动构件6的一侧安装有升降构件7,升降构件7的内部安装有同步带主体8,同步带主体8的上端设置有第一传动盘9,同步带主体8的下端设置有第二传动盘10,第一传动盘9与第二传动盘10的外侧位置处均安装有壳体11,壳体11的一侧对应第二传动盘10的位置处安装有第一传动电机12,传动构件6包括安装杆13,安装杆13的两侧位置处均设置有传动架14,传动架14的一端设置有传动杆15,传动杆15的两端位于传动架14的内部位置处均安装有第一传动链条16,传动架14的内侧设置有传动箱17,传动箱17的一侧安装有第二传动电机18,传动箱17的内部位于传动杆15的一端位置处设置有第二传动链条19,升降构件7的一端固定于同步带主体8的外侧位置处,滑块5滑动于导轨4的外侧位置处,传动构件6通过滑块5滑动于导轨4的一侧位置处,传动杆15的外端转动于传动架14的内部位置处,第一传动链条16的位于传动杆15的外端位置处,第一传动链条16通过传动杆15转动于传动架14的内部位置处,第二传动链条19的下端位于第二传动电机18的一端位置处,第二传动链条19通过第二传动电机18转动于传动箱17的内部位置处,传动杆15通过第二传动链条19转动于传动架14的内侧位置处,首先,把一种新型同步带升降机放置到使用位置处,把物料放置到传动架14的上侧,然后,启动一种新型同步带升降机,第二传动电机18运行通过第二传动链条19带动传动杆15转动,传动杆15带动第一传动链条16在传动架14的内部转动,对物料传动,第一传动电机12运行带动第二传动盘10转动,第二传动盘10带动同步带主体8转动,第一传动盘9转动对同步带主体8导滑,同步带主体8带动升降构件7升降,升降构件7带动传动构件6升降,滑块5在导轨4的外侧滑动对传动构件6导向,最后,使用完成,同步带主体8出现损坏时,取出同步带主体8,把新的同步带主体8安装到第一传动盘9与第二传动盘10的外侧,同步带主体8安装到升降构件7的内部,完成同步带主体8的更换。
 
在图2、4中:升降构件7包括滑箱20,滑箱20的两端位置处均开设有滑口21,滑箱20的内侧设置有固定板22,固定板22的上侧一端位置处设置有挡板23,挡板23的一侧前端位置处设置有支撑块24,挡板23的一侧后端位置处设置有压板26,滑箱20的前侧设置有密封板25,同步带主体8滑动于滑口21的内部位置处,同步带主体8的一端通过压板26固定于挡板23的内侧位置处,支撑块24的前侧固定于密封板25的后侧位置处,密封板25的后侧固定于滑箱20的前侧位置处,使用完成,同步带主体8出现损坏时,拆除滑箱20,压板26分离挡板23,取出同步带主体8,把新的同步带主体8安装到第一传动盘9与第二传动盘10的外侧,同步带主体8放入挡板23与压板26的对应侧,把压板26固定到挡板23的外侧外侧同步带主体8与升降构件7的固定,滑箱20安装到密封板25的外侧,同步带主体8位于滑口21的内部,完成同步带主体8的更换。
 
本实用新型的工作原理是:首先,把一种新型同步带升降机放置到使用位置处,把物料放置到传动架14的上侧,然后,启动一种新型同步带升降机,第二传动电机18运行通过第二传动链条19带动传动杆15转动,传动杆15带动第一传动链条16在传动架14的内部转动,对物料传动,第一传动电机12运行带动第二传动盘10转动,第二传动盘10带动同步带主体8转动,第一传动盘9转动对同步带主体8导滑,同步带主体8带动升降构件7升降,升降构件7带动传动构件6升降,滑块5在导轨4的外侧滑动对传动构件6导向,最后,使用完成,同步带主体8出现损坏时,拆除滑箱20,压板26分离挡板23,取出同步带主体8,把新的同步带主体8安装到第一传动盘9与第二传动盘10的外侧,同步带主体8放入挡板23与压板26的对应侧,把压板26固定到挡板23的外侧外侧同步带主体8与升降构件7的固定,滑箱20安装到密封板25的外侧,同步带主体8位于滑口21的内部,完成同步带主体8的更换。
 
以上所述的,仅为本实用新型较佳的具体实施方式,但本实用新型的保护范围并不局限于此,任何熟悉本技术领域的技术人员在本实用新型揭露的技术范围内,根据本实用新型的技术方案及其实用新型构思加以等同替换或改变,都应涵盖在本实用新型的保护范围之内。
Copyright © 宁波鄞州盖奇同步带轮有限公司 2007-2022 All Rights Reserved.
电话:4006-574-123/0574-27834692 传真:0574-27834691
地址:浙江省宁波市鄞州区姜山镇蔡郎桥村姜南路39-2 E-Mail:sales@belt-pulley.com  
浙ICP备09102982号 盖奇公司网络部提供技术支持 浙公网安备33021202003319号