当前位置:首页->一种注塑机的同步带调模结构

 一种注塑机的同步带调模结构

申请(专利)号: CN202520354042.9
申请日: 2025.03.03
授权公告号: CN224044418U
授权公告日: 2026.03.27
主分类号: B29C45/26(2006.01)
分类号: B29C45/26(2006.01);
申请权利人: 泰瑞机器股份有限公司;
发明设计人: 陈法鑫; 彭兴鹏; 陈新亚; 周振辉; 陈晨; 张相华; 周志敏; 倪俊平; 吴越;
地址: 310000 浙江省杭州市钱塘区白杨街道银海街417号
国省代码: 浙江;33
代理机构: 杭州杭诚专利事务所有限公司 33109
代理人: 侯子恒
 
摘要:
本实用新型公开了一种注塑机的同步带调模结构,涉及塑料的加工领域,本调模结构包括后模板和驱动电机,所述后模板的四角分别设有一号拉杆和二号拉杆和三号拉杆以及四号拉杆,四根拉杆与驱动电机间设有同步带传动连接。相较于对比技术采用齿轮啮合进行调模,本实用新型中的调模结构通过同步带进行传动,驱动电机与拉杆之间的转动方向保持一致。响应速度较快,重量较小,成本较低,且控制方便。
 
主权项:
1.一种注塑机的同步带调模结构,其特征在于,包括后模板(12)和驱动电机(10),所述后模板(12)的四角分别设有一号拉杆(1)和二号拉杆(2)和三号拉杆(3)以及四号拉杆(4),四根拉杆与驱动电机(10)间设有同步带传动连接。
1.一种注塑机的同步带调模结构,其特征在于,包括后模板(12)和驱动电机(10),所述后模板(12)的四角分别设有一号拉杆(1)和二号拉杆(2)和三号拉杆(3)以及四号拉杆(4),四根拉杆与驱动电机(10)间设有同步带传动连接。
 
2.根据权利要求1所述的一种注塑机的同步带调模结构,其特征在于,所述驱动电机(10)和所述后模板(12)之间设有电机安装座(11)连接,所述驱动电机(10)的输出部与所述一号拉杆(1)和所述三号拉杆(3)之间设有第一同步带(9)传动连接。
 
3.根据权利要求2所述的一种注塑机的同步带调模结构,其特征在于,所述电机安装座(11)上对称设有张紧轮滑槽,张紧轮滑槽中设有与拉杆平行设置的可动张紧轮(8),所述可动张紧轮(8)与所述第一同步带(9)配合。
 
4.根据权利要求3所述的一种注塑机的同步带调模结构,其特征在于,在所述电机安装座(11)上,位于所述驱动电机(10)的输出端和所述一号拉杆(1)间,设有第一张紧轮滑槽(6),所述可动张紧轮(8)在所述第一张紧轮滑槽(6)上的固定位置可调;
 
在所述电机安装座(11)上,位于所述驱动电机(10)的输出端和所述三号拉杆(3)间,设有第二张紧轮滑槽(7),所述可动张紧轮(8)在所述第二张紧轮滑槽(7)上的固定位置可调。
 
5.根据权利要求1或2或3或4所述的一种注塑机的同步带调模结构,其特征在于,所述一号拉杆(1)和所述二号拉杆(2)之间设有第二同步带(14)传动连接,所述第二同步带(14)靠近所述驱动电机(10)的一侧设有固定张紧轮(13)与所述第二同步带(14)接触。
 
6.根据权利要求1或2或3或4所述的一种注塑机的同步带调模结构,其特征在于,所述三号拉杆(3)和所述四号拉杆(4)之间设有第三同步带(15)传动连接,所述第三同步带(15)靠近所述驱动电机(10)的一侧设有固定张紧轮(13)与所述第三同步带(15)接触。
 
7.根据权利要求1所述的一种注塑机的同步带调模结构,其特征在于,四根拉杆外均套设有后螺母(17),所述后螺母(17)与所述后模板(12)铰接,所述后螺母(17)与拉杆配合处设有内螺纹(18)啮合,同步带与所述后螺母(17)传动连接。
 
8.根据权利要求7所述的一种注塑机的同步带调模结构,其特征在于,与所述一号拉杆(1)啮合的后螺母(17)上配合安装有第一同步带(9)和第二同步带(14);
 
与所述三号拉杆(3)啮合的后螺母(17)上配合安装有第一同步带(9)和第三同步带(15)。
 
9.根据权利要求7所述的一种注塑机的同步带调模结构,其特征在于,所述后螺母(17)的下端面与所述后模板(12)配合处垫有摩擦环(19),所述后螺母(17)的上端面与压盖(20)配合安装,所述压盖(20)与所述后螺母(17)的上端面间设有摩擦环(19)。
 
10.根据权利要求1或2或3或4或7或8或9所述的一种注塑机的同步带调模结构,其特征在于,所述后模板(12)的中心位置处设有锁模油缸(5)。
一种注塑机的同步带调模结构
技术领域
 
本实用新型涉及塑料的加工领域,具体涉及一种注塑机的同步带调模结构。
 
背景技术
 
目前的肘杆式液压注塑机锁模部件,多采用油马达驱动齿圈旋转,由于齿圈与后螺母啮合,所以后螺母在齿圈的带动下转动。在后螺母的推动下,锁模部件后模板在拉杆上移动,从而实现调整锁模部件模厚的目的。但是采用这种方法调模存在能耗高,转速慢,控制精度低等问题。
 
如公告号CN207564897U中公开的“锁模机构及具有其的注塑机”,其调模结构为主动轮通过带传动带动中心大齿轮与四周小齿轮啮合从而进行调模,调模结构的重量大且制作成本较高。
 
基于上述油马达驱动齿圈调模方案存在的问题,提出一种电机驱动同步带轮的调模方案。相较于前者,电机驱动同步带轮的调模方案,不仅能够大幅降低电量的消耗,还能通过控制器精准控制后螺母转动圈数,从而实现更为精细的调模。同时,由于使用同步带传动的替代齿轮传动,省去齿轮齿圈的安装,使得整机重量能够降低,有效控制机器的成本,满足现代机器轻量化要求。
 
实用新型内容
 
本实用新型的目的是提供一种使用同步带的注塑机调模结构,降低调模机构的重量以及装配难度。本实用新型的进一步目的是在保证调模精度较高的同时,能够有效降低设备的成本。本实用新型的另一个目的是让拉杆的转动方向与电机输入的转动方向相同,便于控制。
 
本实用新型是通过以下技术手段实现上述技术目的的。
 
一种注塑机的同步带调模结构,包括后模板和驱动电机,所述后模板的四角分别设有一号拉杆和二号拉杆和三号拉杆以及四号拉杆,四根拉杆与驱动电机间设有同步带传动连接。
 
进一步地,所述驱动电机和所述后模板之间设有电机安装座连接,所述驱动电机的输出部与所述一号拉杆和所述三号拉杆之间设有第一同步带传动连接。
 
进一步地,所述电机安装座上对称设有张紧轮滑槽,张紧轮滑槽中设有与拉杆平行设置的可动张紧轮,所述可动张紧轮与所述第一同步带配合。
 
作为优选,在所述电机安装座上,位于所述驱动电机的输出端和所述一号拉杆间,设有第一张紧轮滑槽,所述可动张紧轮在所述第一张紧轮滑槽上的固定位置可调。
 
在所述电机安装座上,位于所述驱动电机的输出端和所述三号拉杆间,设有第二张紧轮滑槽,所述可动张紧轮在所述第二张紧轮滑槽上的固定位置可调。
 
进一步地,所述一号拉杆和所述二号拉杆之间设有第二同步带传动连接,所述第二同步带靠近所述驱动电机的一侧设有固定张紧轮与所述第二同步带接触。
 
作为优选,所述三号拉杆和所述四号拉杆之间设有第三同步带传动连接,所述第三同步带靠近所述驱动电机的一侧设有固定张紧轮与所述第三同步带接触。
 
作为优选,四根拉杆外均套设有后螺母,所述后螺母与所述后模板铰接,所述后螺母与拉杆配合处设有内螺纹啮合,同步带与所述后螺母传动连接。
 
进一步地,与所述一号拉杆啮合的后螺母上配合安装有第一同步带和第二同步带。
 
与所述三号拉杆啮合的后螺母上配合安装有第一同步带和第三同步带。
 
进一步地,所述后螺母的下端面与所述后模板配合处垫有摩擦环,所述后螺母的上端面与压盖配合安装,所述压盖与所述后螺母的上端面间设有摩擦环。
 
进一步地,所述后模板的中心位置处设有锁模油缸。
 
本实用新型具有以下的有益效果:
 
相较于对比技术采用齿轮啮合进行调模,本实用新型中的调模结构通过同步带进行传动,驱动电机与拉杆之间的转动方向保持一致。响应速度较快,重量较小,成本较低,且控制方便。
 
附图说明
 
图1为本实用新型的侧视剖面图。
 
图2为本实用新型的俯视图。
 
图3为本实用新型的侧视图。
 
图4为图1中A处的局部放大图。
 
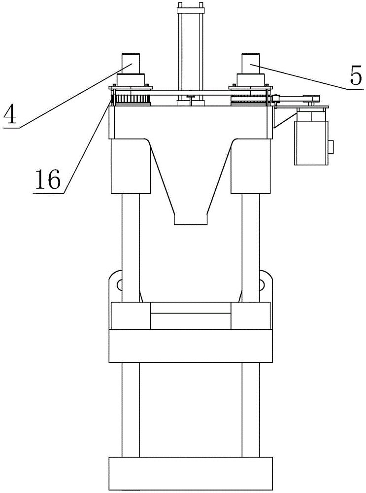
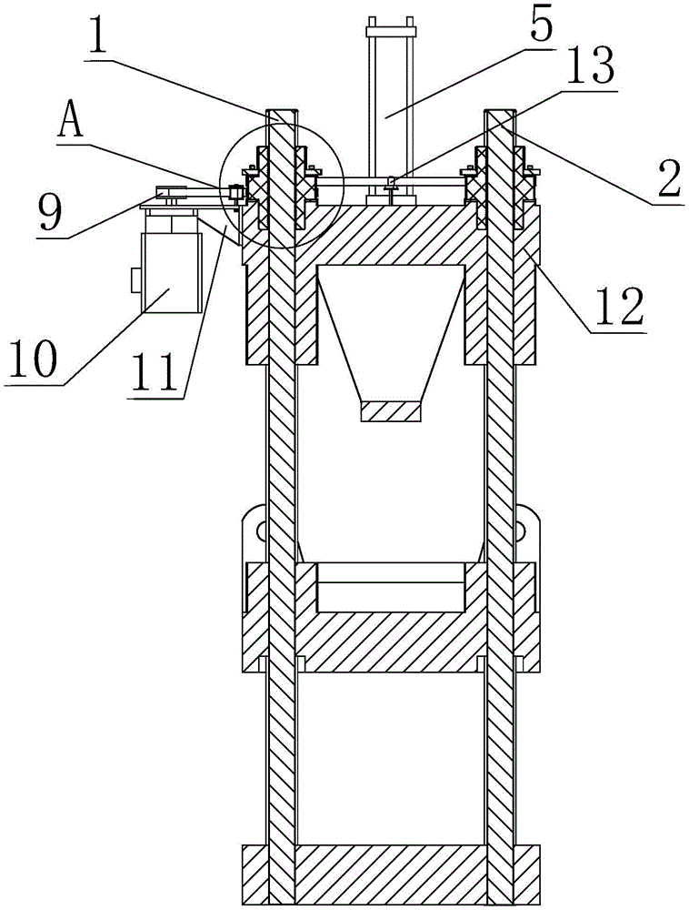
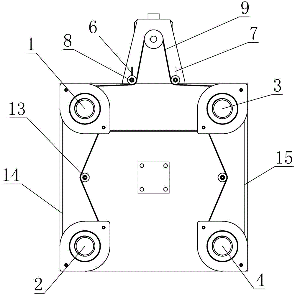
图中,1-一号拉杆,2-二号拉杆,3-三号拉杆,4-四号拉杆,5-锁模油缸,6-第一张紧轮滑槽,7-第二张紧轮滑槽,8-可动张紧轮,9-第一同步带,10-驱动电机,11-电机安装座,12-后模板,13-固定张紧轮,14-第二同步带,15-第三同步带,16-限位杆,17-后螺母,18-内螺纹,19-摩擦环,20-压盖。
 
具体实施方式
 
下面结合附图以及具体实施例对本实用新型作进一步的说明,但本实用新型的保护范围并不限于此。
 
实施例一:
 
如图1至图4所示,一种注塑机的同步带调模结构,包括后模板12和驱动电机10,所述后模板12的四角分别设有一号拉杆1和二号拉杆2和三号拉杆3以及四号拉杆4,四根拉杆与驱动电机10间设有同步带传动连接。
 
该同步带调模结构主要由以下部件组成:后模板12和驱动电机10和电机安装座11和一号拉杆1和二号拉杆2和三号拉杆3和四号拉杆4和第一同步带9和第二同步带14和第三同步带15和可动张紧轮8和固定张紧轮13和后螺母17和内螺纹18和摩擦环19和压盖20以及锁模油缸5。
 
所述后模板12作为注塑机模具安装的重要组成部分,所述后模板12通常采用高强度钢材制成,具有足够的刚性和强度,以承受注塑过程中的锁模力和注射压力。所述后模板12的四角分别设置有所述一号拉杆1和所述二号拉杆2和所述三号拉杆3以及所述四号拉杆4,这些拉杆均匀分布,共同承担所述后模板12的调节和支撑功能。所述后模板12的中心位置设有所述锁模油缸5,用于提供锁模力,保证注塑过程的顺利进行。
 
所述一号拉杆1和所述二号拉杆2和所述三号拉杆3以及所述四号拉杆4四根拉杆采用高强度钢材制造,并经过精密加工,保证其尺寸精度和直线度。拉杆的作用是将同步带的旋转运动转化为沿着转动轴线方向的直线运动,驱动所述后模板12进行前后移动。
 
每根拉杆的外侧均套设有所述后螺母17,所述后螺母17与所述后模板12之间采用铰接连接。这种铰接连接允许所述后螺母17与所述后模板12之间产生相对转动,同时保持着所述后模板12与所述后螺母17的相对位置不发生改变。后螺母17的内侧加工有内螺纹18,与拉杆外侧的螺纹啮合,实现将所述后螺母17的转动转化为所述后模板12整体的直线运动。所述后螺母的外侧也设有与同步带啮合的齿形结构。
 
所述驱动电机10作为整个调模系统的动力源,通常选用伺服电机或步进电机,以实现精确的位置控制和速度调节。伺服电机能够提供更高的控制精度和响应速度,而步进电机则具有成本优势,根据具体的调模精度和速度要求选择合适的电机类型。所述驱动电机10通过电机安装座11固定在所述后模板12的侧部,与所述后模板12固定安装,一同运动。
 
所述电机安装座11的作用是固定驱动电机10,并为所述可动张紧轮8的安装提供平台。所述电机安装座11可以采用铸铁或焊接钢结构,要求具有足够的强度和刚性,能够保证所述驱动电机10运行的稳定性即可,并非主要的受力部件。在所述电机安装座11上对称设置有两个张紧轮滑槽,分别为第一张紧轮滑槽6和第二张紧轮滑槽7,分别用于与所述可动张紧轮8安装。
 
所述第一同步带9作为主传动带,与所述驱动电机10的输出轴和所述一号拉杆1以及所述三号拉杆3连接。所述驱动电机10的输出轴上安装有同步带轮,所述第一同步带9绕过驱动电机输出轴的同步带轮,并分别与一号拉杆1和三号拉杆3上的所述后螺母17的外侧壁啮合,形成动力传递。同步带的优势在于传动精度高、噪音低、维护方便,能够保证后模板12两侧的同步调节。
 
所述第二同步带14连接所述一号拉杆1和所述二号拉杆2,所述第三同步带15连接所述三号拉杆3所述和四号拉杆4。这两条同步带的作用是将所述一号拉杆1和所述三号拉杆3的旋转运动同步传递到所述二号拉杆2和所述四号拉杆4,保证所述后模板12的四角的同步运动,实现整体平行移动。
 
在所述一号拉杆1上套有所述第一同步带9和所述第二同步带14,所述第一同步带9和所述第二同步带14在所述一号拉杆1的所述后螺母17上上下分布,互不干涉,在所述三号拉杆3上套有所述第一同步带9和所述第三同步带1,所述第一同步带9和所述第三同步带15在所述三号拉杆3的所述后螺母17上上下分布,互不干涉。
 
所述可动张紧轮8安装在电机安装座11的张紧轮滑槽中,与第所述一同步带9配合可调节所述第一同步带9的张紧度。所述可动张紧轮8的作用是调节第一同步带9的张紧力,保证同步带传动的可靠性和效率。通过调节所述可动张紧轮8在张紧轮滑槽中的位置,可以改变同步带的张紧程度,防止同步带打滑或过松。
 
所述第一张紧轮滑槽6和所述第二张紧轮滑槽7分别位于所述驱动电机10的输出端与所述一号拉杆1之间,以及所述驱动电机10的输出端与所述三号拉杆3之间,方便对所述第一同步带9进行局部张紧调节。所述可动张紧轮8的固定位置可调,可以通过螺栓锁紧等方式固定在张紧轮滑槽的合适位置。
 
所述固定张紧轮13有两个,分别安装在所述第二同步带14以及所述第三同步带15靠近所述驱动电机10的一侧,与同步带接触。所述固定张紧轮13的作用是增加同步带的包角,保证同步带与同步带轮之间的啮合良好,防止跳齿和打滑。所述固定张紧轮13的位置固定,无需调节,简化了结构。
 
所述后螺母17与拉杆螺纹啮合,并将同步带的旋转运动转化为沿着拉杆的直线运动。与所述一号拉杆1啮合的所述后螺母17上同时安装有所述第一同步带9和所述第二同步带14;与所述三号拉杆3啮合的所述后螺母17上同时安装有所述第一同步带9和所述第三同步带15。这种结构设计紧凑,有效地利用了空间。
 
所述后螺母17通常采用耐磨材料制成,并经过热处理,提高其强度和耐磨性,且所述后螺母17的表面粗糙度较小以减小与所述的后模板12之间的摩擦。
 
所述摩擦环19垫在所述后螺母17的下端面与所述后模板12配合处,以及后螺母17的上端面与压盖20配合处。摩擦环19的作用是减少后螺母17与后模板12以及压盖20之间的摩擦,降低旋转阻力,保证后螺母17旋转的平稳性和顺畅性,同时减少磨损,延长使用寿命。所述摩擦环19通常采用耐磨、自润滑的工程塑料或金属材料制成。
 
所述压盖20与所述后螺母17的上端面配合安装,用于限制后螺母17的轴向窜动,保证后螺母17在旋转过程中位置的稳定,提高调模精度。所述压盖20通常采用金属材料制成,所述并与后模板12之间通过所述限位杆16连接固定。
 
实施例二:
 
本实施例的结构与实施例一的结构大致相同,具体描述了结构的动态运动过程。
 
如图1至图4所示,一种注塑机的同步带调模结构,包括后模板12和驱动电机10,所述后模板12的四角分别设有一号拉杆1和二号拉杆2和三号拉杆3以及四号拉杆4,四根拉杆与驱动电机10间设有同步带传动连接。
 
该同步带调模结构主要由以下部件组成:后模板12和驱动电机10和电机安装座11和一号拉杆1和二号拉杆2和三号拉杆3和四号拉杆4和第一同步带9和第二同步带14和第三同步带15和可动张紧轮8和固定张紧轮13和后螺母17和内螺纹18和摩擦环19和压盖20以及锁模油缸5。
 
所述后模板12作为注塑机模具安装的重要组成部分,所述后模板12通常采用高强度钢材制成,具有足够的刚性和强度,以承受注塑过程中的锁模力和注射压力。所述后模板12的四角分别设置有所述一号拉杆1和所述二号拉杆2和所述三号拉杆3以及所述四号拉杆4,这些拉杆均匀分布,共同承担所述后模板12的调节和支撑功能。所述后模板12的中心位置设有所述锁模油缸5,用于提供锁模力,保证注塑过程的顺利进行。
 
所述一号拉杆1和所述二号拉杆2和所述三号拉杆3以及所述四号拉杆4四根拉杆采用高强度钢材制造,并经过精密加工,保证其尺寸精度和直线度。拉杆的作用是将同步带的旋转运动转化为沿着转动轴线方向的直线运动,驱动所述后模板12进行前后移动。
 
每根拉杆的外侧均套设有所述后螺母17,所述后螺母17与所述后模板12之间采用铰接连接。这种铰接连接允许所述后螺母17与所述后模板12之间产生相对转动,同时保持着所述后模板12与所述后螺母17的相对位置不发生改变。后螺母17的内侧加工有内螺纹18,与拉杆外侧的螺纹啮合,实现将所述后螺母17的转动转化为所述后模板12整体的直线运动。所述后螺母的外侧也设有与同步带啮合的齿形结构。
 
所述驱动电机10作为整个调模系统的动力源,通常选用伺服电机或步进电机,以实现精确的位置控制和速度调节。伺服电机能够提供更高的控制精度和响应速度,而步进电机则具有成本优势,根据具体的调模精度和速度要求选择合适的电机类型。所述驱动电机10通过电机安装座11固定在所述后模板12的侧部,与所述后模板12固定安装,一同运动。
 
所述电机安装座11的作用是固定驱动电机10,并为所述可动张紧轮8的安装提供平台。所述电机安装座11可以采用铸铁或焊接钢结构,要求具有足够的强度和刚性,能够保证所述驱动电机10运行的稳定性即可,并非主要的受力部件。在所述电机安装座11上对称设置有两个张紧轮滑槽,分别为第一张紧轮滑槽6和第二张紧轮滑槽7,分别用于与所述可动张紧轮8安装。
 
所述第一同步带9作为主传动带,与所述驱动电机10的输出轴和所述一号拉杆1以及所述三号拉杆3连接。所述驱动电机10的输出轴上安装有同步带轮,所述第一同步带9绕过驱动电机输出轴的同步带轮,并分别与一号拉杆1和三号拉杆3上的所述后螺母17的外侧壁啮合,形成动力传递。同步带的优势在于传动精度高、噪音低、维护方便,能够保证后模板12两侧的同步调节。
 
所述第二同步带14连接所述一号拉杆1和所述二号拉杆2,所述第三同步带15连接所述三号拉杆3所述和四号拉杆4。这两条同步带的作用是将所述一号拉杆1和所述三号拉杆3的旋转运动同步传递到所述二号拉杆2和所述四号拉杆4,保证所述后模板12的四角的同步运动,实现整体平行移动。
 
在所述一号拉杆1上套有所述第一同步带9和所述第二同步带14,所述第一同步带9和所述第二同步带14在所述一号拉杆1的所述后螺母17上上下分布,互不干涉,在所述三号拉杆3上套有所述第一同步带9和所述第三同步带1,所述第一同步带9和所述第三同步带15在所述三号拉杆3的所述后螺母17上上下分布,互不干涉。
 
所述可动张紧轮8安装在电机安装座11的张紧轮滑槽中,与第所述一同步带9配合可调节所述第一同步带9的张紧度。所述可动张紧轮8的作用是调节第一同步带9的张紧力,保证同步带传动的可靠性和效率。通过调节所述可动张紧轮8在张紧轮滑槽中的位置,可以改变同步带的张紧程度,防止同步带打滑或过松。
 
所述第一张紧轮滑槽6和所述第二张紧轮滑槽7分别位于所述驱动电机10的输出端与所述一号拉杆1之间,以及所述驱动电机10的输出端与所述三号拉杆3之间,方便对所述第一同步带9进行局部张紧调节。所述可动张紧轮8的固定位置可调,可以通过螺栓锁紧等方式固定在张紧轮滑槽的合适位置。
 
所述固定张紧轮13有两个,分别安装在所述第二同步带14以及所述第三同步带15靠近所述驱动电机10的一侧,与同步带接触。所述固定张紧轮13的作用是增加同步带的包角,保证同步带与同步带轮之间的啮合良好,防止跳齿和打滑。所述固定张紧轮13的位置固定,无需调节,简化了结构。
 
所述后螺母17与拉杆螺纹啮合,并将同步带的旋转运动转化为沿着拉杆的直线运动。与所述一号拉杆1啮合的所述后螺母17上同时安装有所述第一同步带9和所述第二同步带14;与所述三号拉杆3啮合的所述后螺母17上同时安装有所述第一同步带9和所述第三同步带15。这种结构设计紧凑,有效地利用了空间。
 
所述后螺母17通常采用耐磨材料制成,并经过热处理,提高其强度和耐磨性,且所述后螺母17的表面粗糙度较小以减小与所述的后模板12之间的摩擦。
 
所述摩擦环19垫在所述后螺母17的下端面与所述后模板12配合处,以及后螺母17的上端面与压盖20配合处。摩擦环19的作用是减少后螺母17与后模板12以及压盖20之间的摩擦,降低旋转阻力,保证后螺母17旋转的平稳性和顺畅性,同时减少磨损,延长使用寿命。所述摩擦环19通常采用耐磨、自润滑的工程塑料或金属材料制成。
 
所述压盖20与所述后螺母17的上端面配合安装,用于限制后螺母17的轴向窜动,保证后螺母17在旋转过程中位置的稳定,提高调模精度。所述压盖20通常采用金属材料制成,所述并与后模板12之间通过所述限位杆16连接固定。
 
当所述驱动电机10启动后,其输出轴带动所述第一同步带9旋转,所述第一同步带9分别带动与所述一号拉杆1和所述三号拉杆3啮合的所述后螺母17旋转。由于所述后螺母17与拉杆螺纹啮合,所述后螺母17的旋转运动转化为所述一号拉杆1和所述三号拉杆3的直线运动,从而驱动所述后模板12沿拉杆方向移动。
 
同时,所述第一同步带9的运动也通过所述第二同步带14和所述第三同步带15分别传递到所述二号拉杆2和所述四号拉杆4上的所述后螺母17,带动所述二号拉杆2和所述四号拉杆4同步运动。由于四根拉杆通过所述后螺母17与所述后模板12铰接,且同步带传动保证了四根拉杆的同步运动,因此后模板12在调模过程中能够保持平行移动,实现精确的模具位置调节。
 
通过调节所述驱动电机10的旋转方向和转动量,可以实现所述后模板12的前后移动,从而调整模具的闭合位置。所述可动张紧轮8可以根据实际使用情况,调节所述第一同步带9的张紧力,保证同步带传动的可靠性和精度。所述固定张紧轮13则保证了所述第二同步带14和所述第三同步带15与同步带轮的良好啮合。并且所述驱动电机10的旋转方向与所述后螺母17的转动方向一致。
 
本实施例的同步带调模结构具有以下优势特点:
 
同步精度高:采用同步带传动,保证后模板12四角的同步运动,实现高精度的模具位置调节,提高注塑产品的质量和精度。
 
结构紧凑:利用同步带连接驱动电机和四根拉杆,结构简洁紧凑,成本较低,占用空间小,易于安装和维护。
 
运行平稳:同步带传动噪音低、振动小,运行平稳可靠,提高设备的使用寿命。
 
调节方便:通过驱动电机控制和可动张紧轮调节,调模操作方便快捷,提高了生产效率。
Copyright © 宁波鄞州盖奇同步带轮有限公司 2007-2022 All Rights Reserved.
电话:4006-574-123/0574-27834692 传真:0574-27834691
地址:浙江省宁波市鄞州区姜山镇蔡郎桥村姜南路39-2 E-Mail:sales@belt-pulley.com  
浙ICP备09102982号 盖奇公司网络部提供技术支持 浙公网安备33021202003319号